LEMON Manuals: Even more car manuals for everyone
Home >> Mazda >> 2006 >> MPV ES >> Repair and Diagnosis (Single Page) >> Restraints >> Air Bag, SRS >> Air Bag System >> SAS Control Module Removal/Installation [Two-Step Deployment Control System]

SAS Control Module Removal/Installation [Two-Step Deployment Control System]

WARNING:
  • Handling the SAS control module improperly can accidentally deploy the air bag modules and pre-tensioner seat belt, which may seriously injure you. Read the service warnings and cautions before handling the air bag module. (See SERVICE WARNINGS  or SERVICE CAUTIONS .)
CAUTION:
  • Handling the SAS control module improperly can accidentally deploy the air bag modules and pre-tensioner seat belt, which may seriously injure you. If configuration is not completed before removing the SAS control module, DTC B1342 will be displayed.
  1. Perform SAS control module configuration when replacing it. (See SAS CONTROL MODULE CONFIGURATION [TWO-STEP DEPLOYMENT CONTROL SYSTEM] .)
  2. Turn the ignition switch to the LOCK position.
  3. Disconnect the negative battery cable and wait for 1 min or more. 
  4. Partially peel off the floor covering.
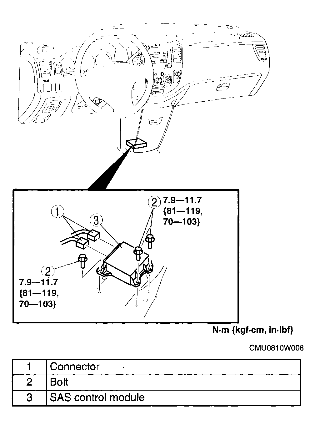
  5. Remove in the order indicated in Fig 1.
    Fig 1: SAS Control Module - Two-Step Deployment Control System With Torque Specifications
    G04329144Courtesy of MAZDA MOTORS CORP.
  6. Install in the reverse order of removal.
  7. Turn the ignition switch to the ON position.
    • If the SAS control module is replaced, turn the ignition switch to the ON position for 20 s or more  after completing the configuration.
  8. Verify that the air bag system warning light illuminates for approx. 6 s  and goes out.