LEMON Manuals: Even more car manuals for everyone
Home >> Mazda >> 2006 >> MPV ES >> Repair and Diagnosis (Single Page) >> Engine Performance >> System >> On-Board Diagnostic [Engine Control System (AJ)] >> DTC P0403 >> Notes

DTC P0403: Notes

DTC P0403 [AJ] DETECTION CONDITION AND POSSIBLE CAUSES

DTC P0403 EGR valve (stepper motor) circuit malfunction
DETECTION CONDITION 
  • The PCM monitors the EGR valve control signal voltage and current. If the following conditions are met, the PCM determines there is an EGR control circuit problem.
    • The PCM turns the EGR valve off, but the voltage of the EGR valve control signal remains low.
    • The PCM turns the EGR valve on, but the current of the EGR valve control signal remains high.

Diagnostic support note 

  • This is a continuous monitor. (CCM)
  • The MIL illuminates if the PCM detects the above malfunction condition in two consecutive drive cycles or in one drive cycle while the DTC for the same malfunction has been stored in the PCM.
  • PENDING CODE is available if the PCM detects the above malfunction condition during the first drive cycle.
  • FREEZE FRAME DATA is available.
  • DTC is stored in the PCM memory.
POSSIBLE CAUSE 
  • EGR valve malfunction
  • Connector or terminal malfunction
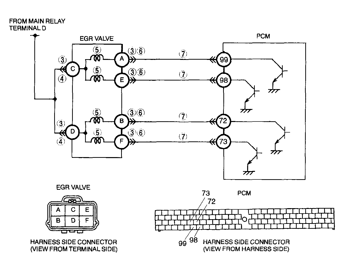
  • Short to power supply in wiring harness between EGR valve terminal E and PCM terminal 98
  • Short to power supply in wiring harness between EGR valve terminal A and PCM terminal 99
  • Short to power supply in wiring harness between EGR valve terminal B and PCM terminal 72
  • Short to power supply in wiring harness between EGR valve terminal F and PCM terminal 73
  • Short to ground circuit in wiring between EGR valve terminal E and PCM terminal 98
  • Short to ground circuit in wiring between EGR valve terminal A and PCM terminal 99
  • Short to ground circuit in wiring between EGR valve terminal B and PCM terminal 72
  • Short to ground circuit in wiring between EGR valve terminal F and PCM terminal 73
  • Open circuit in wiring between EGR valve terminal E and PCM terminal 98
  • Open circuit in wiring between EGR valve terminal A and PCM terminal 99
  • Open circuit in wiring between EGR valve terminal B and PCM terminal 72
  • Open circuit in wiring between EGR valve terminal F and PCM terminal 73
  • Open circuit in wiring between main relay terminal D and EGR valve terminal C
  • Open circuit in wiring between main relay terminal D and EGR valve terminal D
  • PCM malfunction
G04327934Courtesy of MAZDA MOTORS CORP.