LEMON Manuals: Even more car manuals for everyone
Home >> Mazda >> 2006 >> MPV ES >> Repair and Diagnosis (Single Page) >> Engine Performance >> System >> On-Board Diagnostic [Engine Control System (AJ)] >> DTC P0113 >> Notes

DTC P0113: Notes

DTC P0113 [AJ] DETECTION CONDITION AND POSSIBLE CAUSES

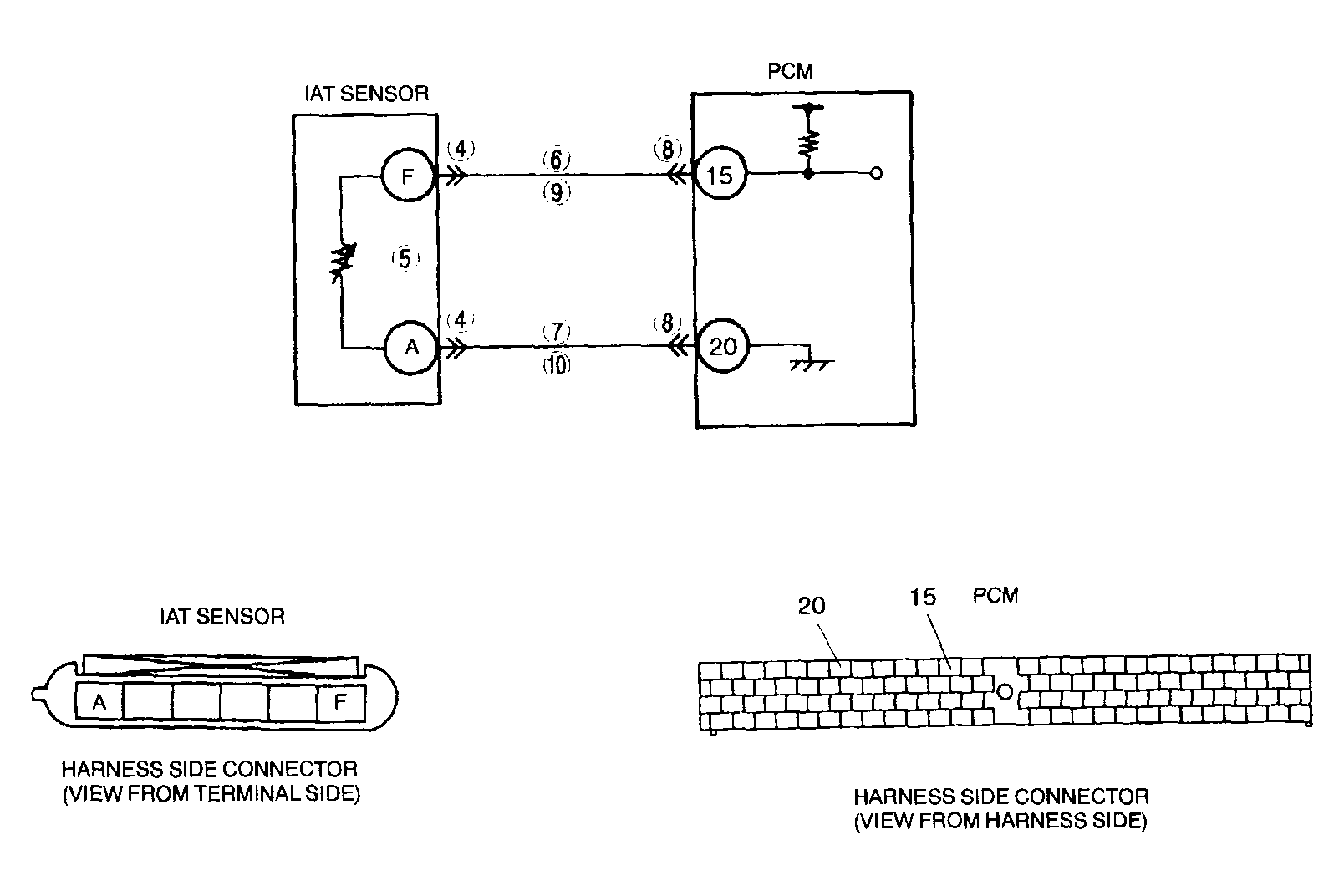
DTC P0113 IAT circuit high input
DETECTION CONDITION 
  • The PCM monitors IAT sensor signal at PCM terminal 15. If the PCM detected IAT sensor voltage above 4.84 V  , the PCM determines that the IAT sensor circuit has a malfunction.

Diagnostic support note 

  • This is a continuous monitor (CCM).
  • The MIL illuminates if the PCM detects the above malfunction condition in the first drive cycle.
  • PENDING CODE is available if the PCM detects the above malfunction condition.
  • FREEZE FRAME DATA is available.
  • DTC is stored in the PCM memory.
POSSIBLE CAUSE 
  • IAT sensor malfunction
  • Open circuit between MAF/IAT sensor terminal F and PCM terminal 15
  • Short to power circuit between MAF/IAT sensor terminal F and PCM terminal 15
  • Open circuit between MAF/IAT sensor terminal A and PCM terminal 20
  • Poor connection at MAF/IAT sensor or PCM connector.
  • PCM malfunction
G04327909Courtesy of MAZDA MOTORS CORP.