LEMON Manuals: Even more car manuals for everyone
Home >> Mazda >> 2005 >> 3 i, Standard >> Repair and Diagnosis >> Engine Performance >> Engine Control Systems >> Pcm Removal/Installation

Pcm Removal/Installation

  1. When replacing the PCM, perform the following:
  2. Remove the battery cover, battery duct, battery and battery tray with PCM. (See BATTERY REMOVAL/INSTALLATION .)
  3. Disconnect the PCM connector.
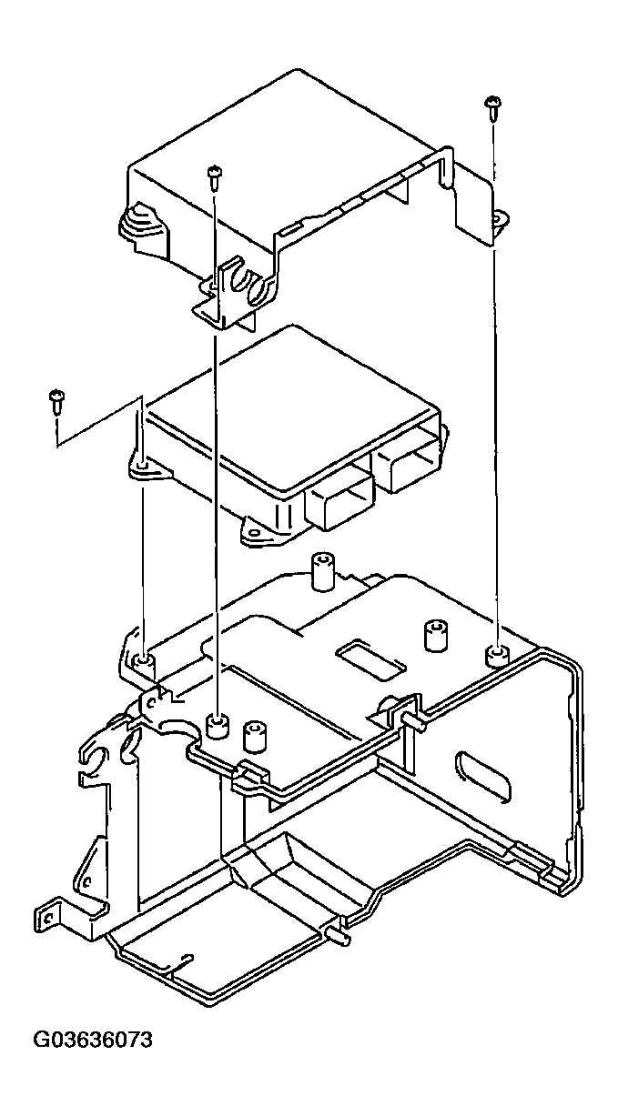
  4. Remove the PCM from the battery tray.
    Fig 1: Removing PCM From Battery Tray
    G03636073Courtesy of MAZDA MOTORS CORP.
  5. When replacing the PCM on the vehicles, perform the following:
  6. Install in the reverse order of removal.