LEMON Manuals
: Even more car manuals for everyone
Home
>>
Mazda
>>
2004
>>
MX-5 Miata Base, Standard
>>
Repair and Diagnosis
>>
Engine Performance
>>
System
>>
Engine Control System
>>
Pcm Inspection
>>
Inspection Using An Oscilloscope (Reference)
>>
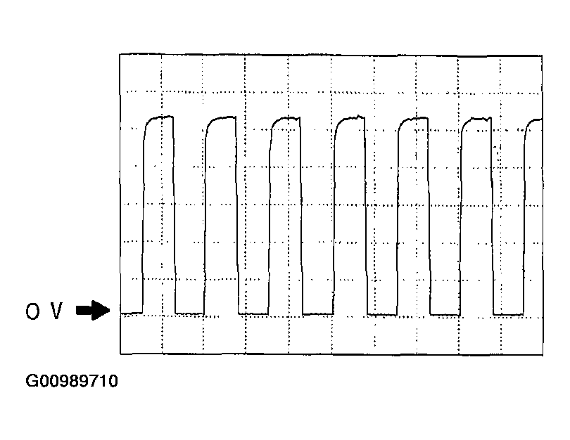
Vehicle Speed Signal
Vehicle Speed Signal
PCM terminal: 3T(+) <-> 4A(-)
Oscilloscope setting: 1.0 V/DIV (Y), 10 ms/DIV (X), DC range
Vehicle condition: Driving 50 km/h [31 mph]
Fig 1: Identifying Vehicle Speed Signal
Courtesy of MAZDA MOTORS CORP.