LEMON Manuals
: Even more car manuals for everyone
Home
>>
Mazda
>>
2004
>>
MX-5 Miata Base, Standard
>>
Repair and Diagnosis
>>
Engine Performance
>>
System
>>
Engine Control System
>>
Pcm Inspection
>>
Inspection Using An Oscilloscope (Reference)
>>
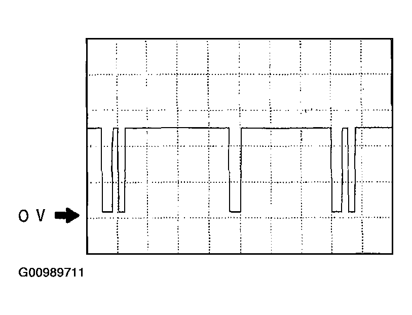
SGC Signal
SGC Signal
PCM terminal: 3V(+) <-> 4A(-)
Oscilloscope setting: 2.0 V/DIV (Y), 20 ms/DIV (X), DC range
Vehicle condition: Idling
Fig 1: Identifying SGC Signal
Courtesy of MAZDA MOTORS CORP.