LEMON Manuals
: Even more car manuals for everyone
Home
>>
Mazda
>>
2004
>>
MX-5 Miata Base, Standard
>>
Repair and Diagnosis
>>
Engine Performance
>>
System
>>
Engine Control System
>>
Pcm Inspection
>>
Inspection Using An Oscilloscope (Reference)
>>
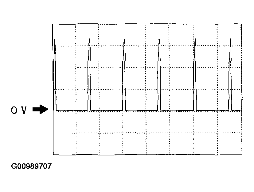
IGT Control Signal
IGT Control Signal
PCM terminal:
3F (+) <-> 4A (-)
3l (+) <-> 4A (-)
Oscilloscope setting: 1.0 V/DIV (Y), 50 ms/DIV (X), DC range
Vehicle condition: Idling after warm-up
Fig 1: Identifying Fuel IGT Control Signal
Courtesy of MAZDA MOTORS CORP.