LEMON Manuals: Even more car manuals for everyone
Home >> Mazda >> 2004 >> MX-5 Miata Base, Automatic >> Repair and Diagnosis >> Engine Performance >> System >> Engine Control System >> Camshaft Position (CMP) Sensor Inspection >> Wave Profile Inspection

Wave Profile Inspection

  1. Remove the PCM. See PCM REMOVAL/INSTALLATION .
  2. Connect WDS or equivalent to DLC-2 connector.
  3. Connect oscilloscope test leads to the following PCM connector terminals.
    • (+) lead: PCM terminal 3V
    • (-) lead: PCM terminal 4A
    Fig 1: Identifying PCM Harness Side Connectors (24 Pin & 31 Pin)
    G00989738Courtesy of MAZDA MOTORS CORP.
  4. Start the engine.
  5. Monitor RPM PID.
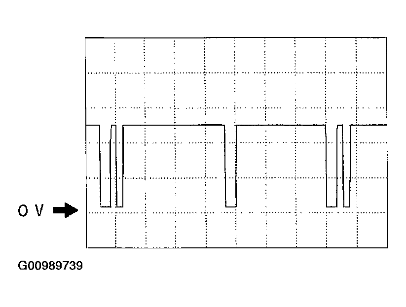
  6. Inspect wave profile when idling engine.
    • If wave profile or voltage are out of specifications, carry out the "Circuit Open/Short Inspection". See CIRCUIT OPEN/SHORT INSPECTION .
      • PCM terminal: 3V(+) <-> 4A(-)
      • Oscilloscope setting: 2.0V/DIV(Y), 20ms/ DIV(X), DC range
      • Vehicle condition: Idling
      Fig 2: Identifying Wave Profile Of PCM
      G00989739Courtesy of MAZDA MOTORS CORP.