LEMON Manuals: Even more car manuals for everyone
Home >> Mazda >> 2004 >> MPV ES >> Repair and Diagnosis >> Engine Performance >> Fuel Delivery >> Fuel System >> Fuel Pump Unit Disassembly/Assembly

Fuel Pump Unit Disassembly/Assembly

WARNING:
  • Fuel line spills and leakage are dangerous. Fuel can ignite and cause serious injuries or death and damage. Fuel can also irritate skin and eyes. To prevent this, do not damage the sealing surface of the fuel pump unit when removing or installing.
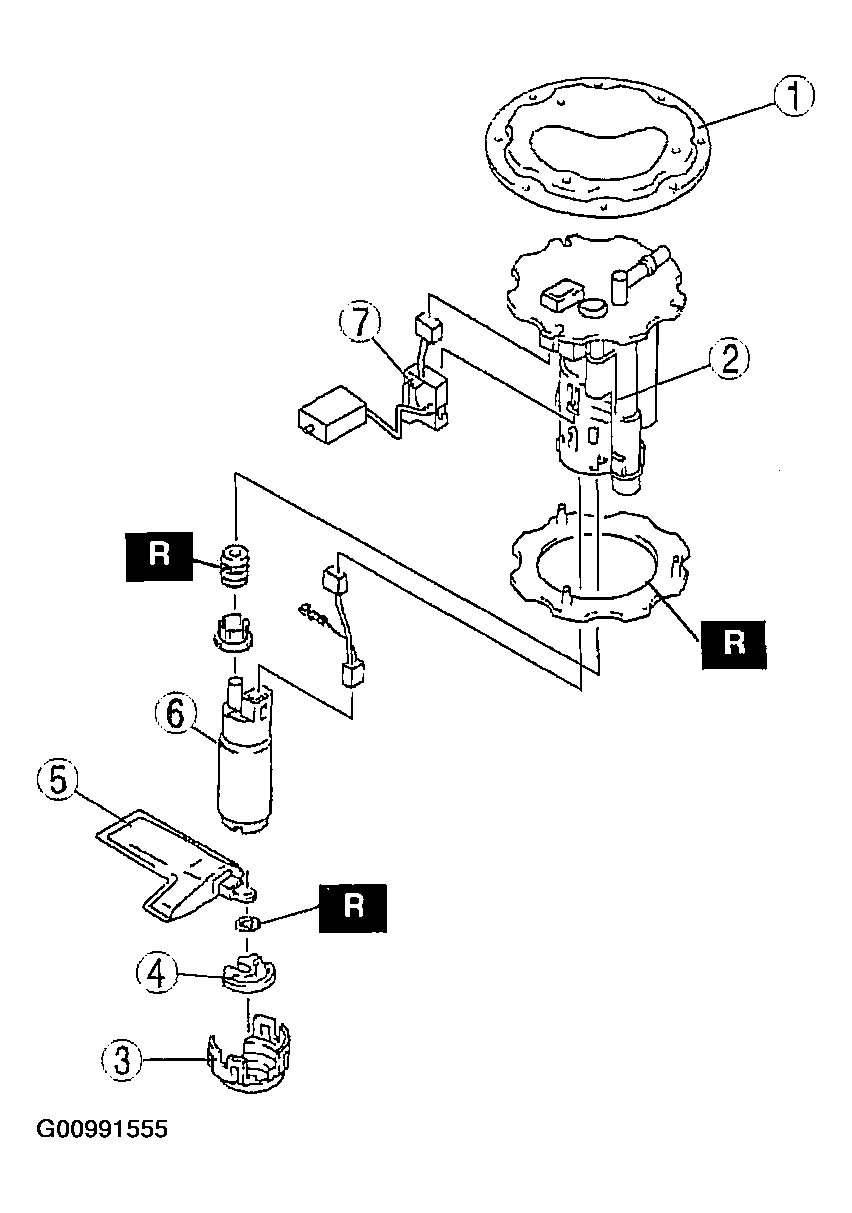
  1. Disassemble in the order indicated in the table.
    Fig 1: Disassembling/Assembling Sequence Order Of Fuel Pump Unit
    G00991554Courtesy of MAZDA MOTORS CORP.
    Fig 2: Disassembling/Assembling of Fuel Pump Unit
    G00991555Courtesy of MAZDA MOTORS CORP.
  2. Assembly in the reverse order of disassembly.