LEMON Manuals: Even more car manuals for everyone
Home >> Mazda >> 2004 >> MPV ES >> Repair and Diagnosis >> Body & Frame >> Ignition Switch/Steering Lock >> Power Systems >> Key Reminder Switch Inspection

Key Reminder Switch Inspection

  1. Disconnect the key reminder switch connector.
  2. Inspect for continuity between the key reminder switch terminals using an ohmmeter.
    • If not as specified, replace the key reminder switch.
      Fig 1: Key Reminder Switch Continuity Specifications
      G00991285Courtesy of MAZDA MOTORS CORP.
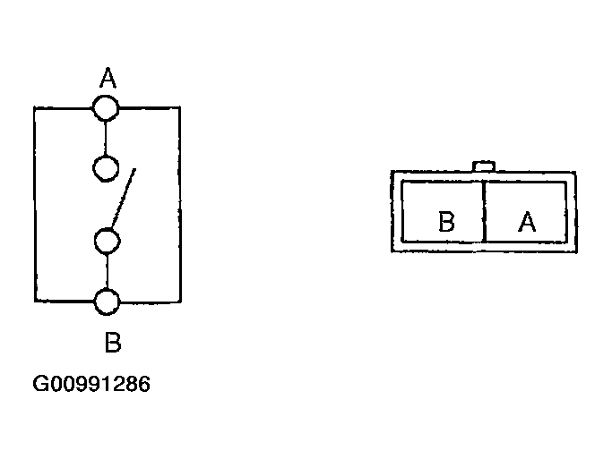
      Fig 2: Identifying Key Reminder Switch Terminals
      G00991286Courtesy of MAZDA MOTORS CORP.