LEMON Manuals: Even more car manuals for everyone
Home >> Mazda >> 2004 >> MPV ES >> Repair and Diagnosis (Single Page) >> Accessories & Equipment >> Infotainment >> Entertainment System >> Lower Module Removal/Installation >> Notes

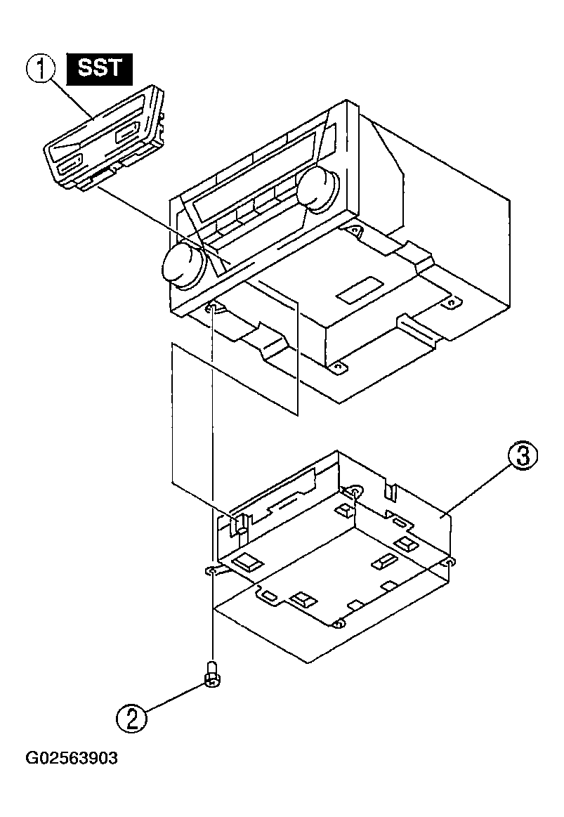
Lower Module Removal/Installation: Notes

  1. Disconnect the negative battery cable.
  2. Remove the audio unit. (See AUDIO UNIT REMOVAL/INSTALLATION .)
  3. Remove in the order indicated in the table/figure.
    REMOVING/INSTALLING LOWER MODULE

    Component/Step No. Component Description
    1 Cover (See COVER REMOVAL NOTE )
    2 Screw (See SCREW INSTALLATION NOTE )
    3 Lower module
    Fig 1: Removing/Installing Lower Module
    G02563903Courtesy of MAZDA MOTORS CORP.
  4. Install in the reverse order of removal.