LEMON Manuals: Even more car manuals for everyone
Home >> Mazda >> 2004 >> 3 i, Standard >> Repair and Diagnosis >> Engine Performance >> System >> On-Board Diagnostic [Engine Control System] >> DTC P0031: Front Ho2S Heater Circuit Low Input >> Except for California Emission Regulation Applicable Module

Except for California Emission Regulation Applicable Module

Fig 1: DTC P0031: Detection Condition & Possible Causes Chart (1 Of 2)
G00974399Courtesy of MAZDA MOTORS CORP.
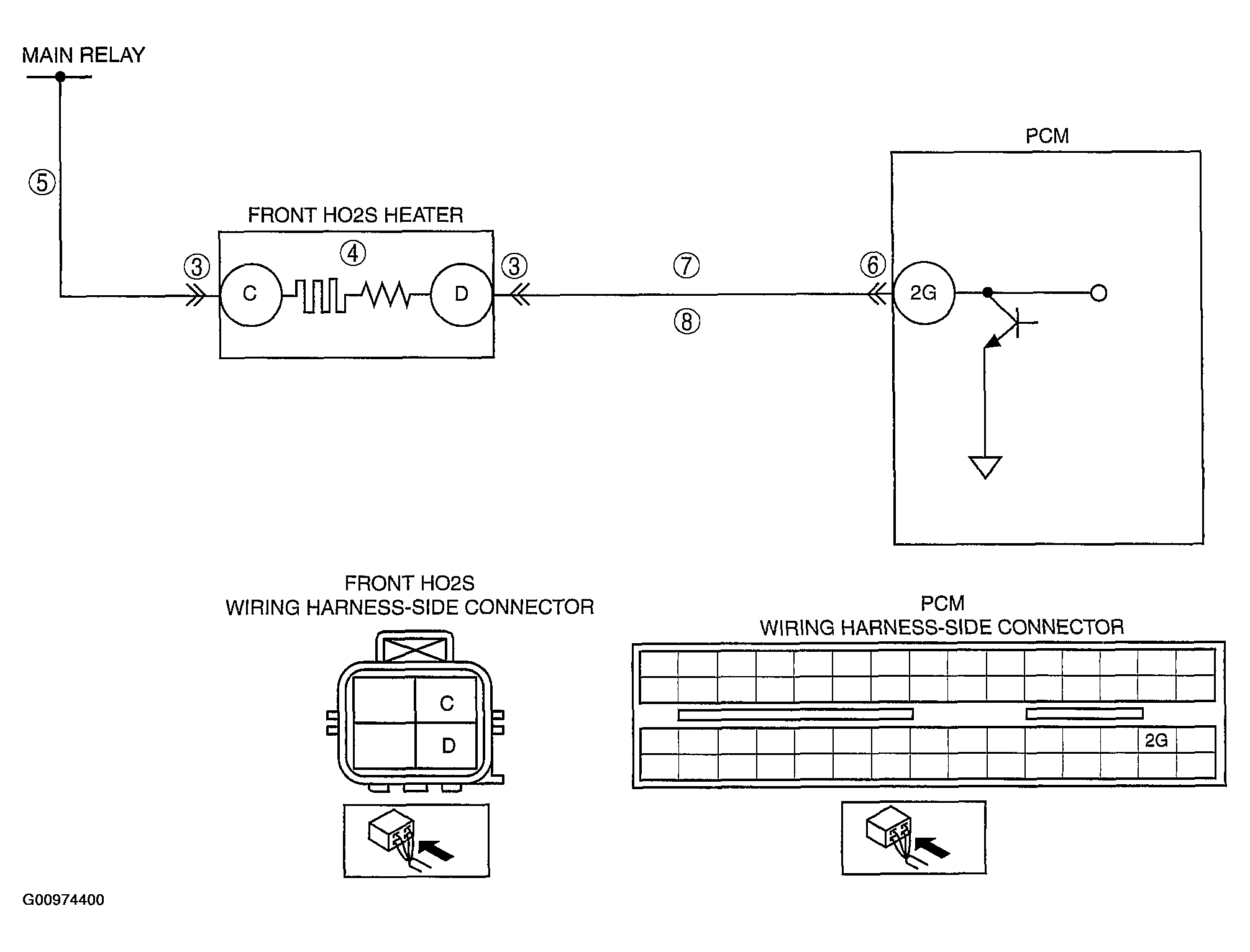
Fig 2: DTC P0031: Detection Condition & Possible Causes Chart (2 Of 2)
G00974400Courtesy of MAZDA MOTORS CORP.