LEMON Manuals: Even more car manuals for everyone
Home >> Mazda >> 2004 >> 3 i, Standard >> Repair and Diagnosis >> Engine Performance >> System >> Engine Control System >> Pcm Removal/Installation

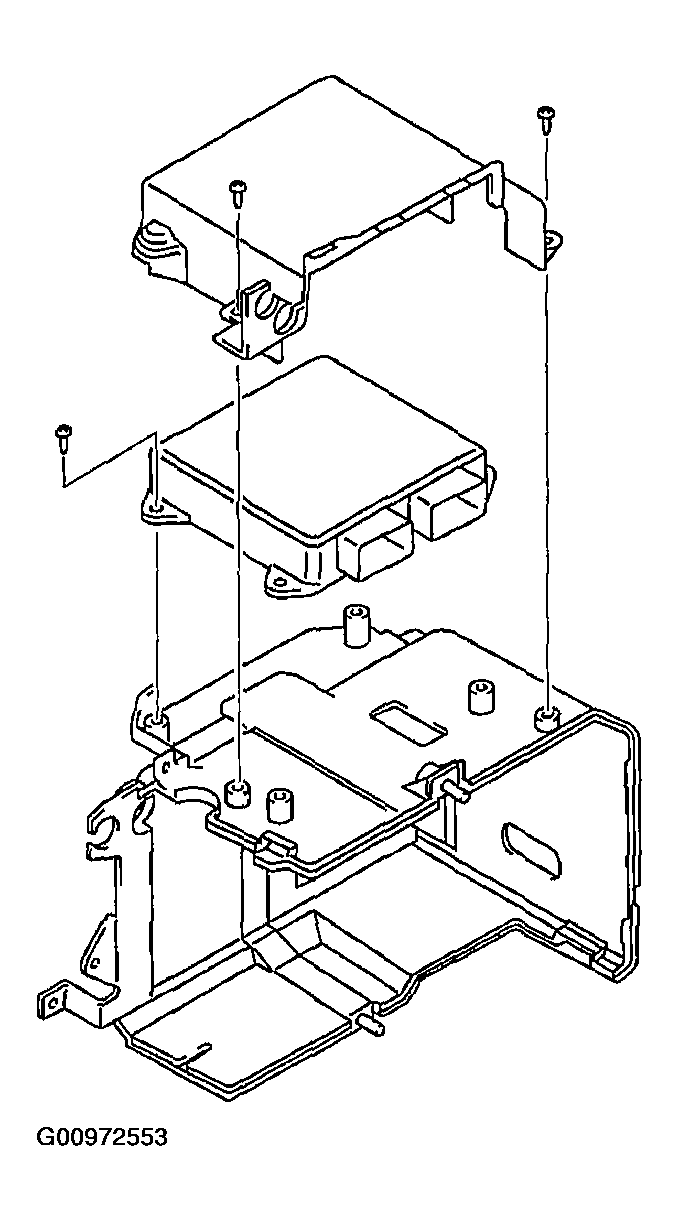
Pcm Removal/Installation

  1. When replacing the PCM, perform the following:
  2. Remove the battery cover, battery duct, battery and battery tray with PCM.
  3. Disconnect the PCM connector.
  4. Remove the PCM from the battery tray.
  5. When replacing the PCM on the vehicles, perform the following:
  6. Install in the reverse order of removal.
    Fig 1: Removing/Installing PCM
    G00972553Courtesy of MAZDA MOTORS CORP.