LEMON Manuals: Even more car manuals for everyone
Home >> Mazda >> 2003 >> 6 s, Automatic >> Repair and Diagnosis >> Engine Performance >> System >> Engine Controls [System & Component Testing] >> Air Induction Systems >> Variable Intake-Air System - MAZDA6 (2.3L) >> Variable Intake-Air System Control Solenoid Valve Inspection

Variable Intake-Air System Control Solenoid Valve Inspection

  1. Airflow Inspection

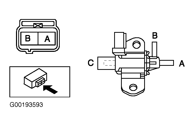
    Disconnect negative battery cable. Remove Variable Intake-Air System (VIS) control solenoid valve. Apply air pressure to port "B". See Fig 1. Air should flow from port "C". Using fused jumper wires, apply battery voltage to VIS control solenoid valve terminals. Apply air pressure to port "B". Air should flow from port "A". If airflow is as specified, check for open or short circuit. Go to next step. If airflow is not as specified, replace VIS control solenoid valve.
  2. Open Circuit Inspection

    Using DVOM, check continuity between following terminals:
    • VIS control solenoid valve harness connector terminal "B" and PCM 30-pin harness connector terminal No. 4R (Green/Red wire).
    • VIS control solenoid valve terminal "A" and main relay 4-pin harness connector terminal "C" (White wire).

    If continuity is present, go to next step. If continuity is not present, repair open circuit in suspect wire or replace wire harness. See appropriate WIRING DIAGRAM under ENGINE PERFORMANCE in SYSTEM WIRING DIAGRAMS.

  3. Short Circuit Inspection

    Check for continuity between following:
    • VIS control solenoid valve harness connector terminal "B" (Green/Red wire) and body GND.
    • VIS control solenoid valve harness connector terminal "A" (White wire) and power supply.

    If continuity is present, repair short circuit in suspect wire or replace wire harness.

Fig 1: Identifying VIS/VTCS Control Solenoid Valve Ports - Mazda6 (2.3L)
G00193593Courtesy of MAZDA MOTORS CORP.