LEMON Manuals: Even more car manuals for everyone
Home >> Mazda >> 2000 >> Protege ES, Standard >> Repair and Diagnosis >> External Pages >> Different car >> Section 249 (Lighting System) >> Front Fog Light Switch Inspection

Front Fog Light Switch Inspection

WARNING: This page is about a different car, the 2004 Mazda RX-8. However, it is still accessible from the selected car via links, so may be relevant.
  1. Remove the column cover. (See COLUMN COVER REMOVAL/INSTALLATION .)
  2. Remove the ignition key illumination. (See IGNITION KEY ILLUMINATION BULB REMOVAL/INSTALLATION .)
  3. Remove the light switch. (See LIGHT SWITCH REMOVAL/INSTALLATION .)
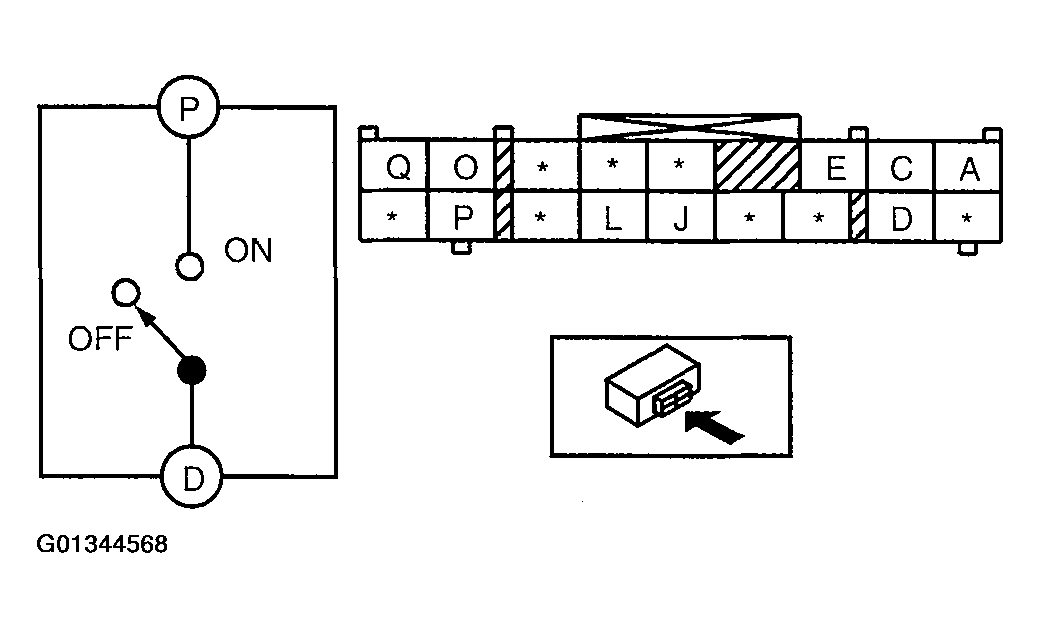
  4. Verify that the continuity between the light switch terminals is as indicated. See Fig 1.
    • If not as indicated. replace the light switch.
    Fig 1: Front Fog Light Switch Terminal Continuity
    G01344567Courtesy of MAZDA MOTORS CORP.
    Fig 2: Inspecting Front Fog Light Switch
    G01344568Courtesy of MAZDA MOTORS CORP.