LEMON Manuals: Even more car manuals for everyone
Home >> Mazda >> 1994 >> RX-7 Standard >> Repair and Diagnosis >> Engine Performance >> System >> Engine Controls - Tests W/Codes >> Code Charts >> Code 76: (Slip Lock-Up Off Signal)

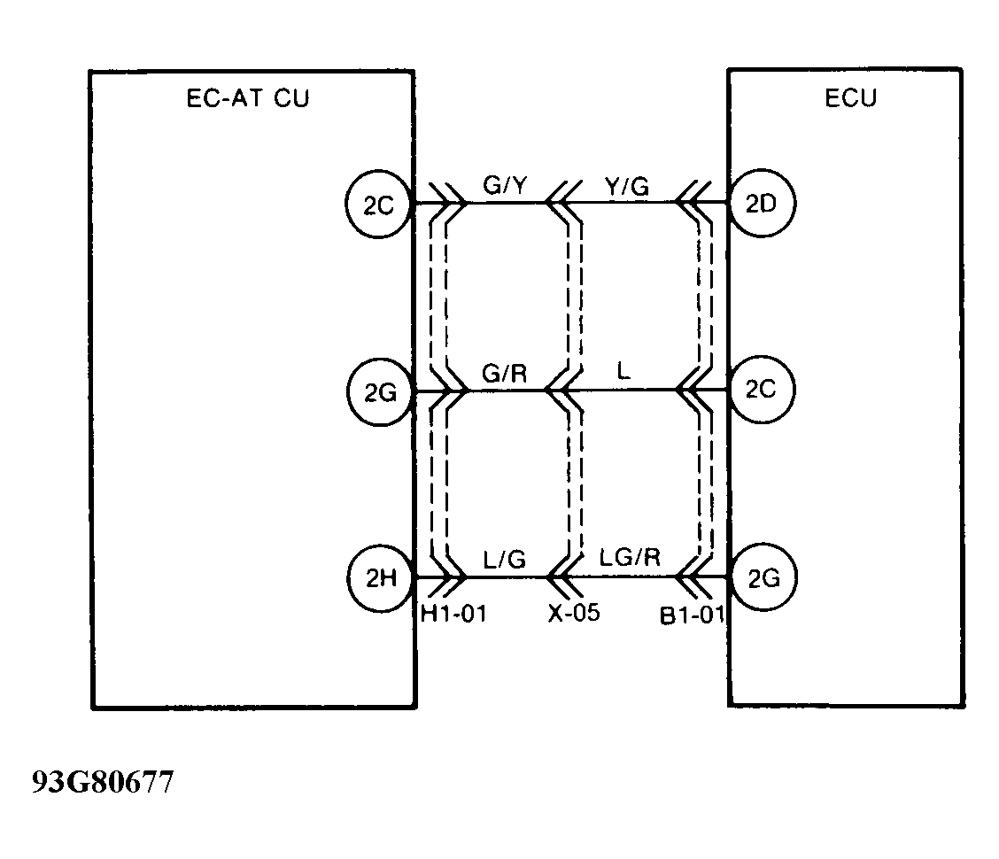
Code 76: (Slip Lock-Up Off Signal)

Fig 1: Trouble Code No. 76 Diagnostic Chart (Slip Lock-Up Off Signal)
G93F80676
Fig 2: Trouble Code No. 76 Schematic (Slip Lock-Up Off Signal)
G93G80677