LEMON Manuals: Even more car manuals for everyone
Home >> Mazda >> 1994 >> RX-7 Standard >> Repair and Diagnosis >> Engine Performance >> System >> Engine Controls - Tests W/Codes >> Code Charts >> Code 20: (Metering Oil Pump Position Sensor)

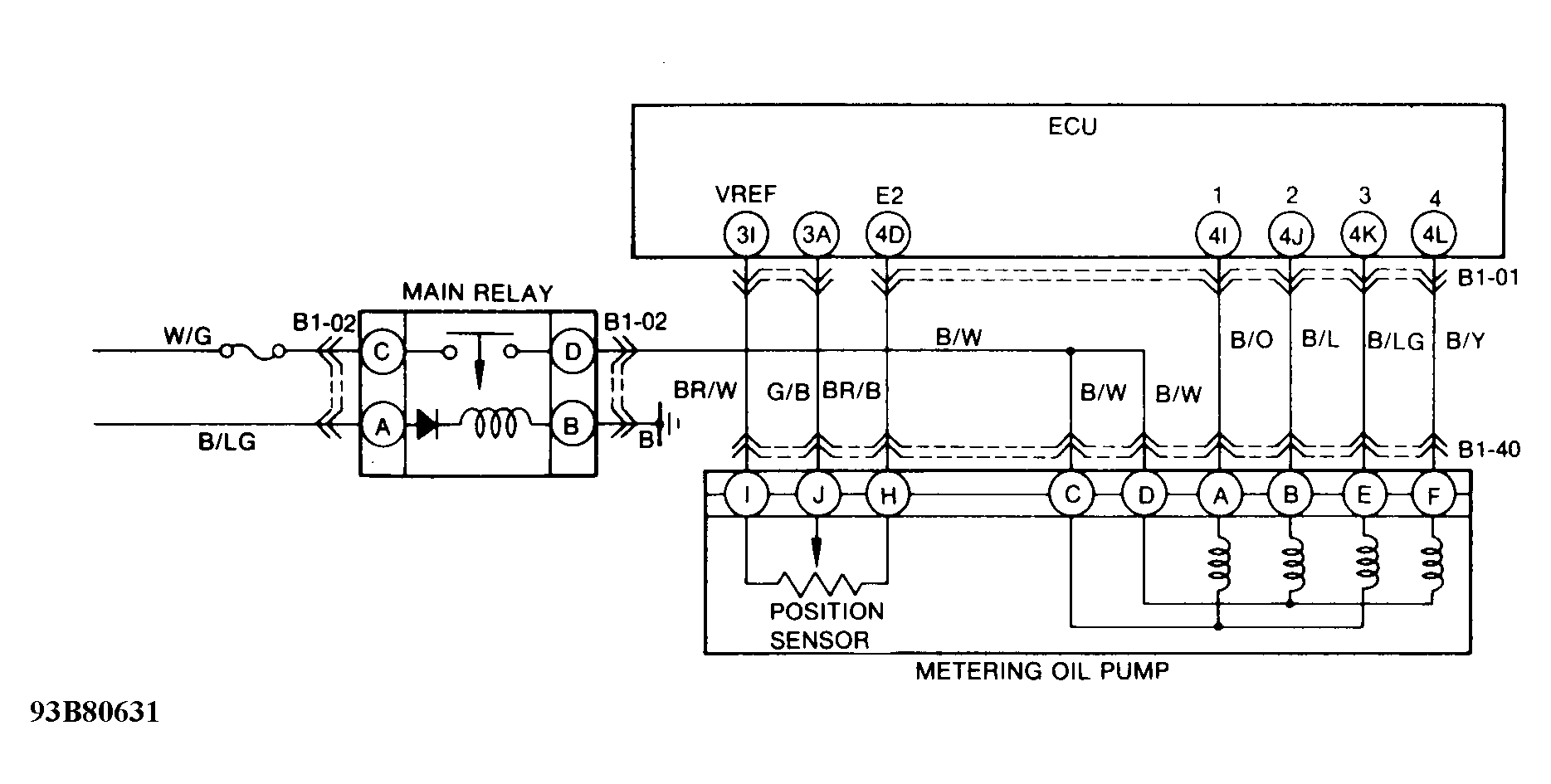
Code 20: (Metering Oil Pump Position Sensor)

Fig 1: Trouble Code No. 20 Diagnostic Chart (Metering Oil Pump Position Sensor)
G93A80630
Fig 2: Trouble Code No. 20 Schematic (Metering Oil Pump Position Sensor)
G93B80631