LEMON Manuals: Even more car manuals for everyone
Home >> Mazda >> 1994 >> RX-7 Standard >> Repair and Diagnosis >> Engine Performance >> System >> Engine Controls - Tests W/Codes >> Code Charts >> Code 2: (Crank Angle Sensor - Ne Sensor)

Code 2: (Crank Angle Sensor - Ne Sensor)

Fig 1: Trouble Code No. 2 Diagnostic Chart (RX7) (Crank Angle Sensor - NE Sensor)
G93B80607
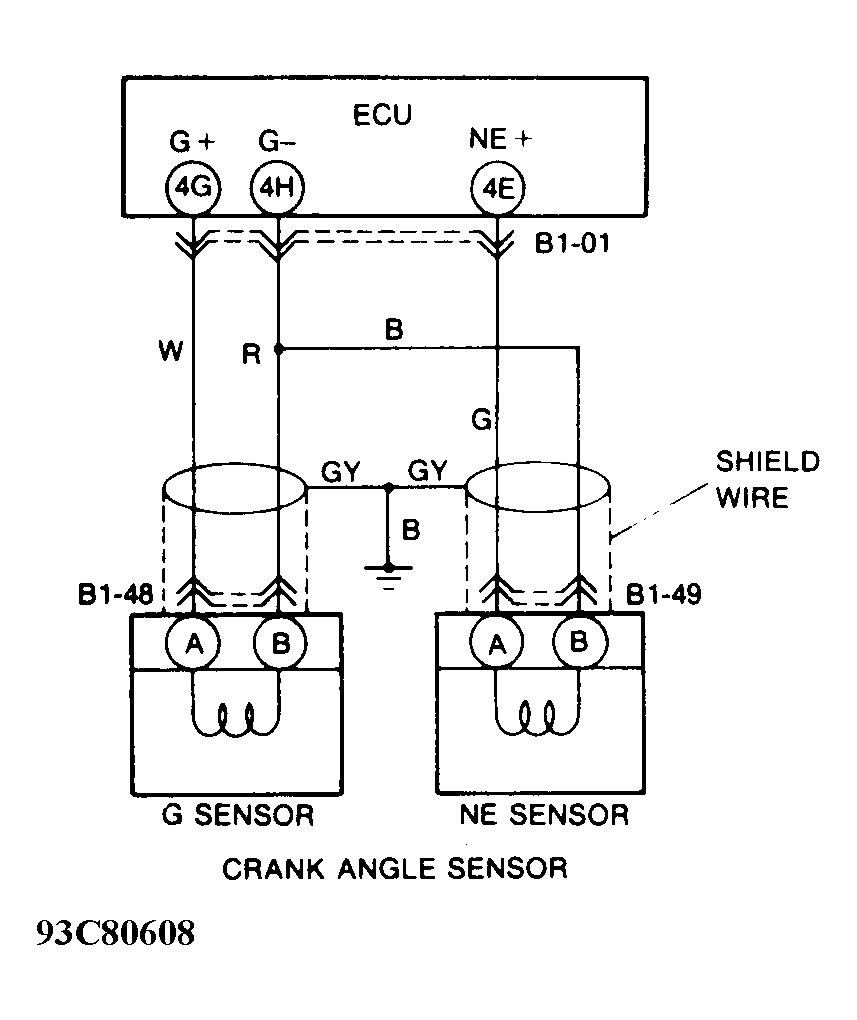
Fig 2: Trouble Code No. 2 Schematic (RX7) (Crank Angle Sensor - NE Sensor)
G93C80608