LEMON Manuals: Even more car manuals for everyone
Home >> Mazda >> 1994 >> MX-3 Base, Automatic >> Repair and Diagnosis >> Engine Performance >> System >> Engine Controls - System/Component Tests >> Relays & Solenoids >> Relays >> Main Relay

Main Relay

  1. Ensure main relay clicks when ignition is turned on and off.
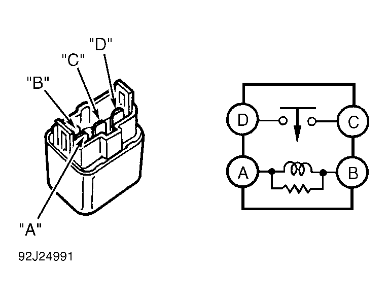
  2. If no sound is heard, unplug relay. Apply 12 volts to terminal "A", and ground terminal "B". See Fig 1 or Fig 2 .
  3. Using ohmmeter, check continuity between terminals "C" and "D". Continuity should be present with 12 volts applied. Continuity should not exist with no voltage applied. Replace main relay as necessary.
Fig 1: Testing Main Relay (MX-3 DOHC, Protege & 323)
G117781Courtesy of MAZDA MOTORS CORP.
Fig 2: Identifying Main Relay Terminals (MX-3 SOHC)
G92J24991Courtesy of MAZDA MOTORS CORP.