LEMON Manuals: Even more car manuals for everyone
Home >> Mazda >> 1993 >> RX-7 Standard >> Repair and Diagnosis >> Engine Performance >> System >> Engine Controls - Tests W/Codes >> Trouble Code Identification >> Code 11: (Intake Air THERMOSENSOR)

Code 11: (Intake Air THERMOSENSOR)

Fig 1: Trouble Code No. 11 - Diagnostic Flowchart
G93C80616Courtesy of MAZDA MOTORS CORP.
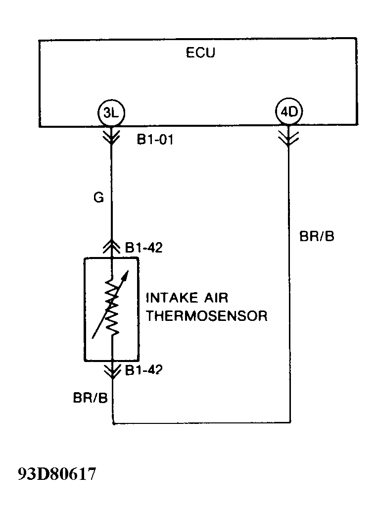
Fig 2: Trouble Code No. 11 - Schematic
G93D80617Courtesy of MAZDA MOTORS CORP.