LEMON Manuals: Even more car manuals for everyone
Home >> Mazda >> 1990 >> 929 Base >> Repair and Diagnosis (Single Page) >> Accessories & Equipment >> Wiper/Washer Systems >> Component Testing >> Testing Rear Wiper Switch >> Notes

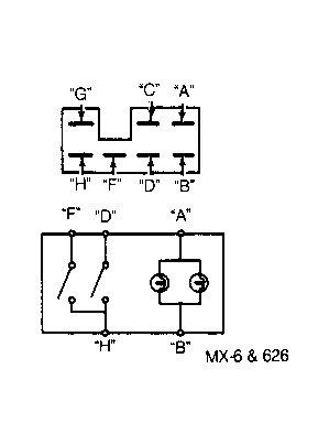
Testing Rear Wiper Switch: Notes

NOTE: Refer to Figure -Figure when conducting the following tests.