LEMON Manuals: Even more car manuals for everyone
Home >> Mazda >> 1989 >> RX-7 Base, Standard >> Repair and Diagnosis >> Engine Performance >> System >> System/Component Tests >> Emission Systems & Sub-Systems >> Notes

Emission Systems & Sub-Systems: Notes

NOTE: For complete vacuum schematics, see VACUUM DIAGRAMS article.
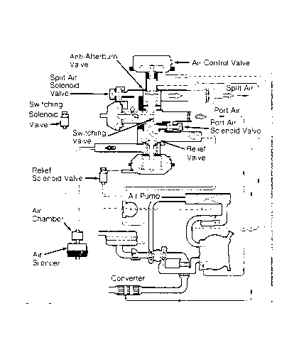
Fig 1: Air Injection System (Non-Turbo)
G93891Courtesy of MAZDA MOTORS CORP.
Fig 2: Air Injection System (Turbo)
G93892Courtesy of MAZDA MOTORS CORP.