LEMON Manuals: Even more car manuals for everyone
Home >> Mazda >> 1986 >> 626 Base >> Repair and Diagnosis >> Engine Performance >> System >> EGR System >> Operation

EGR System: Operation

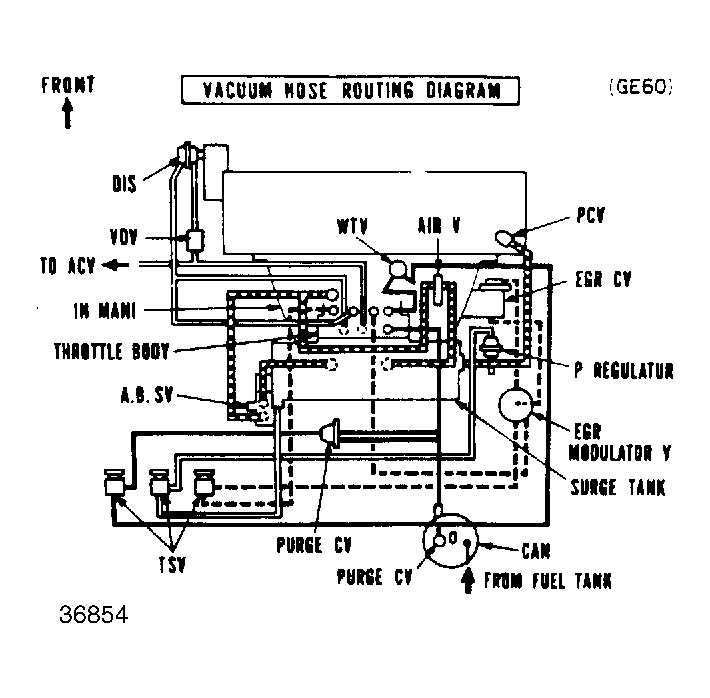
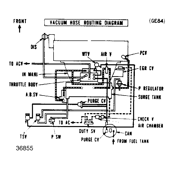
Under various engine speed and operating conditions, regulated vacuum to the EGR control valve by various components of each model allows measured amounts of exhaust gas into the intake manifold. This reduces the air/fuel combustion temperature and reduces the oxides of nitrogen (NOx) mixture in the exhaust gas.

Fig 1: EGR System (Non-Turbo)
G36854
Fig 2: EGR System (Turbo)
G36855