LEMON Manuals: Even more car manuals for everyone
Home >> Lincoln >> 2018 >> Navigator Select, 4WD >> Repair and Diagnosis >> Restraints >> Restraints Control Systems >> RCM Guided Routine Testing -- (2 Of 4) >> Pinpoint Tests >> Pinpoint Test AT: Passenger Airbag Disable (PAD) Switch (three wire input) >> Possible Causes

Possible Causes

WARNING: Incorrect repair techniques or actions can cause an accidental SRS deployment. Never compromise or depart from these instructions. Failure to precisely follow all instructions could result in serious personal injury from an accidental deployment.
CAUTION: Use the correct probe adapter(s) when making measurements. Failure to use the correct probe adapter(s) may cause damage to the connector.
NOTE: Most faults are due to connector and/or wiring concerns. Carry out a thorough inspection and verification before proceeding with the pinpoint test.
NOTE: Only disconnect or reconnect SRS components when instructed to do so within a pinpoint test step. Failure to follow this instruction may result in incorrect diagnosis of the SRS.
NOTE: Always make sure the correct SRS component is being installed. Parts released for other vehicles may not be compatible even if they appear physically similar. Check the part number listed in the Ford parts catalog to make sure the correct component is being installed. If an incorrect SRS component is installed, DTCs may set.
NOTE: The SRS must be fully operational and free of faults before releasing the vehicle to the customer.
NOTE: Do not probe any impact sensor. The impact sensor cannot be tested using a multi-meter.
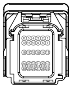
Fig 1: Restraint Control Module-A (RCM-A) Connector End View (C310A)
G12765502Courtesy of FORD MOTOR CO.
Harness Side

Circuit Pin
  1. AT1: CHECK FOR DTC U3003:16 AND U3003:17 
    WARNING: Before beginning any service procedure in this article, refer to Safety Warnings in General Information article. Failure to follow this instruction may result in serious personal injury.
    NOTE: Diagnose all network-related (lost communication) DTCs first.
    • Ignition ON, engine OFF.
    • Carry out the RCM self-test.
    • Is DTC U3003:16 or U3003:17 retrieved DTC during the self-test? 
      Yes No
      REFER to the DTC Chart. Go to  AT2.
  2. AT2: RETRIEVE RCM DTCS 
    • Ignition ON, engine OFF.
    • Carry out the RCM self-test.
    • Is DTCs B00DF:11, B00DF:12 or B00DF:13 retrieved on-demand during self-test? 
      Yes No
      This fault cannot be cleared until it is corrected and the DTC is no longer retrieved on-demand during self-test.
      For DTC B00DF:11, Go to  AT3.
      For DTC B00DF:13, Go to  AT6.
      For DTC B00DF:12, Go to  AT7.
      For all others,
      No fault found.
      This is an intermittent fault.
      Go to  AT11.
  3. AT3: CHECK THE PAD SWITCH DTC FOR A FAULT STATUS CHANGE (SHORT TO GROUND INDICATED) 
    NOTE: This pinpoint test step attempts to change the fault reported by the RCM by inducing a different fault condition. If the fault reported changes, this indicates the RCM is functioning correctly and is not the source of the fault.
    • Ignition OFF.
    • PAD Switch Assembly connector disconnected.
    • Ignition ON, engine OFF.
    • Carry out the RCM self-test.
      NOTE: DIAGNOSTIC TIP: When viewing DTCs with the PAD switch disconnected, an open circuit fault is normally retrieved.
    • Does the on-demand DTC change from B00DF:11 to B00DF:13? 
      Yes No
      INSTALL a new PAD switch. REFER to Passenger Airbag Deactivation (PAD) Switch of Supplemental Restraint System article
      Go to  AT11.
      Go to  AT4.
  4. AT4: CHECK THE PAD SWITCH CIRCUIT FOR A SHORT TO GROUND 
    • Ignition OFF.
    • Depower the SRS. Refer to Supplemental Restraint System (SRS) Depowering and Repowering in the General Procedures portion of Supplemental Restraint System article
    • RCM_A connector disconnected. (C310A)
    • RCM_B connector disconnected. (C310B)
    • Measure the resistance between:
      (+) PAD Switch Assembly Connector, Harness Side (-)
      PAD_SW_OFF Ground
      PAD_SW_ON Ground
    • Is the resistance greater than 10, 000 ohms? 
      Yes No
      Go to  AT5. REPAIR the circuit.
      Go to  AT11.
  5. AT5: CHECK THE PAD CIRCUITS FOR A SHORT TOGETHER 
    • Measure the resistance between:
      (+) PAD Switch Assembly Connector, Harness Side (-) PAD Switch Assembly Connector, Harness Side
      PAD_SW_OFF PAD_SW_ON
    • Is the resistance greater than 10, 000 ohms? 
      Yes No
      Go to  AT9. REPAIR the circuit.
      Go to  AT11.
  6. AT6: CHECK THE PAD CIRCUITS FOR A SHORT TO VOLTAGE 
    • Ignition OFF.
    • Depower the SRS. Refer to Supplemental Restraint System (SRS) Depowering and Repowering in the General Procedures portion of Supplemental Restraint System article
    • RCM_A connector disconnected. (C310A)
    • RCM_B connector disconnected. (C310B)
    • PAD Switch Assembly connector disconnected.
    • Repower the SRS. Do not prove out the SRS at this time. Refer to Supplemental Restraint System (SRS) Depowering and Repowering Supplemental Restraint System article
    • Ignition ON, engine OFF.
    • Measure the voltage between:
      (+) PAD Switch Assembly Connector, Harness Side (-)
      PAD_SW_OFF Ground
      PAD_SW_ON Ground
    • Is any voltage present? 
      Yes No
      REPAIR the circuit.
      Go to  AT11.
      Go to  AT9.
  7. AT7: CHECK THE PAD SWITCH DTC FOR A FAULT STATUS CHANGE (OPEN INDICATED) 
    NOTE: This pinpoint test step attempts to change the fault reported by the RCM by inducing a different fault condition. If the reported fault changes, this indicates the RCM is functioning correctly and is not the source of the fault.
    • Ignition OFF.
    • PAD Switch Assembly connector disconnected.
    • Connect a 5 amp fused jumper wire between the following:
      Point A
      PAD Switch Assembly Connector, Harness Side
      Point B
      PAD Switch Assembly Connector, Harness Side
      PAD_SW_OFF PAD_SW_RTN
      PAD_SW_ON PAD_SW_RTN
    • Ignition ON, engine OFF.
    • Carry out the RCM self-test.
      NOTE: DIAGNOSTIC TIP: When viewing DTCs with the PAD switch circuits shorted together through pin 5, a short to ground fault is normally retrieved.
    • Did the on-demand DTC change from B00DF:13 to B00DF:11? 
      Yes No
      REMOVE the fused jumper wires and INSTALL a new PAD switch. REFER to Passenger Airbag Deactivation (PAD) Switch of Supplemental Restraint System article
      Go to  AT11.
      REMOVE the fused jumper wires.
      Go to  AT8.
  8. AT8: CHECK THE PAD SWITCH CIRCUITS FOR AN OPEN 
    • Ignition OFF.
    • Depower the SRS. Refer to Supplemental Restraint System (SRS) Depowering and Repowering in the General Procedures portion of Supplemental Restraint System article
    • RCM_A connector disconnected. (C310A)
    • RCM_B connector disconnected. (C310B)
    • Measure the resistance between:
      (+) RCM_A (C310A) Connector, Harness Side (-) PAD Switch Assembly Connector, Harness Side
      PAD_SW_OFF PAD_SW_OFF
      PAD_SW_ON PAD_SW_ON
      PAD_SW_RTN PAD_SW_RTN
    • Are the resistances less than 0.5 ohm? 
      Yes No
      Go to  AT9. REPAIR the circuit.
      Go to  AT11.
  9. AT9: CONFIRM THE RCM FAULT 
    NOTE: Make sure all SRS components and the RCM electrical connectors are connected before carrying out the self-test. If not, DTCs are set.
    • Ignition OFF.
    • Depower the SRS. REFER to the Supplemental Restraint System (SRS) Depowering in the General Procedures portion of Supplemental Restraint System article
    • Prior to reconnecting any previously disconnected SRS component:
      • inspect connector(s) (including any inline connectors) for pushed-out, loose or spread terminals and loose or frayed wire connections at terminals.
      • inspect wire harness for any damaged, pinched, cut or pierced wires.
      • inspect the RCM Connector Position Assurance (CPA) lever/locks for correct operation.
      • repair any concerns found. Refer to OEM GROUND DISTRIBUTION article, for schematic and connector information.
    • PAD Switch Assembly connector connected. (if previously disconnected).
    • RCM_A connector connected. (C310A) (if previously disconnected).
    • RCM_B connector connected. (C310B) (if previously disconnected).
    • Repower the SRS. REFER to the Supplemental Restraint System (SRS) Repowering in the General Procedures portion of Supplemental Restraint System article
    • Ignition ON, engine OFF.
    • Carry out the RCM self-test.
    • Is the original DTC retrieved on-demand during self-test? 
      Yes No
      INSTALL a new RCM. REFER to Restraints Control Module (RCM) Supplemental Restraint System article
      Go to  AT10.
      In the process of diagnosing the fault, the fault condition has become intermittent. Do not install any new SRS components at this time.
      Install SRS components only when directed to do so in the pinpoint test.
      Go to  AT11.
  10. AT10: CONFIRM THE REPAIR 
    • Ignition OFF.
    • CHECK OASIS for any applicable TSBs.
      • If a TSB exists for this concern, DISCONTINUE this test and FOLLOW TSB instructions.
      • If no TSBs address this concern, INSTALL a new RCM. Refer to the appropriate Removal and Installation procedure in Supplemental Restraint System article.

    INSTALL a new RCM.

    Reconnect all previously disconnected SRS components and repower the SRS. REFER to the Supplemental Restraint System (SRS) Repowering in the General Procedures portion of Supplemental Restraint System article

    Carry out the OCSM and RCM self-test and record DTCs if present. Do not clear any DTCs until all DTCs have been resolved. DIAGNOSE and REPAIR the RCM and/or OCSM DTCs.

    Carry out the OCSM and RCM self-test and record DTCs if present. Do not clear any DTCs until all DTCs have been resolved.

    If any SRS DTCs are retrieved, DO NOT clear any DTCs until all DTCs have been resolved. DIAGNOSE and REPAIR the RCM and/or OCSM DTCs.

    If no DTCs are retrieved on-demand, the repair is complete. RETURN the vehicle to the customer.

  11. AT11: CHECK FOR AN INTERMITTENT FAULT 
    • Ignition OFF.
    • Depower the SRS. REFER to the Supplemental Restraint System (SRS) Depowering in the General Procedures portion of Supplemental Restraint System article
    • PAD Switch Assembly connector disconnected. (if previously disconnected).
    • Inspect for the following:
      • inspect harness and component connectors for loose or spread terminals and loose or frayed wire connections at terminals.
      • inspect wire harness for any damage, pinched, cut or pierced wires.
      • inspect the RCM Connector Position Assurance (CPA) lever/locks for correct operation
      • repair any concerns found. Refer to OEM GROUND DISTRIBUTION article, Connector Repair Procedures for schematic and connector information.
    • Connect all Previously Disconnected Component(s)/Connector(s).
    • Repower the SRS. Do not prove out the SRS at this time. Refer to Supplemental Restraint System (SRS) Depowering and Repowering of Supplemental Restraint System article
    • Ignition ON, engine OFF.
    • Carry out the RCM self-test.
    • Was DTC B00DF:11, B00DF:12 or B00DF:13 retrieved on-demand during self-test? 
      Yes No
      This fault cannot be cleared until it is corrected and the DTC is no longer retrieved on-demand during the self test.
      For B00DF:11, Go to  AT3.
      For B00DF:13, Go to  AT6.
      For B00DF:12, Go to  AT7.
      The fault is not present and cannot be recreated at this time. Do not install any new SRS components at this time. SRS components should only be installed when directed to do so in the pinpoint test.
      Go to  AT12.
  12. AT12: CHECK FOR ADDITIONAL SRS DTCS 
    • Ignition OFF.
    • Reconnect all SRS components (if previously disconnected).
    • If previously directed to depower the SRS, repower the SRS. Do not prove out the SRS at this time. Refer to Supplemental Restraint System (SRS) Depowering and Repowering of Supplemental Restraint System article
    • Ignition ON, engine OFF.
      NOTE: When selecting Restraints from the Self Test menu, DTCs are retrieved from the RCM and BECMB.
    • Carry out the RCM self-test.
    • If equipped with an BECMB, carry out the BECMB self-test.
    • Carry out the BECMB self-test.
    • Are any RCM and/or BECMB DTCs retrieved on-demand during self-test? 
      Yes No
      Do not clear any DTCs until all DTCs have been resolved. GO to the RCM - RESTRAINT CONTROL MODULE for pinpoint test direction. CLEAR all RCM continuous memory DTCs. PROVE OUT the SRS. REPAIR is complete. RETURN the vehicle to the customer.