LEMON Manuals: Even more car manuals for everyone
Home >> Lincoln >> 2018 >> Navigator Select, 4WD >> Repair and Diagnosis >> Restraints >> Restraints Control Systems >> RCM Guided Routine Testing -- (2 Of 4) >> Pinpoint Tests >> Pinpoint Test ABB: Right Front Impact Sensor (includes Component Internal Failure) >> Visual Inspection and Diagnostic Pre-checks

Visual Inspection and Diagnostic Pre-checks

WARNING: Incorrect repair techniques or actions can cause an accidental SRS deployment. Never compromise or depart from these instructions. Failure to precisely follow all instructions could result in serious personal injury from an accidental deployment.
CAUTION: Use the correct probe adapter(s) when making measurements. Failure to use the correct probe adapter(s) may cause damage to the connector.
NOTE: Most faults are due to connector and/or wiring concerns. Carry out a thorough inspection and verification before proceeding with the pinpoint test.
NOTE: Only disconnect or reconnect SRS components when instructed to do so within a pinpoint test step. Failure to follow this instruction may result in incorrect diagnosis of the SRS.
NOTE: Always make sure the correct SRS component is being installed. Parts released for other vehicles may not be compatible even if they appear physically similar. Check the part number listed in the Ford parts catalog to make sure the correct component is being installed. If an incorrect SRS component is installed, DTCs may set.
NOTE: Do not probe any impact sensor. The impact sensor cannot be tested using a multi-meter.
NOTE: The SRS must be fully operational and free of faults before releasing the vehicle to the customer.
Fig 1: Right Front Impact Sensor Connector End View (C1466)
G12765481Courtesy of FORD MOTOR CO.
Harness Side

Circuit Pin
RF_IMP_SVRTY_SN_FD (Right Front Impact Severity Sensor Feed) - VR214 1 (WHITE/BLUE)
RF_IMP_SVRTY_SN_RTN (Right Front Impact Severity Sensor Return) - RR130 2 (GREEN/BLUE)
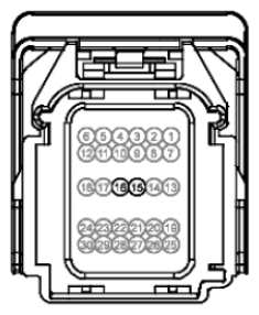
Fig 2: Restraint Control Module-A (RCM-A) Connector End View (C310A)
G12765482Courtesy of FORD MOTOR CO.
Harness Side

Circuit Pin
RF_IMP_SVRTY_SN_FD (Right Front Impact Severity Sensor Feed) - VR214 15 (WHITE/BLUE)
RF_IMP_SVRTY_SN_RTN (Right Front Impact Severity Sensor Return) - RR130 16 (GREEN/BLUE)
  1. ABB1: CHECK FOR DTC U3003:16 AND U3003:17 
    NOTE: Diagnose all network-related (lost communication) DTCs first.
    • Ignition ON, engine OFF.
    • Carry out the RCM self-test.
    • Is DTC U3003:16 or U3003:17 retrieved DTC during the self-test? 
      Yes No
      REFER to the DTC Chart. Go to  ABB2.
  2. ABB2: RETRIEVE RCM DTCS 
    WARNING: Before beginning any service procedure in this article, refer to Safety Warnings in General Information article. Failure to follow this instruction may result in serious personal injury.
    • Ignition ON, engine OFF.
    • Carry out the RCM self-test.
    • Is DTC B1417:11, B1417:12, B1417:13 or B1417:96 retrieved as an on-demand (not continuous) DTC during the self-test? 
      Yes No
      This fault cannot be cleared until it is corrected and the DTC is no longer retrieved on-demand during self-test.
      For DTC B1417:11 or B1417:96, Go to  ABB3.
      For DTC B1417:12, Go to  ABB9.
      For DTC B1417:13, Go to  ABB7.
      For all others,
      No fault found.
      This is an intermittent fault when present as a CMDTC only.
      Go to  ABB13.
  3. ABB3: CHECK THE RIGHT FRONTAL RESTRAINTS SENSOR DTC FOR A FAULT STATUS CHANGE (SHORT TO GROUND INDICATED) 
    NOTE: This pinpoint test step attempts to change the fault reported by the RCM by inducing a different fault condition. If the reported fault changes, this indicates the RCM is functioning correctly and is not the source of the fault.
    • Ignition OFF.
    • Depower the SRS. REFER to the Supplemental Restraint System (SRS) Depowering in the General Procedures portion of Supplemental Restraint System article
    • Right Front Impact Sensor connector disconnected. (C1466)
    • Repower the SRS. Do not prove out the SRS at this time. REFER to the Supplemental Restraint System (SRS) Repowering in the General Procedures portion of Supplemental Restraint System article
    • Ignition ON, engine OFF.
    • Carry out the RCM self-test.
    • Does the on-demand DTC change from B1417:11 or B1417:96 to B1417:13? 
      Yes No
      INSTALL a new right front impact sensor. REFER to the appropriate Removal and Installation procedure in Supplemental Restraint System article.
      Go to  ABB14.
      Go to  ABB4.
  4. ABB4: CHECK THE RIGHT FRONT IMPACT SENSOR FEED CIRCUIT FOR A SHORT TO GROUND 
    • Ignition OFF.
    • Depower the SRS. REFER to the Supplemental Restraint System (SRS) Depowering in the General Procedures portion of Supplemental Restraint System article
    • RCM_A connector disconnected. (C310A)
    • RCM_B connector disconnected. (C310B)
    • Measure the resistance between:
      (+) Right Front Impact Sensor (C1466) Connector, Harness Side (-)
      RF_IMP_SVRTY_SN_FD - VR214 (WHITE/BLUE) - Pin 1 Ground
    • Is the resistance greater than 10, 000 ohms? 
      Yes No
      Go to  ABB6. REPAIR the circuit.
      Go to  ABB14.
  5. ABB5: CHECK THE RH FRONT IMPACT SENSOR FEED CIRCUIT FOR A SHORT TO VOLTAGE 
    • Repower the SRS. Do not prove out the SRS at this time. REFER to the Supplemental Restraint System (SRS) Repowering in the General Procedures portion of Supplemental Restraint System article
    • Ignition ON, engine OFF.
    • Measure the voltage between:
      (+) Right Front Impact Sensor (C1466) Connector, Harness Side (-)
      RF_IMP_SVRTY_SN_FD - VR214 (WHITE/BLUE) - Pin 1 Ground
    • Is any voltage present? 
      Yes No
      REPAIR the circuit.
      Go to  ABB14.
      Go to  ABB6.
  6. ABB6: CHECK FOR A SHORT BETWEEN RIGHT FRONT IMPACT SENSOR CIRCUITS 
    • Ignition OFF.
    • Measure the resistance between:
      (+) Right Front Impact Sensor (C1466) Connector, Harness Side (-) Right Front Impact Sensor (C1466) Connector, Harness Side
      RF_IMP_SVRTY_SN_FD - VR214 (WHITE/BLUE) - Pin 1 RF_IMP_SVRTY_SN_RTN - RR130 - Pin 2
    • Is the resistance greater than 10, 000 ohms? 
      Yes No
      Go to  ABB11. REPAIR the circuit.
      Go to  ABB14.
  7. ABB7: CHECK THE RIGHT FRONT IMPACT SENSOR AND RCM CONNECTIONS (NO OPERATION INDICATED) 
    • Ignition OFF.
    • Depower the SRS. REFER to the Supplemental Restraint System (SRS) Depowering in the General Procedures portion of Supplemental Restraint System article
    • Inspect the right Front Impact Sensor electrical connector to make sure it is fully seated and locked. Seat and lock the connector as necessary.
    • Gain access to the RCM and inspect both connectors to make sure they are fully seated and locked. Seat and lock the connectors as necessary.
    • Repower the SRS. REFER to the Supplemental Restraint System (SRS) Repowering in the General Procedures portion of Supplemental Restraint System article
    • Ignition ON, engine OFF.
    • Carry out the RCM self-test.
    • Is DTC B1417:13 retrieved on-demand during self-test? 
      Yes No
      Go to  ABB8. The fault has been corrected.
      Go to  ABB14.
  8. ABB8: CHECK THE RH FRONT IMPACT SENSOR CIRCUITS FOR AN OPEN 
    • Ignition OFF.
    • Depower the SRS. REFER to the Supplemental Restraint System (SRS) Depowering in the General Procedures portion of Supplemental Restraint System article
    • Measure the resistance between:
      (+) RCM_A (C310A) Connector, Harness Side (-) Right Front Impact Sensor (C1466) Connector, Harness Side
      RF_IMP_SVRTY_SN_FD - VR214 (WHITE/BLUE) - Pin 15 RF_IMP_SVRTY_SN_FD - VR214 - Pin 1
      RF_IMP_SVRTY_SN_RTN - RR130 (GREEN/BLUE) - Pin 16 RF_IMP_SVRTY_SN_RTN - RR130 - Pin 2
    • Are the resistances less than 0.5 ohm? 
      Yes No
      REPAIR the circuit.
      Go to  ABB9.
      Go to  ABB14.
  9. ABB9: CHECK THE RIGHT FRONT IMPACT SENSOR FEED CIRCUIT FOR A SHORT TO VOLTAGE (NO OPERATION INDICATED) 
    • Ignition OFF.
    • Depower the SRS. REFER to the Supplemental Restraint System (SRS) Depowering in the General Procedures portion of Supplemental Restraint System article
    • Right Front Impact Sensor connector disconnected. (C1466)
    • RCM_A connector disconnected. (C310A)
    • RCM_B connector disconnected. (C310B)
    • Repower the SRS. REFER to the Supplemental Restraint System (SRS) Repowering in the General Procedures portion of Supplemental Restraint System article
    • Ignition ON, engine OFF.
    • Measure the voltage between:
      (+) Right Front Impact Sensor (C1466) Connector, Harness Side (-)
      RF_IMP_SVRTY_SN_FD - VR214 (WHITE/BLUE) - Pin 1 Ground
    • Is any voltage present? 
      Yes No
      REPAIR the circuit.
      Go to  ABB14.
      For DTC B1417:11 or B1417:12, Go to  ABB11.
      For DTC B1417:13 or B1417:96, Go to  ABB10.
      For all others,
      No fault found.
  10. ABB10: CHECK THE RIGHT FRONTAL RESTRAINTS SENSOR DTC FOR A FAULT STATUS CHANGE (NO OPERATION INDICATED) 
    NOTE: This pinpoint test step attempts to change the fault reported by the RCM by inducing a different fault condition. If the reported fault changes, this indicates the RCM is functioning correctly and is not the source of the fault.
    • RCM_A connector connected. (C310A)
    • RCM_B connector connected. (C310B)
    • Connect a 5 amp fused jumper wire between the following:
      Point A
      Right Front Impact Sensor (C1466) Connector, Harness Side
      Point B
      Right Front Impact Sensor (C1466) Connector, Harness Side
      RF_IMP_SVRTY_SN_FD - VR214 (WHITE/BLUE) - Pin 1 RF_IMP_SVRTY_SN_RTN - RR130 - Pin 2
    • Repower the SRS. Do not prove out the SRS at this time. REFER to the Supplemental Restraint System (SRS) Depowering in the General Procedures portion of Supplemental Restraint System article
    • Ignition ON, engine OFF.
    • Carry out the RCM self-test.
      Yes No
      REMOVE the fused jumper wire. INSTALL a new right front impact sensor. REFER to the appropriate Removal and Installation procedure in Supplemental Restraint System article.
      Go to  ABB14.
      REMOVE the fused jumper wire.
      Go to  ABB11.
  11. ABB11: CONFIRM THE RCM FAULT 
    NOTE: Make sure all SRS components and the RCM electrical connectors are connected before carrying out the self-test. If not, DTCs are set.
    • Ignition OFF.
    • Depower the SRS. REFER to the Supplemental Restraint System (SRS) Depowering in the General Procedures portion of Supplemental Restraint System article
    • Prior to reconnecting any previously disconnected SRS component:
      • inspect connector(s) (including any inline connectors) for pushed-out, loose or spread terminals and loose or frayed wire connections at terminals.
      • inspect wire harness for any damaged, pinched, cut or pierced wires.
      • inspect the RCM Connector Position Assurance (CPA) lever/locks for correct operation.
      • repair any concerns found. Refer to OEM GROUND DISTRIBUTION article, for schematic and connector information.
    • Right Front Impact Sensor connector connected. (C1466) (if previously disconnected). 
    • RCM_A connector connected. (C310A) (if previously disconnected). 
    • RCM_B connector connected. (C310B) (if previously disconnected). 
    • Repower the SRS. REFER to the Supplemental Restraint System (SRS) Repowering in the General Procedures portion of Supplemental Restraint System article 
    • Ignition ON, engine OFF. 
    • Carry out the RCM self-test. 
    • Is the original DTC retrieved on-demand during self-test? 
      Yes No
      Go to  ABB12. In the process of diagnosing the fault, the fault condition has become intermittent. Do not install any new SRS components at this time.
      Install SRS components only when directed to do so in the pinpoint test.
      Go to  ABB13.
  12. ABB12: CONFIRM THE REPAIR 
    • Ignition OFF.
    • CHECK OASIS for any applicable TSBs.
    • If a TSB exists for this concern, DISCONTINUE this test and FOLLOW TSB instructions.
    • If no TSBs address this concern, INSTALL a new RCM. Refer to the appropriate Removal and Installation procedure in Supplemental Restraint System article.

    INSTALL a new RCM.

    Reconnect all previously disconnected SRS components and repower the SRS. REFER to the Supplemental Restraint System (SRS) Repowering in the General Procedures portion of Supplemental Restraint System article

    Carry out the OCSM and RCM self-test and record DTCs if present. Do not clear any DTCs until all DTCs have been resolved. DIAGNOSE and REPAIR the RCM and/or OCSM DTCs.

    Carry out the OCSM and RCM self-test and record DTCs if present. Do not clear any DTCs until all DTCs have been resolved.

    If any SRS DTCs are retrieved, DO NOT clear any DTCs until all DTCs have been resolved. DIAGNOSE and REPAIR the RCM and/or OCSM DTCs.

    If no DTCs are retrieved on-demand, the repair is complete. RETURN the vehicle to the customer.

  13. ABB13: CHECK FOR AN INTERMITTENT FAULT 
    • Ignition OFF.
    • Depower the SRS. REFER to the Supplemental Restraint System (SRS) Depowering in the General Procedures portion of Supplemental Restraint System article
    • Right Front Impact Sensor connector disconnected. (C1466)
    • RCM_A connector disconnected. (C310A)
    • RCM_B connector disconnected. (C310B)
    • Inspect:
      • connector(s) (including any inline connectors) for corrosion, loose or spread terminals and loose or frayed wire connections at terminals.
      • wire harness for any damage, pinched, cut or pierced wires.
      • the RCM Connector Position Assurance (CPA) lever/locks for correct operation.
      • repair any concerns found. Refer to OEM GROUND DISTRIBUTION article, for schematic and connector information.
    • Right Front Impact Sensor connector connected. (C1466)
    • RCM_A connector connected. (C310A)
    • RCM_B connector connected. (C310B)
    • Repower the SRS. REFER to the Supplemental Restraint System (SRS) Repowering in the General Procedures portion of Supplemental Restraint System article
    • Ignition ON, engine OFF.
    • Carry out the RCM self-test.
    • Is DTC B1417:11, B1417:12, B1417:13 or B1417:93 retrieved on-demand during the self-test? 
      Yes No
      This fault cannot be cleared until it is corrected and the DTC is no longer retrieved on-demand during self-test.
      For DTC B1417:11 or B1417:96, Go to  ABB3.
      For DTC B1417:12, Go to  ABB9.
      For DTC B1417:13, Go to  ABB7.
      For all others,
      No fault found.
      The fault is not present and cannot be recreated at this time. Do not install any new SRS components at this time. Install SRS components only when directed to do so in the pinpoint test.
      Go to  ABB14.
  14. ABB14: CHECK FOR ADDITIONAL SRS DTCS 
    • Ignition OFF.
    • Reconnect all SRS components (if previously disconnected).
    • Repower the SRS. REFER to the Supplemental Restraint System (SRS) Repowering in the General Procedures portion of Supplemental Restraint System article
    • Ignition ON, engine OFF.
    • Clear the RCM DTCs.
    • Ignition OFF.
    • Ignition ON, engine OFF.
    • Wait 10 seconds.
    • Carry out the RCM self-test.
    • Are any RCM DTCs retrieved on-demand during self-tests? 
      Yes No
      Do not clear any DTCs until all DTCs have been resolved. DIAGNOSE and REPAIR the RCM and/or OCSM DTCs. The repair is complete. RETURN the vehicle to the customer.