LEMON Manuals: Even more car manuals for everyone
Home >> Lincoln >> 2013 >> MKT Base, AWD >> Repair and Diagnosis >> External Pages >> Different car >> Section 13 (Module Communications Network) >> Diagnosis And Testing >> Communications Network >> Pinpoint Tests >> Pinpoint Test K: The Audio Front Control Module (ACM) Does Not Respond To The Scan Tool >> Pinpoint Test K: The ACM Does Not Respond To The Scan Tool

Pinpoint Test K: The ACM Does Not Respond To The Scan Tool

WARNING: This page is about a different car, the 2013 Ford F-550 Super Duty, 2013 Ford F-450 Super Duty, 2013 Ford F-350 Super Duty, and 2013 Ford F-250 Super Duty. However, it is still accessible from the selected car via links, so may be relevant.
NOTE: Use the correct probe adapter(s) when making measurements. Failure to use the correct probe adapter(s) may damage the connector.
NOTE: Failure to disconnect the battery when instructed will result in false resistance readings. Refer to BATTERY, MOUNTING AND CABLES .
  1. K1 CHECK THE ACM VOLTAGE SUPPLY CIRCUIT FOR AN OPEN 
    • Ignition OFF.
    • Disconnect: ACM C240A (AM/FM/single CD) or C290A (premium audio with touchscreen).
    • Ignition ON.
    • For vehicles equipped with premium audio with touchscreen, measure the voltage between the ACM C290A-1, circuit SBP29 (GY/RD), harness side and ground.
      Fig 1: Measuring Voltage Between ACM C290A-1, Circuit SBP29 (GY/RD) And Ground
      G08602825Courtesy of FORD MOTOR CO.
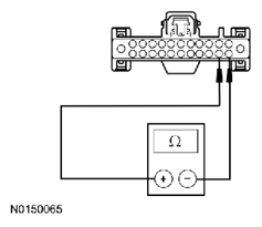
    • For vehicles equipped with AM/FM/single CD, measure the voltage between the ACM C240A-1, circuit SBP29 (GY/RD), harness side and ground; and between the ACM C240A-2, circuit CBP38 (GY/BU), harness side and ground.
      Fig 2: Checking ACM Voltage Supply Circuit For Open
      G07974512Courtesy of FORD MOTOR CO.
    • Are the voltages greater than 10 volts? 
    1. Yes  : GO to K2.
    2. No  : VERIFY the Body Control Module (BCM) fuse 29 (20A) (premium audio with touchscreen) or fuse 38 (10A) (AM/FM/single CD) is OK. If OK, REPAIR the circuit. If not OK, REFER to the OEM ELECTRICAL WIRING DIAGRAM INTRODUCTION to identify the possible causes of the circuit short. To diagnose the delayed accessory is inoperative on vehicles equipped with AM/FM/single CD, REFER to GLASS, FRAMES AND MECHANISMS . CLEAR the DTCs. REPEAT the network test with the scan tool.
  2. K2 CHECK THE ACM GROUND CIRCUIT FOR AN OPEN 
    • Ignition OFF.
    • Disconnect: Negative Battery Cable.
    • For vehicles equipped with premium audio with touchscreen, measure the resistance between the ACM C290A-13, circuit GD114 (BK/BU), harness side and ground.
      Fig 3: Checking ACM Ground Circuit For Open
      G08602827Courtesy of FORD MOTOR CO.
    • For vehicles equipped with AM/FM/single CD, measure the resistance between the ACM C240A-13, circuit GD114 (BK/BU), harness side and ground.
      Fig 4: Measuring Resistance Between ACM C240A-13, Circuit GD114 (BK/BU) And Ground
      G06099338Courtesy of FORD MOTOR CO.
    • Is the resistance less than 5 ohms? 
    1. Yes  : If equipped with AM/FM/single CD, GO to K3.

      If equipped with premium audio with touchscreen, GO to  K4.

    2. No  : REPAIR the circuit. CLEAR the DTCs. REPEAT the network test with the scan tool.
  3. K3 CHECK THE MS-CAN CIRCUITS BETWEEN THE ACM AND THE DLC FOR AN OPEN 
    • Disconnect: ACM C240C.
    • Measure the resistance between the ACM C240C-15, circuit VDB06 (GY/OG), harness side and the Data Link Connector (DLC) C251-3, circuit VDB06 (GY/OG), harness side.
      Fig 5: Measuring Resistance Between ACM C240C-15, Circuit VDB06 (GY/OG) And Data Link Connector (DLC) C251-3, Circuit VDB06 (GY/OG)
      G06065473Courtesy of FORD MOTOR CO.
    • Measure the resistance between the ACM C240C-16, circuit VDB07 (VT/OG), harness side and the DLC C251-11, circuit VDB07 (VT/OG), harness side.
      Fig 6: Measuring Resistance Between ACM C240C-16, Circuit VDB07 (VT/OG) And DLC C251-11, Circuit VDB07 (VT/OG)
      G06065474Courtesy of FORD MOTOR CO.
    • Are the resistances less than 5 ohms? 
    1. Yes  : GO to  K6.
    2. No  : REPAIR the circuit in question. CLEAR the DTCs. REPEAT the network test with the scan tool.
  4. K4 CHECK THE INFOTAINMENT CONTROLLER AREA NETWORK (I-CAN) TERMINATION RESISTANCE 
    • Measure the resistance between ACM C240A-14, circuit VDB13 (BU/GY), harness side and ACM C240A-15, circuit VDB14 (VT/GY), harness side.
      Fig 7: Measuring Resistance Between ACM C240A-14, Circuit VDB13 (BU/GY) And ACM C240A-15, Circuit VDB14 (VT/GY)
      G08343265Courtesy of FORD MOTOR CO.
    • Is the resistance between 108 and 132 ohms? 
    1. Yes  : GO to  K6.
    2. No  : GO to K5.
  5. K5 CHECK THE I-CAN CIRCUITS BETWEEN THE ACM AND THE IPC FOR AN OPEN 
    • Disconnect: IPC C220.
    • Measure the resistance between the ACM C290A-14, circuit VDB13 (BU/GY), harness side and the Instrument Panel Cluster (IPC) C220-1, circuit VDB13 (BU/GY), harness side.
      Fig 8: Measuring Resistance Between ACM C290A-14, Circuit VDB13 (BU/GY) And Instrument Panel Cluster (IPC) C220-1
      G08602832Courtesy of FORD MOTOR CO.
    • Measure the resistance between the ACM C290A-15, circuit VDB14 (VT/GY), harness side and the IPC C220-2, circuit VDB14 (VT/GY), harness side.
      Fig 9: Measuring Resistance Between ACM C290A-15, Circuit VDB14 (VT/GY) And IPC C220-2, Circuit VDB14 (VT/GY)
      G08602833Courtesy of FORD MOTOR CO.
    • Are the resistances less than 5 ohms? 
    1. Yes  : CONNECT the IPC and negative battery cable. GO to K6.
    2. No  : REPAIR the circuit in question. CLEAR the DTCs. REPEAT the network test with the scan tool.
  6. K6 CHECK FOR CORRECT ACM OPERATION 
    • Disconnect all the ACM connectors.
    • Check for:
      • corrosion
      • damaged pins
      • pushed-out pins
    • Connect all the ACM connectors and make sure they seat correctly.
    • Operate the system and verify the concern is still present.
    • Is the concern still present? 
    1. Yes  : INSTALL a new ACM. Refer to the appropriate Information and Entertainment Systems article for the procedure. CLEAR the DTCs. REPEAT the network test with the scan tool.
    2. No  : The system is operating correctly at this time. The concern may have been caused by a loose or corroded connector.