LEMON Manuals: Even more car manuals for everyone
Home >> Lincoln >> 2012 >> MKX AWD >> Repair and Diagnosis >> External Pages >> Different car >> Section 1875 (Module Communications Network) >> Diagnosis And Testing >> Communications Network >> Pinpoint Tests >> Pinpoint Test AB: The Transmission Control Module (TCM) Does Not Respond To The Scan Tool >> Pinpoint Test Ab: The TCM Does Not Respond To The Scan Tool

Pinpoint Test Ab: The TCM Does Not Respond To The Scan Tool

WARNING: This page is about a different car, the 2013 Lincoln MKX and 2013 Ford Edge. However, it is still accessible from the selected car via links, so may be relevant.
NOTE: Use the correct probe adapter(s) when making measurements. Failure to use the correct probe adapter(s) may damage the connector.
NOTE: Failure to disconnect the battery when instructed results in false resistance readings. Refer to BATTERY, MOUNTING AND CABLES .
  1. AB1 CHECK THE TCM VOLTAGE SUPPLY CIRCUIT FOR AN OPEN 
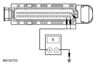
    • Ignition OFF.
    • Disconnect: TCM C1750.
    • Ignition ON.
    • Measure the voltage between the TCM, harness side and ground as follows:
      TCM Connector-Pin Circuit
      C1750-1 SBB56 (VT/RD)
      C1750-31 SBB56 (VT/RD)
      C1750-33 CBB90 (YE/OG)
      Fig 1: Measuring Voltage Between TCM, Harness Side And Ground
      G07933914Courtesy of FORD MOTOR CO.
    • Are the voltages greater than 10 volts? 
      • YES  : GO to  AB2.
      • No  : VERIFY the Body Control Module (BCM) fuses 56 (15A) and 90 (10A) are OK. If OK, REPAIR the circuit. If not OK, REFER to the appropriate SYSTEM WIRING DIAGRAMS (Edge) article or SYSTEM WIRING DIAGRAMS (MKX) article to identify the possible causes of the circuit short. CLEAR the DTCs. REPEAT the network test with the scan tool.
  2. AB2 CHECK THE TCM GROUND CIRCUIT FOR AN OPEN 
    • Ignition OFF.
    • Disconnect: Negative Battery Cable.
    • Measure the resistance between the TCM C1750-39, circuit GD120 (BK/GN), harness side and ground; and between the TCM C1750-41, circuit GD120 (BK/GN) harness side and ground.
      Fig 2: Measuring Resistance Between TCM C1750-39, Circuit GD120 (BK/GN), Harness Side And Ground
      G07933915Courtesy of FORD MOTOR CO.
    • Is the resistance less than 5 ohms? 
      • YES  : GO to  AB3.
      • No  : REPAIR the circuit. CONNECT the negative battery cable. CLEAR the DTCs. REPEAT the network test with the scan tool.
  3. AB3 CHECK THE HS-CAN CIRCUITS BETWEEN THE TCM AND THE DLC FOR AN OPEN 
    • Measure the resistance between the TCM C1750-47, circuit VDB04 (WH/BU), harness side and the DLC C251-6, circuit VDB04 (WH/BU), harness side.
      Fig 3: Measuring Resistance Between TCM C1750-47, Circuit VDB04 (WH/BU) And DLC C251-6, Circuit VDB04 (WH/BU), Harness Side
      G07933916Courtesy of FORD MOTOR CO.
    • Measure the resistance between the TCM C1750-48, circuit VDB05 (WH), harness side and the DLC C251-14, circuit VDB05 (WH), harness side.
      Fig 4: Measuring Resistance Between TCM C1750-48, Circuit VDB05 (WH) And DLC C251-14, Circuit VDB05 (WH), Harness Side
      G07933917Courtesy of FORD MOTOR CO.
    • Are the resistances less than 5 ohms? 
      • YES  : CONNECT the negative battery cable. GO to  AB4.
      • No  : REPAIR the circuit in question. CONNECT the negative battery cable. CLEAR the DTCs. REPEAT the network test with the scan tool.
  4. AB4 CHECK FOR CORRECT TCM OPERATION 
    • Disconnect the TCM connector.
    • Check for:
      • Corrosion
      • Damaged pins
      • Pushed-out pins
    • Connect the TCM connector and make sure it seats correctly.
    • Operate the system and verify the concern is still present.
    • Is the concern still present? 
      • YES  : INSTALL a new TCM. REFER to AUTOMATIC TRANSMISSION - 6F35 . CLEAR the DTCs. REPEAT the network test with the scan tool.
      • No  : The system is operating correctly at this time. The concern may have been caused by a loose or corroded connector. CLEAR the DTCs. REPEAT the network test with the scan tool.