LEMON Manuals: Even more car manuals for everyone
Home >> Lincoln >> 2012 >> MKT EcoBoost >> Repair and Diagnosis >> Engine Performance >> System >> Engine Controls - Pinpoint Test Ea: Pressure And Temperature Sensor Correlation Through Pinpoint Test HH: Exhaust Gas RECIRCULATION System Module (ESM) - (Except Diesel & Hybrid) >> PINPOINT TEST H: Fuel Control >> Introduction

PINPOINT TEST H: Fuel Control: Introduction

WARNING: WHILE CONDUCTING TESTS ON A HOT ENGINE TAKE ALL SAFETY PRECAUTIONS TO PREVENT SKIN CONTACT WITH HOT ENGINE COMPONENTS. FAILURE TO FOLLOW THESE INSTRUCTIONS MAY RESULT IN PERSONAL INJURY.

This pinpoint test is intended to diagnose the following:

For additional information on heated oxygen sensor (HO2S), refer to CATALYST AND EXHAUST SYSTEMS .

Fig 1: Catalyst And Exhaust Systems Diagram
G07883910Courtesy of FORD MOTOR CO.

Heated Oxygen Sensor-Front (HO2S-Front) Connector 

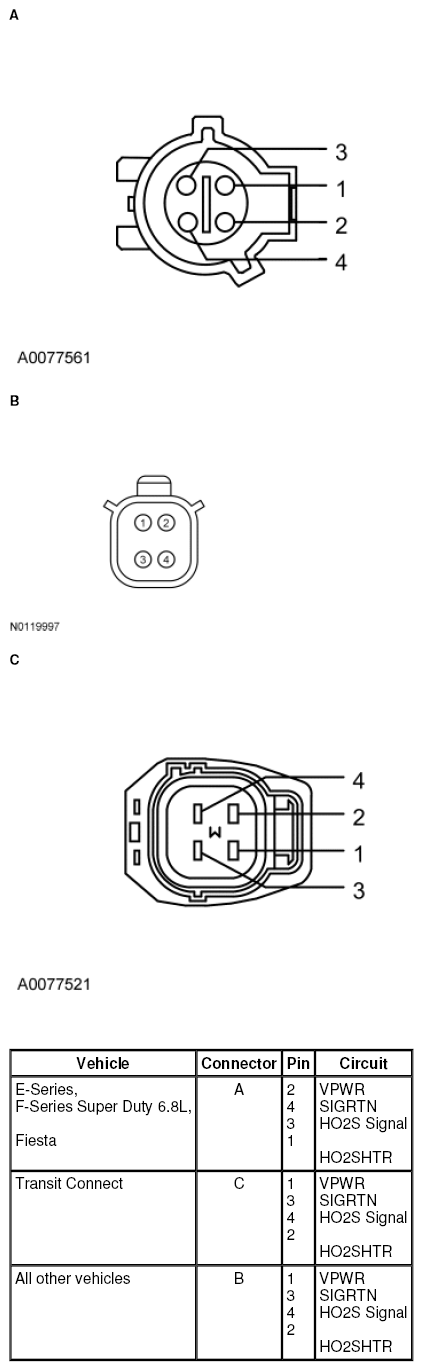
The pin numbering for the connector is in reference to the connector lock tab. Not all connector key combinations are shown.

Fig 2: Identifying Heated Oxygen Sensor-Front (HO2S-Front) Connector
G07883911Courtesy of FORD MOTOR CO.

Heated Oxygen Sensor-Rear (HO2S-Rear) Connector 

The pin numbering for the connector is in reference to the connector lock tab. Not all connector key combinations are shown.

Fig 3: Identifying Heated Oxygen Sensor-Rear (HO2S-Rear) Connector
G07883912Courtesy of FORD MOTOR CO.
Fig 4: Identifying Universal HO2S-Front Connector
G07883913Courtesy of FORD MOTOR CO.

Powertrain Control Module (PCM) Connector 

For PCM connector views or reference values, refer to REFERENCE VALUES article.

Vehicle Connector Pin Circuit
E-Series 4.6L 190-PIN E24 UO2SPC21
E23 UO2SPC11
T48 HTR22
T18 HTR12
T20 HO2S22
T16 HO2S12
B30 VPWR
T40 SIGRTN
E-Series 6.8L 170 PIN T48 HTR22
E70 HTR21
T47 HTR12
E69 HTR11
T25 HO2S22
E29 HO2S21
T24 HO2S12
E28 HO2S11
B35 VPWR
B41, E58, T41 SIGRTN
E-Series 5.4L 190-PIN E24 UO2SPC21
E23 UO2SPC11
T48 HTR22
T18 HTR12
T20 HO2S22
T16 HO2S12
B30 VPWR
B58, T40 SIGRTN
Edge 3.5L, Edge 3.7L, Explorer 3.5L, MKX 190-PIN E24 UO2SPC21
E23 UO2SPC11
T48 HTR22
T49 HTR12
T40 HO2S22
T29 HO2S12
B67 VPWR
E49 SIGRTN
Edge 2.0L 154 PIN E64 UO2SPC11
B20 HTR12
B48 HO2S12
B5 VPWR
E34 SIGRTN
Escape 3.0L 190-PIN E53 UO2SPC21
E37 UO2SPC11
T48 HTR22
T49 HTR12
T40 HO2S22
T29 HO2S12
B67 VPWR
T41 SIGRTN
Escape 2.5L Manual Transmission, Fusion 2.5L Manual Transmission 190-PIN T49 HTR12
E69 HTR11
T29 HO2S12
E8 HO2S11
B67 VPWR
E49, T41 SIGRTN
Escape 2.5L Automatic Transmission 190-PIN E37 UO2SPC11
T49 HTR12
T29 HO2S12
B67 VPWR
T41 SIGRTN
Explorer 2.0L, Focus 154 PIN E64 UO2SPC11
B20 HTR12
B48 HO2S12
B5 VPWR
B21 SIGRTN
F-150 3.7L, Mustang 3.7L 190-PIN E24 UO2SPC21
E23 UO2SPC11
T48 HTR22
T49 HTR12
T40 HO2S22
T29 HO2S12
B67 VPWR
T41 SIGRTN
F-150 3.5L 198 PIN E63 UO2SPC21
E61 UO2SPC11
B61 HTR22
B1 HTR12
B56 HO2S22
B57 HO2S12
B101 VPWR
B37, B38 SIGRTN
F-Series Super Duty 6.8L, Motorhome / Stripped Chassis / Step Van 190-PIN T28 UO2SPC21
T29 UO2SPC11
T48 HTR12
T30 HO2S12
B67 VPWR
T26 SIGRTN
Fiesta 128 PIN E35 HTR12
E47 HTR11
E20 HO2S12
E21 HO2S11
B11 VPWR
E8, E9 SIGRTN
Flex 4V 3.5L, MKS 3.7L, MKT 3.7L, Taurus 4V 3.5L 190-PIN E6 UO2SPC21
E4 UO2SPC11
E2 HTR22
E1 HTR12
E24 HO2S22
E23 HO2S12
B51 VPWR
E58 SIGRTN
Flex GTDI 3.5L, MKS 3.5L, MKT 3.5L, Taurus GTDI 3.5L 190-PIN E13 UO2SPC21
E11 UO2SPC11
T49 HTR22
T48 HTR12
T40 HO2S22
T29 HO2S12
B35 VPWR
B56 SIGRTN
Fusion 3.0L 190-PIN E24 UO2SPC21
E23 UO2SPC11
T48 HTR22
T49 HTR12
T40 HO2S22
T29 HO2S12
B67 VPWR
E49, T41 SIGRTN
Fusion 3.5L, MKZ 140 PIN E24 HTR22
E70 HTR21
E23 HTR12
E69 HTR11
E4 HO2S22
E29 HO2S21
E3 HO2S12
E28 HO2S11
B51 VPWR
E58 SIGRTN
Fusion 2.5L Automatic Transmission 190-PIN E23 UO2SPC11
T49 HTR12
T29 HO2S12
B67 VPWR
T41 SIGRTN
Transit Connect 190-PIN T18 HTR12
E52 HTR11
T16 HO2S12
E11 HO2S11
B67 VPWR
T40 SIGRTN
All other vehicles 190-PIN T28 UO2SPC21
T29 UO2SPC11
T49 HTR22
T47 HTR12
T27 HO2S22
T18 HO2S12
B67 VPWR
T26 SIGRTN