LEMON Manuals: Even more car manuals for everyone
Home >> Lincoln >> 2012 >> MKT Base, AWD >> Repair and Diagnosis >> Engine Performance >> Remove, Overhaul & Install >> Engine Controls - Electronic Engine Controls >> Removal And Installation >> Mass Air Flow (MAF) Sensor >> Notes

Mass Air Flow (MAF) Sensor: Notes

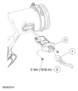
Fig 1: Exploded View Of Mass Air Flow (MAF) Sensor With Torque Specifications
G06064198Courtesy of FORD MOTOR CO.
Item Part Number Description
1 14A464 Mass Air Flow (MAF) sensor electrical connector
2 W709287 MAF sensor screw (2 required)
3 12B579 MAF sensor