LEMON Manuals: Even more car manuals for everyone
Home >> Lincoln >> 2005 >> Town Car Protection Series >> Repair and Diagnosis >> Heating, Ventilation & A/C (HVAC) >> HVAC Control Systems >> Climate Control System-General Information >> Diagnosis And Testing >> Climate Control System >> Pinpoint Tests >> Pinpoint Test H: No Communication With The Dual Automatic Temperature Control Module

Pinpoint Test H: No Communication With The Dual Automatic Temperature Control Module

  1. H1 CHECK CIRCUIT 676 (PK/OG) FOR AN OPEN 
    • Key in OFF position.
    • Disconnect: DATC Module C228a.
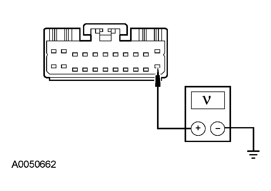
    • Measure the resistance between the DATC module C228a-2, circuit 676 (PK/OG) and ground.
      Fig 1: Measuring Resistance Between DATC Module C228a-2, Circuit 676 (PK/OG) And Ground
      G03924291Courtesy of FORD MOTOR CO.
    • Is the resistance less than 5 ohms? 
    • Yes  : GO to  H2.
    • No  : REPAIR circuit 676 (PK/OG) for an open. TEST the system for normal operation.
  2. H2 CHECK CIRCUIT 729 (RD/WH) FOR B+ 
    • Disconnect: DATC module C228b.
    • Measure the voltage between the DATC module C228b-11, circuit 729 (RD/WH) and ground.
      Fig 2: Measuring Voltage Between DATC Module C228b-11, Circuit 729 (RD/WH) And Ground
      G04002920Courtesy of FORD MOTOR CO.
    • Is the voltage B+? 
    • Yes  : GO to  H3.
    • No  : REPAIR circuit 729 (RD/WH) for an open. TEST the system for normal operation.
  3. H3 CHECK CIRCUIT 1040 (RD/BK) FOR B+ 
    • Key in ON position.
    • Measure the voltage between the DATC module C228b-22, circuit 1040 (RD/BK) and ground.
      Fig 3: Measuring Voltage Between DATC Module C228b-22, Circuit 1040 (RD/BK) And Ground
      G04002921Courtesy of FORD MOTOR CO.
    • Is the voltage B+? 
    • Yes  : REFER to MODULE COMMUNICATIONS NETWORK to diagnose a network concern.
    • No  : REPAIR circuit 1040 (RD/BK) for an open. TEST the system for normal operation.