LEMON Manuals: Even more car manuals for everyone
Home >> Lincoln >> 2005 >> Town Car Protection Series >> Repair and Diagnosis >> Engine Performance >> Engine Control Systems >> Acceleration Control System >> Removal And Installation >> Accelerator Pedal >> Removal and Installation

Removal and Installation

  1. Disconnect the battery ground cable. For additional information, Refer to BATTERY, MOUNTING AND CABLES .
  2. Disconnect the accelerator pedal sensor electrical connector.
    Fig 1: Disconnecting Accelerator Pedal Sensor Electrical Connector
    G04002783Courtesy of FORD MOTOR CO.
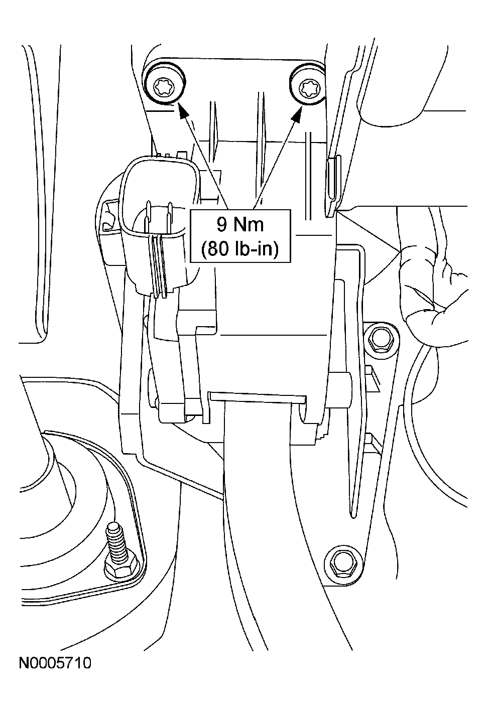
  3. Remove the two bolts and the accelerator pedal assembly.
    Fig 2: Removing Two Bolts And Accelerator Pedal Assembly
    G04002784Courtesy of FORD MOTOR CO.
  4. To install, reverse the removal procedure.