LEMON Manuals: Even more car manuals for everyone
Home >> Lincoln >> 2005 >> Aviator AWD >> Repair and Diagnosis (Single Page) >> Heating, Ventilation & A/C (HVAC) >> General Servicing >> Climate Control System-General Information >> Diagnosis And Testing >> Climate Control System >> Connector Circuit Reference >> DATC Module C228a

DATC Module C228a

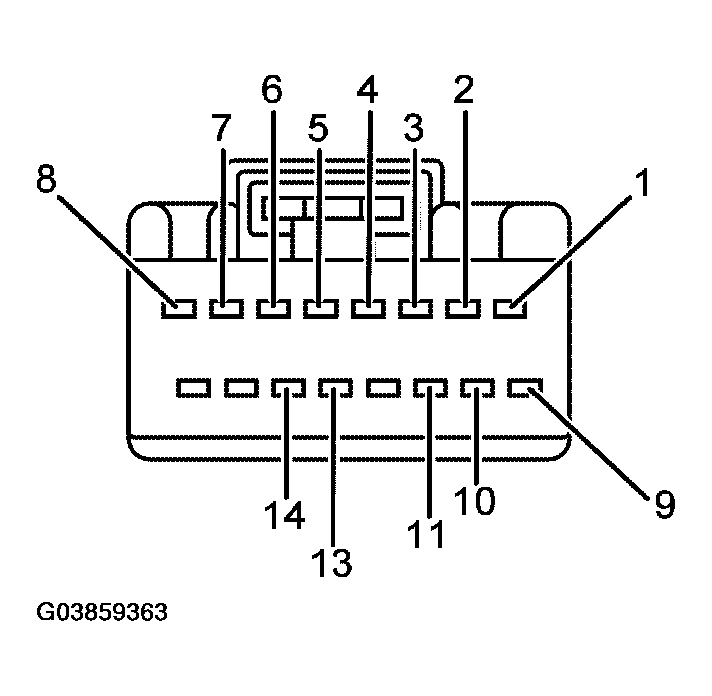
Fig 1: Identifying DATC Module C228a Connector Pinouts
G03859363Courtesy of FORD MOTOR CO.
DATC MODULE C228A CONNECTOR PINOUTS REFERENCE

Pin Number(s) Circuit Designation/Description Normal Condition/Measurement
1 CKT 780 (DB) DATC module to blend door actuator Greater than 10,000 ohms to chassis ground and 0 volts.
2 CKT 1502 (BK/YE) DATC module to ATC solenoid and manifold Greater than 10,000 ohms to chassis ground and 0 volts.
3 CKT 1501 (BK) DATC module to ATC solenoid and manifold Greater than 10,000 ohms to chassis ground and 0 volts.
4 CKT 755 (BN/WH) DATC module to front blower motor speed control module Approximately 222 ohms to chassis ground.
5 CKT 299 (DG) DATC module to temperature blend door actuator (RH) Greater than 10,000 ohms to chassis ground and 0 volts.
6 CKT 300 (OG) DATC module to temperature blend door actuator (RH) Greater than 10,000 ohms to chassis ground and 0 volts.
7 CKT 291 (BK) DATC module to temperature blend door actuator (LH) Greater than 10,000 ohms to chassis ground and 0 volts.
8 CKT 290 (GY) DATC module to temperature blend door actuator (LH) Greater than 10,000 ohms to chassis ground and 0 volts.
9 CKT 1070 (BN/LB) DATC module to ATC solenoid and manifold Greater than 10,000 ohms to chassis ground and 0 volts.
10 CKT 1503 (BK/LB) DATC module to ATC solenoid and manifold Greater than 10,000 ohms to chassis ground and 0 volts.
11 CKT 1504 (RD/WH) DATC module to ATC solenoid and manifold Greater than 10,000 ohms to chassis ground and 0 volts.
13 CKT 575 (YE/BK) blower motor relay control Approximately 75 ohms to chassis ground.
14 CKT 1069 (OG/LB) DATC module to ATC solenoid and manifold Greater than 10,000 ohms to chassis ground and 0 volts.