LEMON Manuals: Even more car manuals for everyone
Home >> Lincoln >> 2005 >> Aviator AWD >> Repair and Diagnosis (Single Page) >> Accessories & Equipment >> Communication Devices >> MULTIFUNCTION Electronic Control Modules >> Diagnosis And Testing >> Driver Seat Module (DSM) >> Connector Circuit Reference >> Driver Seat Module (DSM) C341e

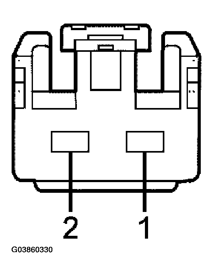
Driver Seat Module (DSM) C341e

Fig 1: Identifying Driver Seat Module (DSM) C341e Connector
G03860330Courtesy of FORD MOTOR CO.
DRIVER SEAT MODULE (DSM) C341E CONNECTOR TERMINAL PIN REFERENCE

Pin Number(s) Circuit Designation/Description Normal Condition/Measurement
1 566 (DG) voltage Greater than 10 volts at the DSM connector.
2 1205 (BK) ground Less than 5 ohms between the DSM connector and ground.