LEMON Manuals: Even more car manuals for everyone
Home >> Lincoln >> 2004 >> Aviator AWD >> Repair and Diagnosis >> External Pages >> Different car >> Section 510 (Module Communications Network System) >> General Procedures >> Communication Circuit Wiring Repair

Communication Circuit Wiring Repair

WARNING: This page is about a different car, the 2004 Lincoln Town Car. However, it is still accessible from the selected car via links, so may be relevant.

Special Tool(s) 

Fig 1: Identifying Special Tool(s)
G03250148Courtesy of FORD MOTOR CO.
  1. Disconnect the battery ground cable. For additional information, refer to BATTERY, MOUNTING AND CABLES .
  2. Strip the wires.
    Fig 2: Striping Wires
    G03250149Courtesy of FORD MOTOR CO.
  3. NOTE: Use rosin core mildly activated (RMA) solder, not acid core solder.
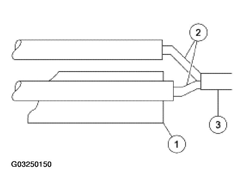
    Fig 3: Soldering Wires
    G03250150Courtesy of FORD MOTOR CO.
  4. Solder the wires.
    1. Install the heat shrink tube.
    2. Twist the wires together.
    3. Solder the wires together.
  5. NOTE: Wait for the solder to cool before moving the wires.
    Fig 4: Bending Wires Back In A Straight Line
    G03250151Courtesy of FORD MOTOR CO.
  6. Bend the wires back in a straight line.
  7. Position the (A) heat shrink tube over the (B) wire repair.
    • Overlap the heat shrink tube on both wires.
    Fig 5: Overlapping Heat Shrink Tube On Both Wires
    G03250152Courtesy of FORD MOTOR CO.
  8. Use the heat gun to heat the repaired area until adhesive flows out both ends of the heat shrink tube.
    Fig 6: Identifying Proper Adhesive Flow From Heat Shrink Tube
    G03250153Courtesy of FORD MOTOR CO.
  9. Reconnect the battery ground cable.