LEMON Manuals: Even more car manuals for everyone
Home >> Lincoln >> 2004 >> Aviator AWD >> Repair and Diagnosis >> External Pages >> Different car >> Section 358 (Module Communications Network) >> Diagnosis And Testing >> Communications Network >> Connector Circuit Reference

Connector Circuit Reference

WARNING: This page is about a different car, the 2003 Lincoln Aviator. However, it is still accessible from the selected car via links, so may be relevant.
Fig 1: Identifying Data Link C251 Connector Terminals And Specification (1 Of 2)
G01637706Courtesy of FORD MOTOR CO.
Fig 2: Identifying Data Link C251 Connector Terminals And Specification (2 Of 2)
G01637707Courtesy of FORD MOTOR CO.
Fig 3: Identifying Vehicle Security Module C3008f Connector Terminals And Specification (1 Of 2)
G01637708Courtesy of FORD MOTOR CO.
Fig 4: Identifying Vehicle Security Module C3008f Connector Terminals And Specification (2 Of 2)
G01637709Courtesy of FORD MOTOR CO.
Fig 5: Identifying Four-Wheel Drive (4WD) Control Module C281b Connector Terminals And Specification (1 Of 2)
G01637710Courtesy of FORD MOTOR CO.
Fig 6: Identifying Four-Wheel Drive (4WD) Control Module C281b Connector Terminals And Specification (2 Of 2)
G01637711Courtesy of FORD MOTOR CO.
Fig 7: Identifying Driver Climate Controlled Seat Module C3031b Connector Terminals And Specification (1 Of 2)
G01637712Courtesy of FORD MOTOR CO.
Fig 8: Identifying Driver Climate Controlled Seat Module C3031b Connector Terminals And Specification (2 Of 2)
G01637713Courtesy of FORD MOTOR CO.
Fig 9: Identifying Passenger Climate Controlled Seat Module C3036b Connector Terminals And Specification (1 Of 2)
G01637714Courtesy of FORD MOTOR CO.
Fig 10: Identifying Passenger Climate Controlled Seat Module C3036b Connector Terminals And Specification (2 Of 2)
G01637715Courtesy of FORD MOTOR CO.
Fig 11: Identifying Driver Seat Module C341g Connector Terminals And Specification (1 Of 2)
G01637716Courtesy of FORD MOTOR CO.
Fig 12: Identifying Driver Seat Module C341g Connector Terminals And Specification (2 Of 2)
G01637717Courtesy of FORD MOTOR CO.
Fig 13: Identifying Parking Aid Module C4014 Connector Terminals And Specification (1 Of 2)
G01637718Courtesy of FORD MOTOR CO.
Fig 14: Identifying Parking Aid Module C4014 Connector Terminals And Specification (2 Of 2)
G01637719Courtesy of FORD MOTOR CO.
Fig 15: Identifying Parking Aid Module C4014 Connector Terminals And Specification (1 Of 2)
G01637720Courtesy of FORD MOTOR CO.
Fig 16: Identifying Parking Aid Module C4014 Connector Terminals And Specification (2 Of 2)
G01637721Courtesy of FORD MOTOR CO.
Fig 17: Identifying In-line C311M,C311F Connector Terminals And Specification (1 Of 2)
G01637722Courtesy of FORD MOTOR CO.
Fig 18: Identifying In-line C311M,C311F Connector Terminals And Specification (2 Of 2)
G01637723Courtesy of FORD MOTOR CO.
Fig 19: Identifying In-line C328M,C328F Connector Terminals And Specification (1 Of 2)
G01637724Courtesy of FORD MOTOR CO.
Fig 20: Identifying In-line C328M,C328F Connector Terminals And Specification (2 Of 2)
G01637725Courtesy of FORD MOTOR CO.
Fig 21: Identifying In-line C316M,C316F Connector Terminals And Specification (1 Of 2)
G01637726Courtesy of FORD MOTOR CO.
Fig 22: Identifying In-line C316M,C316F Connector Terminals And Specification (2 Of 2)
G01637727Courtesy of FORD MOTOR CO.
Fig 23: Identifying In-line C263M, C263F Connector Terminals And Specification (1 Of 2)
G01637728Courtesy of FORD MOTOR CO.
Fig 24: Identifying In-line C263M, C263F Connector Terminals And Specification (2 Of 2)
G01637729Courtesy of FORD MOTOR CO.
Fig 25: Identifying In-line C408M,C408F Connector Terminals And Specification (1 Of 2)
G01637730Courtesy of FORD MOTOR CO.
Fig 26: Identifying In-line C408M,C408F Connector Terminals And Specification (2 Of 2)
G01637731Courtesy of FORD MOTOR CO.
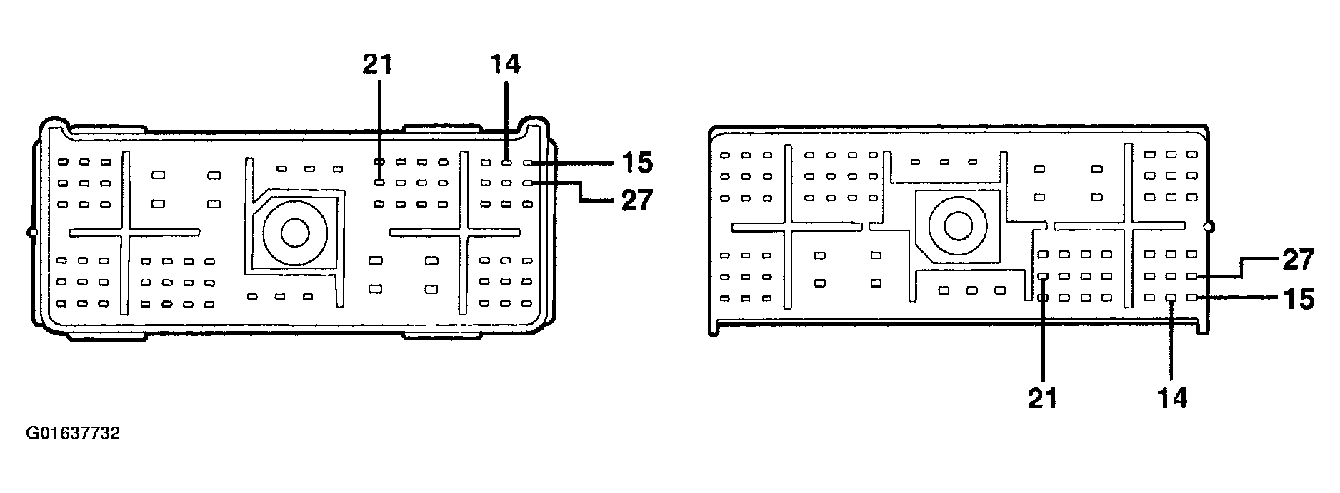
Fig 27: Identifying In-line C212M,C212F Connector Terminals And Specification (1 Of 2)
G01637732Courtesy of FORD MOTOR CO.
Fig 28: Identifying In-line C212M,C212F Connector Terminals And Specification (2 Of 2)
G01637733Courtesy of FORD MOTOR CO.
Fig 29: Identifying Instrument Cluster C220b Connector Terminals And Specification (1 Of 2)
G01637734Courtesy of FORD MOTOR CO.
Fig 30: Identifying Instrument Cluster C220b Connector Terminals And Specification (2 Of 2)
G01637735Courtesy of FORD MOTOR CO.
Fig 31: Identifying Dual Electronic Automatic Temperature Control C228b Connector Terminals And Specification (1 Of 3)
G01637736Courtesy of FORD MOTOR CO.
Fig 32: Identifying Dual Electronic Automatic Temperature Control C228b Connector Terminals And Specification (2 Of 3)
G01637737Courtesy of FORD MOTOR CO.
Fig 33: Identifying Dual Electronic Automatic Temperature Control C228b Connector Terminals And Specification (3 Of 3)
G01637738Courtesy of FORD MOTOR CO.
Fig 34: Identifying Variable Assist Power Steering Module C2231b Connector Terminals And Specification (1 Of 2)
G01637739Courtesy of FORD MOTOR CO.
Fig 35: Identifying Variable Assist Power Steering Module C2231b Connector Terminals And Specification (2 Of 2)
G01637740Courtesy of FORD MOTOR CO.
Fig 36: Identifying Tire Pressure Monitor Module C3183 Connector Terminals And Specification (1 Of 2)
G01637741Courtesy of FORD MOTOR CO.
Fig 37: Identifying Tire Pressure Monitor Module C3183 Connector Terminals And Specification (2 Of 2)
G01637742Courtesy of FORD MOTOR CO.
Fig 38: Identifying Powertrain Control Module C175b Connector Terminals And Specification (1 Of 2)
G01637743Courtesy of FORD MOTOR CO.
Fig 39: Identifying Powertrain Control Module C175b Connector Terminals And Specification (2 Of 2)
G01637744Courtesy of FORD MOTOR CO.
Fig 40: Identifying ABS/TC Module or Stability Assist Module C155 Connector Terminals And Specification (1 Of 2)
G01637745Courtesy of FORD MOTOR CO.
Fig 41: Identifying ABS/TC Module or Stability Assist Module C155 Connector Terminals And Specification (2 Of 2)
G01637746Courtesy of FORD MOTOR CO.
Fig 42: Identifying Navigation Module C4209 Connector Terminals And Specification (1 Of 2)
G01637747Courtesy of FORD MOTOR CO.
Fig 43: Identifying Navigation Module C4209 Connector Terminals And Specification (2 Of 2)
G01637748Courtesy of FORD MOTOR CO.