LEMON Manuals: Even more car manuals for everyone
Home >> Lincoln >> 2003 >> Aviator AWD >> Repair and Diagnosis >> Engine Mechanical >> Mechanical >> Engine >> Assembly >> Engine

Engine Mechanical: Mechanical: Engine: Assembly: Engine

Fig 1: Special Tool(s) (1 Of 3)
G01634590Courtesy of FORD MOTOR CO.
Fig 2: Special Tool(s) (2 Of 3)
G01634591Courtesy of FORD MOTOR CO.
Fig 3: Special Tool(s) (3 Of 3)
G01634592Courtesy of FORD MOTOR CO.
Fig 4: Material Specifications
G01634593Courtesy of FORD MOTOR CO.
CAUTION: If the supply manifold is used as a leverage device, damage can occur to the supply manifold. Care must be taken when working around the fuel supply manifold.
NOTE: Before engine assembly, use metal surface cleaner and a suitable plastic or wooden scraper to clean the sealing surfaces. All sealing surfaces must be clean. Make sure coolant and oil passages are clear.
  1. Assemble the components in the order indicated in the following illustration.
    Fig 5: Engine Assembly Procedure (Steps 1-17)
    G01634594Courtesy of FORD MOTOR CO.
  2. Assemble the components in the order indicated in the following illustration.
    Fig 6: Engine Assembly Procedure (Steps 18-23)
    G01634595Courtesy of FORD MOTOR CO.
  3. Assemble the components in the order indicated in the following illustration.
    Fig 7: Engine Assembly Procedure (Steps 24-45)
    G01634596Courtesy of FORD MOTOR CO.
  4. Assemble the components in the order indicated in the following.
    Fig 8: Engine Assembly Procedure (Steps 46-56)
    G01634597Courtesy of FORD MOTOR CO.
  5. Assemble the components in the order indicated in the following illustration.
    Fig 9: Engine Assembly Procedure (Steps 57-70)
    G01634598Courtesy of FORD MOTOR CO.
  6. Assemble the components in the order indicated in the following illustration.
    Fig 10: Engine Assembly Procedure (Steps 71-84)
    G01634599Courtesy of FORD MOTOR CO.
  7. Assemble the components in the order indicated in the following illustration.
    Fig 11: Engine Assembly Procedure (Steps 85-102)
    G01634600Courtesy of FORD MOTOR CO.
  8. Assemble the components in the order indicated in the following illustration.
    Fig 12: Engine Assembly Procedure (Steps 103-133)
    G01634601Courtesy of FORD MOTOR CO.
  9. Assemble the components in the order indicated in the following illustration.
    Fig 13: Engine Assembly Procedure (Steps 134-152)
    G01634602Courtesy of FORD MOTOR CO.
  10. Assemble the components in the order indicated in the following illustration.
    Fig 14: Engine Assembly Procedure (Steps 153-164)
    G01634603Courtesy of FORD MOTOR CO.
  11. Assemble the components in the order indicated in the following illustration.
    Fig 15: Engine Assembly Procedure (Steps 165-168)
    G01634604Courtesy of FORD MOTOR CO.
  12. Assemble the components in the order indicated in the following illustration.
    Fig 16: Engine Assembly Procedure (Steps 169-185)
    G01634605Courtesy of FORD MOTOR CO.
  13. Assemble the components in the order indicated in the following illustration.
    Fig 17: Engine Assembly Procedure (Steps 186-193)
    G01634606Courtesy of FORD MOTOR CO.

Item 6: Crankshaft Main Lower Bearing Thrust Washer Assembly Note 

    CAUTION: Make sure the coated side of the thrust washer, with the 5-mm wide oil grooves, faces the crankshaft thrust surface.
    Fig 18: Installing Crankshaft Thrust Washer
    G01634607Courtesy of FORD MOTOR CO.
  1. Push the crankshaft rearward and install the crankshaft thrust washer at the back of the No. 5 main boss.

Items 7-10: Crankshaft Main Bearing Cap Assembly Note 

  1. Loosely install the main bearing caps and bolts.
    Fig 19: Installing Main Bearing Caps And Bolts
    G01634608Courtesy of FORD MOTOR CO.
  2. Push the crankshaft forward to seat the crankshaft thrust washer and hold the crankshaft in the forward position.
    Fig 20: Seating Crankshaft Thrust Washer
    G01634609Courtesy of FORD MOTOR CO.
  3. Tighten the bolts in the sequence shown in four stages:
    • Stage 1: Tighten to 10 Nm (89 lb-in).
    • Stage 2: Tighten to 25 Nm (18 lb-ft).
    • Stage 3: Tighten to 40 Nm (30 lb-ft).
    • Stage 4: Tighten an additional 90 degrees.
      Fig 21: Identifying Tightening Sequence Of Crankshaft Main Bearing Cap Assembly Bolt
      G01634610Courtesy of FORD MOTOR CO.

Item 11: Crankshaft Main Bearing Cap Side Bolts Assembly Note 

  1. Install and tighten the cross-mounted bolts in two stages:
    • Stage 1: Tighten to 40 Nm (30 lb-ft).
    • Stage 2: Tighten an additional 90 degrees.
      Fig 22: Installing Cross-Mounted Bolts
      G01634611Courtesy of FORD MOTOR CO.
  2. Check the crankshaft end play. For additional information, refer to ENGINE SYSTEM - GENERAL INFORMATION .

Items 13 and 16: Piston and Connecting Rod Assembly Note 

    CAUTION: Do not scratch the cylinder walls or crankshaft journals with the connecting rod.
    NOTE: Make sure that the piston arrow is facing forward.
    NOTE: Lubricate the piston rings, cylinder walls and connecting rod bearings with clean engine oil.
    Fig 23: Identifying Piston Ring Compressor
    G01634612Courtesy of FORD MOTOR CO.
  1. Using the special tool, push the pistons through the top of the cylinder block.
  2. CAUTION: Do not scratch the cylinder walls or the crankshaft journals with the connecting rod.
    NOTE: Make sure the crankshaft is at top dead center (TDC).
    Fig 24: Installing Connecting Rod Assemblies
    G01634613Courtesy of FORD MOTOR CO.
  3. Using the special tool, install the connecting rod assemblies.
  4. NOTE: The rod bearing cap bolts are torque-to-yield. Install new bolts each time they are serviced.
  5. Install the connecting rod bearing caps and bolts and tighten in three stages:
    • Stage 1: Tighten to 25 Nm (18 lb-ft).
    • Stage 2: Tighten to 45 Nm (33 lb-ft).
    • Stage 3: Tighten an additional 90 degrees.
      Fig 25: Locating Connecting Rod Bearing Caps Bolts
      G01634614Courtesy of FORD MOTOR CO.
  6. Check the connecting rod bearing clearance. For additional information, refer to ENGINE SYSTEM - GENERAL INFORMATION .

Items 20 and 23: Cylinder Head Bolt Assembly Note 

    NOTE: The LH is shown; the RH is similar.
    NOTE: Lubricate the bolt heads and threads with clean engine oil.
  1. Tighten the cylinder head bolts in six stages in the sequence shown:
    • Stage 1: Tighten to 40 Nm (30 lb-ft).
    • Stage 2: Tighten an additional 90 degrees.
    • Stage 3: Loosen the bolts a minimum of one full turn.
    • Stage 4: Tighten to 40 Nm (30 lb-ft).
    • Stage 5: Tighten an additional 90 degrees.
    • Stage 6: Tighten an additional 90 degrees.
      Fig 26: Identifying Tightening Sequence Of Cylinder Head Bolts
      G01634615Courtesy of FORD MOTOR CO.

Item 35-37: Crankshaft Gear and LH/RH Timing Chain Assembly Note 

  1. Install the crankshaft sprocket with the flange facing forward.
    Fig 27: Installing Crankshaft Sprocket With Flange Facing Forward
    G01634616Courtesy of FORD MOTOR CO.
  2. CAUTION: Rotate the crankshaft counterclockwise only. Do not rotate past the position shown or severe piston and/or valve damage will occur.
  3. Using the special tool, position the crankshaft.
    • Remove the special tool.
      Fig 28: Positioning Crankshaft
      G01634617Courtesy of FORD MOTOR CO.
  4. Rotate the LH camshaft timing sprocket until the timing mark is approximately at the 12 o'clock position. Rotate the RH camshaft timing sprocket until the timing mark is at approximately the 11 o'clock position.
    Fig 29: Aligning Timing Mark Of Camshaft Timing Sprocket
    G01634618Courtesy of FORD MOTOR CO.
  5. If the copper links are not visible, mark one link on one end and one link on the other end, and use as timing marks.
    Fig 30: Identifying Mark One Link On One End And One Link On Other End
    G01634619Courtesy of FORD MOTOR CO.
  6. Install the LH and RH timing chain onto the crankshaft sprocket, aligning the one copper link on the timing chain with the slot on the crankshaft sprocket.
    Fig 31: Installing Timing Chain (LH Is Shown; RH is Similar)
    G01634620Courtesy of FORD MOTOR CO.
  7. NOTE: If necessary, adjust the camshaft sprocket slightly to obtain timing mark alignment.
  8. Position the RH timing chain on the camshaft sprocket. Make sure the two copper-colored links align with the camshaft sprocket timing mark.

Items 39 and 42: LH/RH Timing Chain Tensioner Assembly Note 

    CAUTION: Timing chain procedures must be followed exactly or damage to valves and pistons will result.
    Fig 32: Compressing Tensioner Plunger
    G01634621Courtesy of FORD MOTOR CO.
  1. Compress the tensioner plunger, using a vise.
  2. Install a retaining clip on the tensioner to hold the plunger in during installation.
    Fig 33: Installing Retaining Clip On Tensioner
    G01634622Courtesy of FORD MOTOR CO.

Item 44: Crankshaft Sensor Ignition Pulse Ring Assembly Note 

  1. As a post-check, verify correct alignment of all timing marks.
    Fig 34: Aligning Of All Timing Marks
    G01634623Courtesy of FORD MOTOR CO.
  2. NOTE: The crankshaft sensor ring teeth face away from the engine block.
    Fig 35: Positioning Crankshaft Sensor Ring On Crankshaft
    G01634624Courtesy of FORD MOTOR CO.
  3. Position the crankshaft sensor ring on the crankshaft.

Item 45: Camshaft Roller Followers Assembly Note 

  1. Position the piston of the cylinder in which the roller followers are being installed at the bottom of the stroke, and camshaft lobe at the base circle.
  2. Using the special tool, compress the intake valve spring and install the roller follower.
    Fig 36: Compressing Intake Valve Spring And Installing Roller Follower
    G01634625Courtesy of FORD MOTOR CO.
  3. Using the special tool, compress the exhaust valve spring and install the roller follower.
    Fig 37: Compressing Exhaust Valve Spring And Installing Roller Follower
    G01634626Courtesy of FORD MOTOR CO.
  4. Repeat the above steps to install all of the roller followers.

Item 48: Oil Pan Bolts Assembly Note 

  1. Tighten the bolts in the sequence shown.
    • Tighten to 20 Nm (15 lb-ft).
    • Rotate an additional 60 degrees.
      Fig 38: Identifying Tightening Sequence Of Oil Pan Bolts
      G01634627Courtesy of FORD MOTOR CO.

Item 49: Engine Front Cover Assembly Note 

    NOTE: If the engine front cover is not secured within four minutes, the sealant must be removed and the sealing area cleaned with metal surface cleaner. Allow to dry until there is no sign of wetness, or four minutes, whichever is longer. Failure to follow this procedure can result in future oil leakage.
    Fig 39: Locating Sealant Area
    G01634628Courtesy of FORD MOTOR CO.
    Fig 40: Identifying Installing Sequence Of Engine Front Cover Bolts And Studs
    G01634629Courtesy of FORD MOTOR CO.
  1. Apply silicone gasket and sealant in the locations shown.
  2. Install the engine front cover.
    Fig 41: Identifying Installing Sequence Of Oil Pan Bolts
    G01634630Courtesy of FORD MOTOR CO.
  3. Tighten the four oil pan bolts in the sequence shown:
    • Stage 1: Tighten to 2 Nm (18 lb-in).
    • Stage 2: Tighten to 20 Nm (15 lb-ft).
    • Stage 3: Tighten an additional 60 degrees.

Item 50: Crankshaft Front Seal Assembly Note 

  1. Lubricate the front oil seal and the engine front cover with clean engine oil.
    Fig 42: Lubricating Front Oil Seal And Engine Front Cover With Clean Engine Oil
    G01634631Courtesy of FORD MOTOR CO.
  2. Using the special tools, install the front oil seal.
    Fig 43: Installing Front Oil Seal
    G01634632Courtesy of FORD MOTOR CO.

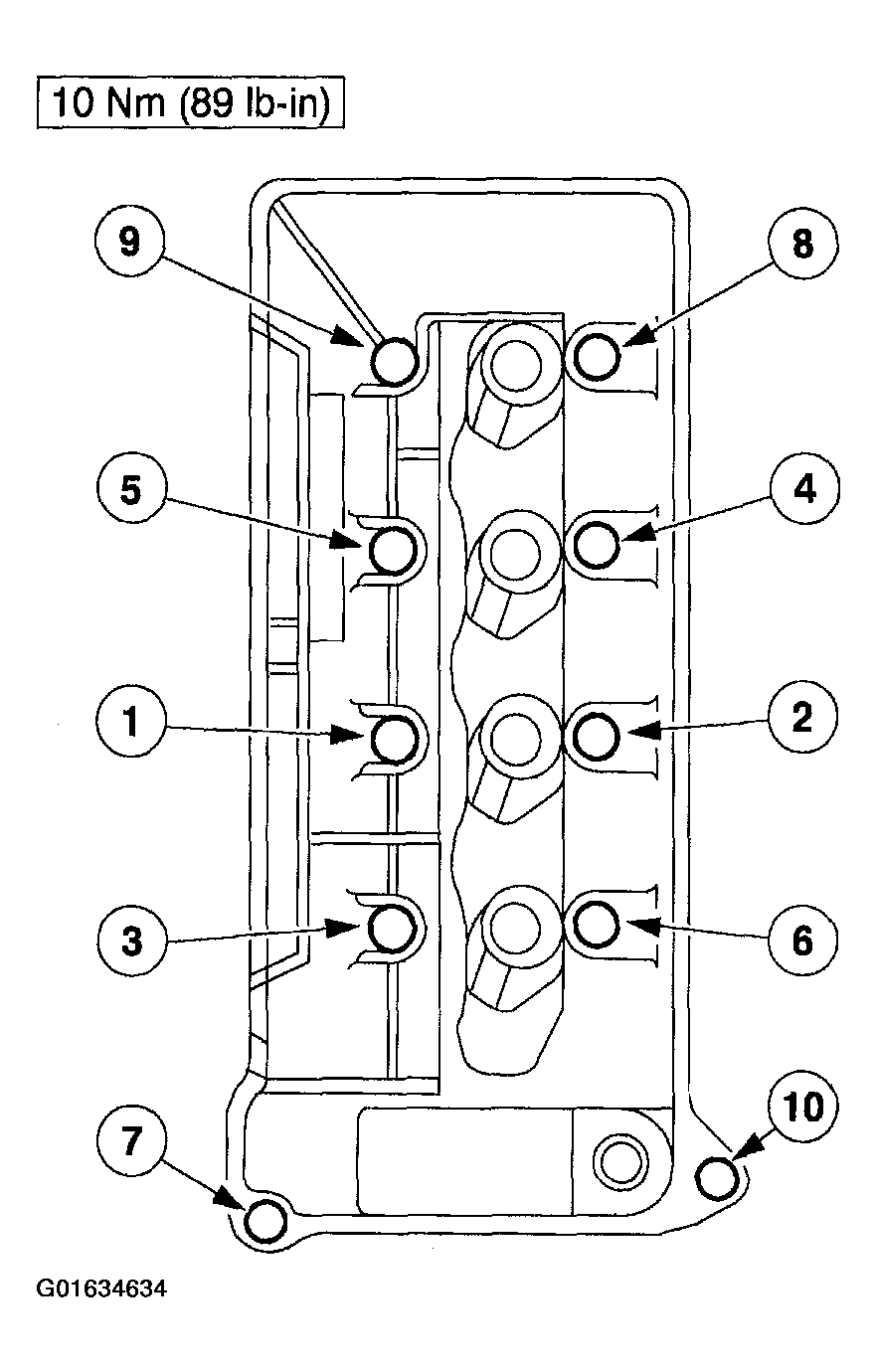
Items 64-66 and 73-75: Valve Rocker Arm Cover Assembly Note 

    NOTE: If the valve cover is not secured within four minutes, the sealant must be removed and the sealing area cleaned with metal surface cleaner. Allow to dry until there is no sign of wetness, or four minutes, whichever is longer. Failure to follow this procedure can result in future oil leakage.
    Fig 44: Locating Applying Silicone Gasket And Sealant Area
    G01634633Courtesy of FORD MOTOR CO.
  1. Apply silicone gasket and sealant in the locations shown.
  2. NOTE: The RH is shown; the LH is similar.
    Fig 45: Identifying Tightening Sequence Of Valve Rocker Arm Covers Bolts
    G01634634Courtesy of FORD MOTOR CO.
  3. Install the valve rocker arm covers and tighten the bolts in the sequence shown.

Item 87: Intake Manifold Bolts Assembly Note 

  1. Hand-start all fasteners.
  2. Tighten all fasteners in the sequence shown to 10 Nm (89 lb-in).
    Fig 46: Identifying Tightening Sequence Of Intake Manifold Bolts
    G01634635Courtesy of FORD MOTOR CO.

Items 123 and 124: Crankshaft Vibration Damper and Bolt Assembly Note 

  1. Apply silicone gasket and sealant to the Woodruff key on the crankshaft pulley.
    Fig 47: Locating Woodruff Key On Crankshaft Pulley
    G01634636Courtesy of FORD MOTOR CO.
  2. Using the special tool, install the crankshaft pulley.
    Fig 48: Installing Crankshaft Pulley
    G01634637Courtesy of FORD MOTOR CO.
  3. Install the crankshaft pulley and tighten the bolt in four stages:
    • Stage 1: Tighten to 90 Nm (66 lb-ft).
    • Stage 2: Loosen the bolt one full turn.
    • Stage 3: Tighten to 50 Nm (37 lb-ft).
    • Stage 4: Tighten an additional 90 degrees.
      Fig 49: Installing Crankshaft Pulley And Tightening Bolt
      G01634638Courtesy of FORD MOTOR CO.

Items 155 and 156: Upper Intake Manifold Assembly Note 

  1. Hand-start all fasteners.
  2. Tighten all fasteners in the sequence shown to 10 Nm (89 lb-in).
    Fig 50: Identifying Tightening Sequence Of Upper Intake Manifold Bolt
    G01634639Courtesy of FORD MOTOR CO.

Items 186-188: Crankshaft Rear Seal Retainer Plate and Bolts, Oil Pan Bolts Assembly Note 

    NOTE: If not secured within four minutes, the sealant must be removed and the sealing area cleaned with metal surface cleaner. Allow to dry until there is no sign of wetness, or four minutes, whichever is longer. Failure to follow this procedure can result in future oil leakage.
    Fig 51: Applying Bead Of Silicone Gasket And Sealant On Rear Oil Seal Retainer Plate Sealing Surface
    G01634640Courtesy of FORD MOTOR CO.
  1. Apply a 4 mm (0.16 in) bead of silicone gasket and sealant around the rear oil seal retainer plate sealing surface. Also apply a bead of silicone gasket and sealant at the junction where the cylinder block, oil pan and rear oil seal retainer plate meet.
  2. Install the rear oil seal retainer plate. Tighten the bolts in the sequence shown.
    • Tighten bolts 1-6 to 10 Nm (89 lb-in).
    • Hand-tighten bolts 7 and 8.
    • Tighten bolts 7 and 8 to 20 Nm (15 lb-ft).
    • Tighten bolts 7 and 8 an additional 60 degrees.
      Fig 52: Identifying Tightening Sequence Of Rear Oil Seal Retainer Plate
      G01634641Courtesy of FORD MOTOR CO.

Item 189: Crankshaft Rear Seal Assembly Note 

  1. Using the special tool, install the crankshaft rear main seal.
    Fig 53: Installing Crankshaft Rear Main Seal
    G01634642Courtesy of FORD MOTOR CO.

Item 190: Crankshaft Oil Slinger Assembly Note 

  1. Using the special tools, install the crankshaft oil slinger.
    Fig 54: Installing Crankshaft Oil Slinger
    G01634643Courtesy of FORD MOTOR CO.

Item 193: Flexplate Bolts Assembly Note 

  1. Install the flywheel bolts in the sequence shown.
    Fig 55: Identifying Tightening Sequence Of Flexplate Bolts
    G01634644Courtesy of FORD MOTOR CO.