LEMON Manuals: Even more car manuals for everyone
Home >> Lincoln >> 2003 >> Aviator AWD >> Repair and Diagnosis (Single Page) >> Steering >> Steering Column >> Steering System >> Removal And Installation >> Variable Assist Power Steering (VAPS) Module

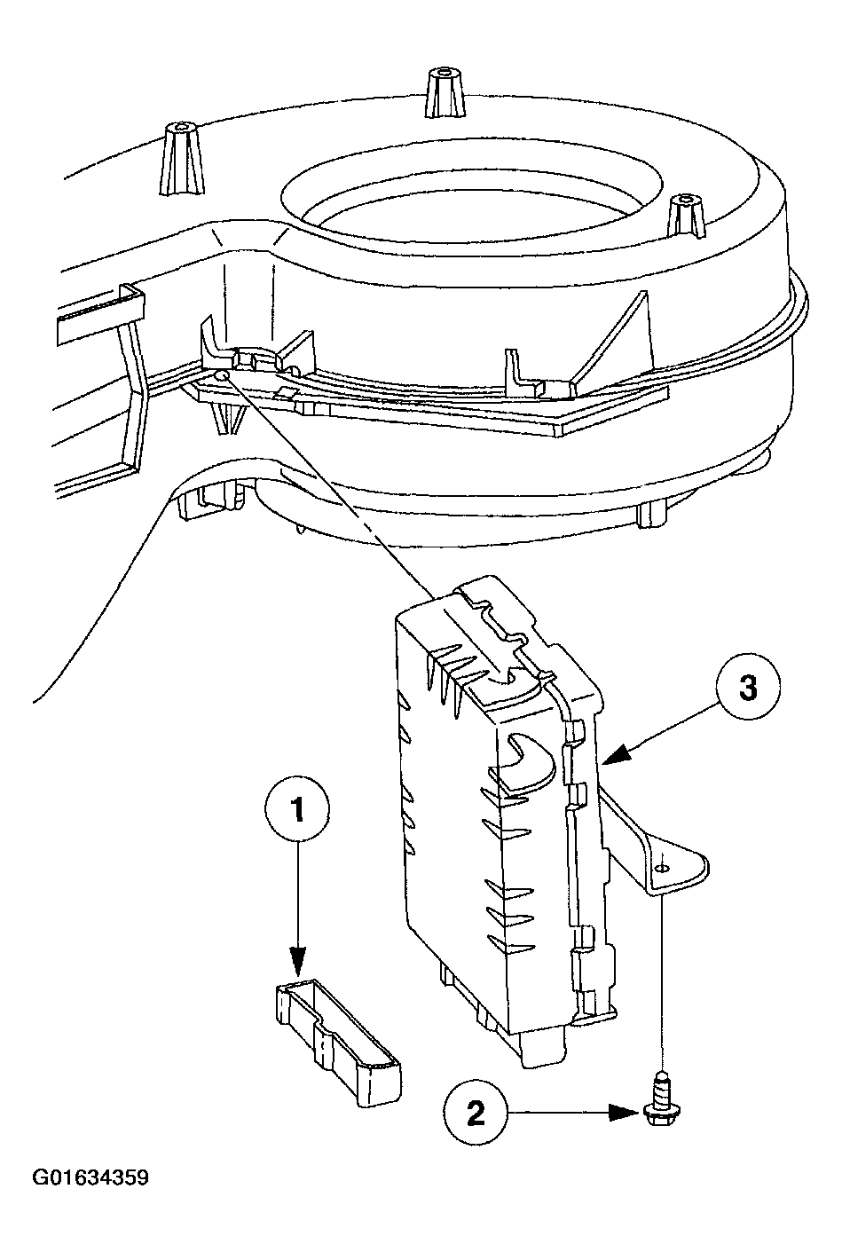
Variable Assist Power Steering (VAPS) Module

    NOTE: The variable assist power steering (VAPS) module is located under the RH side of the instrument panel, attached to the heater core and evaporator core housing.
    Fig 1: Removal Sequence Of Variable Assist Power Steering (VAPS) Module
    G01634359Courtesy of FORD MOTOR CO.
    Fig 2: Variable Assist Power Steering Table
    G01634361Courtesy of FORD MOTOR CO.
  1. Remove the components in the order indicated in the following illustration and table.
  2. To install, reverse the removal procedure.