LEMON Manuals: Even more car manuals for everyone
Home >> Lincoln >> 1997 >> Mark VIII Base >> Repair and Diagnosis >> Engine Performance >> System >> Engine Controls - Tests W/Codes >> Circuit Tests >> Circuit Test Kb - Fuel Pump Driver Module (FPDM) >> Diagnostic Aids

Diagnostic Aids

Perform this test when instructed during QUICK TEST or if directed by other test procedures. This test is used to diagnose the following:

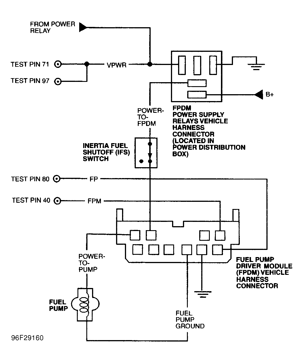
Fig 1: Identifying Fuel Pump Driver Module Test Circuit & Connector Terminals
G96F29160
  1. 1) DTC P1233 Or P1234  Turn ignition off. Connect scan tester to Data Link Connector (DLC). Turn ignition on. Using scan tester, access FPM PID. If FPM PID is 20-80 percent, go to step 25). If FPM PID is not 20-80 percent, go to next step.
  2. 2)  If engine will start, go to step 15). If engine will not start, verify IFS switch is set and go to next step.
  3. 3)  Turn ignition off. Disconnect FPDM wiring harness connector. Turn ignition on. Measure voltage between FPDM connector terminals GND and POWER-TO-FPDM. If voltage is 10.5 volts or more, replace FPDM and repeat QUICK TEST. If voltage is less than 10.5 volts, go to step 7).
    NOTE: A break in step numbering sequence occurs at this point. Procedure skips from step 3) to step 7). No test procedures have been omitted.
  4. 7)  Leave ignition on and FPDM disconnected. Measure voltage between chassis ground and POWER-TO-FPDM terminal of FPDM connector. If voltage is 10.5 volts or more, repair open ground circuit to FPDM and repeat QUICK TEST. If voltage is less than 10.5 volts, go to next step.
  5. 8)  Turn ignition off. Leave FPDM disconnected. Disconnect FPDM power supply relay. Measure voltage between chassis ground and B+ terminal of FPDM power supply relay connector. If voltage is 10.5 volts or more, go to next step. If voltage is less than 10.5 volts, check power supply fuse to FPDM. If fuse is blown, check for short to ground in B+ and POWER-TO-FPDM circuits. If power supply fuse to FPDM is okay, repair open circuit to FPDM and repeat QUICK TEST.
  6. 9)  Turn ignition off. Leave FPDM disconnected. Disconnect scan tester (if applicable). Measure resistance between negative battery terminal and ground terminal of FPDM power supply relay connector. If resistance is 5 ohms or more, repair open ground circuit to FPDM and repeat QUICK TEST. If resistance is less than 5 ohms, go to next step.
  7. 10) Check POWER-TO-FPDM Circuit Resistance  Leave ignition off. Measure resistance of POWER-TO-FPDM circuit between FPDM harness connector and FPDM power supply relay harness connector. If resistance is 5 ohms or more, go to step 13). If resistance is less than 5 ohms, reconnect FPDM and go to next step.
  8. 11) Check VPWR Circuit  Turn ignition on. Measure voltage between negative battery terminal and VPWR terminal of FPDM power supply relay connector. If voltage 10.5 volts or more, replace FPDM power supply relay and repeat QUICK TEST. If voltage is less than 10.5 volts, repair open in VPWR circuit and repeat QUICK TEST.
    NOTE: A break in step numbering sequence occurs at this point. Procedure skips from step 11) to step 13). No test procedures have been omitted.
  9. 13) Isolate Open In POWER-TO-FPDM Circuit  Leave ignition off. Leave FPDM and FPDM power supply relay disconnected. Disconnect IFS switch. Measure resistance of POWER-TO-FPDM terminal between FPDM harness connector and IFS switch harness connector. Measure resistance of POWER-TO-FPDM terminal between FPDM power supply relay harness connector and IFS switch harness connector. If each resistance is 5 ohms or less, verify IFS set button is depressed. Replace IFS switch and repeat QUICK TEST. If resistance is more than 5 ohms, repair open circuit and repeat QUICK TEST.
  10. 14)  Leave ignition off. Disconnect EEC-V power relay. Measure resistance of VPWR between EEV-V power relay harness connector and IFS switch harness connector. Measure resistance of VPWR terminal between FPDM harness connector and IFS switch harness connector. If each resistance is 5 ohms or less, verify IFS set button is depressed. Replace IFS switch and repeat QUICK TEST. If resistance is more than 5 ohms, repair open in VPWR circuit to the FPCM.
    Fig 2: Identifying EEC-V Power Relay Connector Terminals
    G95F12612
  11. 15) Check FPM Circuit  Leave ignition off and FPDM wiring harness connector disconnected. Disconnect PCM wiring harness connector. Inspect pins for damage and repair as necessary. Install EEC-V Breakout Box (014-000950), leaving PCM disconnected. Measure resistance between test pin No. 40 (FPM) at breakout box and FPM terminal of FPDM connector. If resistance is 5 ohms or less, go to next step. If resistance is more than 5 ohms, repair open in FPM circuit and repeat QUICK TEST.
  12. 16)  Leave FPDM disconnected. Turn ignition on. Measure voltage between test pin No. 40 and 51 (PWR GND) at breakout box. If voltage is one volt or less, go to next step. If voltage is more than one volt, repair FPM circuit short to power and repeat QUICK TEST.
  13. 17) Check FPM For Short To Ground  Leave FPDM disconnected. Turn ignition off. Disconnect scan tester from DLC (if applicable). Measure resistance between test pin No. 40 and test pins No. 51, 77 and 91 at breakout box. If each resistance measurement is 10,000 ohms or more, go to next step. If any resistance measurement is less than 10,000 ohms, repair circuit short to ground and repeat QUICK TEST.
  14. 18) Check FPM Output From FPDM  Reconnect FPDM. Turn ignition on. Measure voltage between test pins No. 40 and 51 (PWR GND) at breakout box. If voltage is 0.2-1.0 volt, replace PCM and repeat QUICK TEST. If voltage is not 0.2-1.0 volt, replace FPDM and repeat QUICK TEST.
    NOTE: A break in step numbering sequence occurs at this point. Procedure skips from step 18) to step 25). No test procedures have been omitted.
  15. 25) Check For Intermittent Short Or Open Circuit  Scan tester should be connected to DLC and in FPM PID. Observe FPM PID for indication of fault while lightly tapping on CCRM, FPDM and IFS switch. Fault will be indicated if FPM PID goes outside 20-80 percent range. Wiggle and bend all FPDM system related wiring harnesses and connectors. Lightly tap on CCRM, IFS switch and FPDM to simulate road shock. If any faults are found, isolate and repair as necessary. Repeat QUICK TEST. If no faults are found, problem cannot be duplicated at this time. Go to CIRCUIT TEST Z .
    NOTE: A break in step numbering sequence occurs at this point. Procedure skips from step 25) to step 30). No test procedures have been omitted.
  16. 30) DTC P0230, P1235 Or P1236  Turn ignition off. Connect scan tester to Data Link Connector (DLC). Turn ignition on. Using scan tester, access FPM PID. If FPM PID is not 20-30 percent, go to step 40). If FPM PID is 20-30 percent, go to next step.
  17. 31)  Turn ignition off. Disconnect FPDM wiring harness connector. Disconnect PCM wiring harness connector. Inspect pins for damage and repair as necessary. Install EEC-V Breakout Box (014-000950), leaving PCM disconnected. Measure resistance between test pin No. 80 (FP) at breakout box and FP terminal of FPDM connector. If resistance is 5 ohms or less, go to next step. If resistance is more than 5 ohms, repair open in FP circuit and repeat QUICK TEST.
  18. 32) Check FP Circuit  Leave FPDM disconnected. Turn ignition on. Measure voltage between test pin No. 51 (PWR GND) and 80 (FP) at breakout box. If voltage is one volt or less, go to next step. If voltage is more than one volt, repair FP circuit short to power and repeat QUICK TEST.
  19. 33)  Leave FPDM disconnected. Turn ignition off. Disconnect scan tester from DLC (if applicable). Measure resistance between test pin No. 80 and test pins No. 51, 76 and 91 at breakout box. If each resistance measurement is 10,000 ohms or more, go to next step. If any resistance measurement is less than 10,000 ohms, repair circuit short to ground and repeat QUICK TEST.
  20. 34) Check FP Circuit In FPDM  Reconnect FPDM. Turn ignition on. Measure voltage between test pin No. 51 (PWR GND) and 80 at breakout box. If voltage is 4.5-5.5 volts, replace PCM and repeat QUICK TEST. If voltage is not 4.5-5.5 volts, replace FPDM and repeat QUICK TEST.
    NOTE: A break in step numbering sequence occurs at this point. Procedure skips from step 34) to step 40). No test procedures have been omitted.
  21. 40) Check For Intermittent Short Or Open Circuit  Scan tester should be connected to DLC and in FPM PID. Observe FPM PID for indication of fault while lightly tapping on CCRM, FPDM and IFS switch. Fault will be indicated if fuel pump is turned on. Also, FPM PID will be 20-30 percent range. Wiggle and bend all FPDM system related wiring harnesses and connectors. If any faults are found, isolate and repair as necessary. Repeat QUICK TEST. If no faults are found, problem cannot be duplicated at this time. Go to CIRCUIT TEST Z .
    NOTE: A break in step numbering sequence occurs at this point. Procedure skips from step 40) to step 47). No test procedures have been omitted.
  22. 47) DTC P1237 Or P1238  Turn ignition off. Connect scan tester to Data Link Connector (DLC). Turn ignition on. Using scan tester, access FPM PID. If FPM PID is 70-80 percent, hard fault is present; go to next step. If FPM PID is not 70-80 percent, fault is intermittent; go to step 57).
  23. 48)  If engine will start, go to step 62). If engine will not start, go to next step.
  24. 49) Check Circuit Resistance  Turn ignition off. Disconnect scan tester (if applicable). Disconnect FPDM wiring harness connector. Measure resistance between FPDM connector terminals FUEL PUMP GROUND and POWER-TO-PUMP. If resistance is 10 ohms or more, go to step 54). If resistance is less than 10 ohms, go to next step.
  25. 50) Check Ground Circuit For Short To Power  Leave FPDM disconnected. Turn ignition on. Measure voltage between chassis ground and FUEL PUMP GROUND terminal at FPDM connector. If voltage is one volt or more, repair circuit short to power and repeat QUICK TEST. If voltage is less than one volt, go to next step.
  26. 51)  Turn ignition off. Ensure scan tester is disconnected. Disconnect fuel pump wiring harness connector. Measure resistance between negative battery terminal and POWER-TO-PUMP terminal at FPDM connector. If resistance is 10,000 ohms or more, go to next step. If resistance is less than 10,000 ohms, repair circuit short to ground and repeat QUICK TEST.
  27. 52) Check For Power To Fuel Pump  Leave ignition off and fuel pump disconnected. Reconnect FPDM and scan tester. Turn ignition on for about 2 seconds (to operate fuel pump) while measuring voltage between fuel pump terminals at connector. Turn ignition off. If voltage is 10 volts or more when fuel pump is operating, replace fuel pump and repeat QUICK TEST. If voltage is less than 10 volts when fuel pump is operating, verify battery is full charged. If battery is okay, replace FPDM and repeat QUICK TEST.
    NOTE: A break in step numbering sequence occurs at this point. Procedure skips from step 52) to step 54). No test procedures have been omitted.
  28. 54) Isolate Open Circuit  Turn ignition off. Disconnect FPDM. Measure resistance of POWER-TO-PUMP circuit between fuel pump and FPDM connector. Measure resistance of FUEL PUMP GROUND circuit between fuel pump and FPDM connector. Measure internal resistance of fuel pump. If each resistance measurement is less than 10 ohms, no faults are present. Verify results of previous steps. If any resistance measurement is 10 ohms or more, repair open circuit or replace fuel pump. Repeat QUICK TEST.
    NOTE: A break in step numbering sequence occurs at this point. Procedure skips from step 54) to step 57). No test procedures have been omitted.
  29. 57) Check Fuel Pump Secondary Circuit  Leave ignition on. Using scan tester, access Output Test Mode. Command outputs on (to activate fuel pump). Listen for fuel pump to activate. Listen to fuel pump for indication of fault while lightly tapping on fuel pump and FPDM. Fault will be indicated if fuel pump shuts off. Wiggle and bend POWER-TO-PUMP and FUEL PUMP GROUND circuit between fuel pump and FPDM. If any faults are found, isolate and repair as necessary. Repeat QUICK TEST. If no faults are found, problem cannot be duplicated at this time. Go to CIRCUIT TEST Z .
    NOTE: A break in step numbering sequence occurs at this point. Procedure skips from step 57) to step 60). No test procedures have been omitted.
  30. 60) Fuel Pump Always On; Check FPM PID  Turn ignition off. Connect scan tester to DLC. Turn ignition on. Using scan tester, access FPM PID. If FPM PID is 20-30 percent, go to step 31). If FPM PID is not 20-30 percent, go to next step.
  31. 61) Check Voltage To FPDM With Ignition Off  Turn ignition off. Disconnect FPDM wiring harness connector. Measure voltage between POWER-TO-FPDM terminal of FPDM connector and chassis ground. If voltage is less than 2.0 volts, go to next step. If voltage is 2.0 volts or more, go to step 65).
  32. 62) Check FPDM  Leave FPDM disconnected. Turn ignition on. Listen for fuel pump to activate. If fuel pump activates, repair POWER-TO-PUMP circuit short to power. If fuel pump does not activate, replace FPDM.
    NOTE: A break in step numbering sequence occurs at this point. Procedure skips from step 62) to step 65). No test procedures have been omitted.
  33. 65) Check Voltage To FPDM With CCRM Disconnected  Turn ignition off. Disconnect CCRM wiring harness connector. Measure voltage between POWER TO FPDM terminal of FPDM connector and chassis ground. If voltage is less than 2.0 volts, replace CCRM and repeat QUICK TEST. If voltage is 2.0 volts or more, repair POWER TO FPDM circuit short to power.
    NOTE: A break in step numbering sequence occurs at this point. Procedure skips from step 65) to step 67). No test procedures have been omitted.
  34. 67) Check Voltage To FPDM With FPDM Disconnected  Turn ignition off. Leave FPDM disconnected. Disconnect EEC-V power relay. Measure voltage between VPWR terminal of EEC-V power relay harness connector and chassis ground. If voltage is less than 2.0 volts, replace EEC-V power relay and repeat QUICK TEST. If voltage is 2.0 volts or more, repair VPWR circuit short to power.
    NOTE: A break in step numbering sequence occurs at this point. Procedure skips from step 67) to step 70). No test procedures have been omitted.
  35. 70) Check Battery Voltage With Outputs Commanded On  Turn ignition off. Disconnect fuel pump. Connect scan tester to DLC. Using scan tester, access Output Test Mode. While monitoring battery voltage, command outputs on. If battery voltage is 11 volts or more, go to next step. If battery voltage is less than 11 volts, service or replace battery/charging system.
  36. 71) Check Ground Circuit To Fuel Pump  Connect DVOM between POWER-TO-FPDM terminal of the fuel pump and negative battery terminal. Using scan tester, access Output Test Mode. While monitoring battery voltage, command outputs on. If voltage is less than 10.5 volts, go to next step. If voltage is 10.5 volts or more, check for fault in ground circuit to fuel pump.
  37. 72)  Turn ignition off. Disconnect FPDM wiring harness connector. Turn ignition on. Measure voltage between negative battery terminal and POWER-TO-FPDM terminal of FPDM harness connector. If voltage is 10.5 volts or more, go to next step. If voltage is less than 10.5 volts, go to step 77).
  38. 73)  Turn ignition off. Leave fuel pump and FPDM wiring harness connector disconnected. Connect jumper wire between POWER-TO-FPDM terminal and POWER-TO-PUMP terminal of FPDM harness connector. Turn ignition on. If voltage is 10.5 volts or more, and is within 0.5 volt of voltage measured in step 72), replace FPDM. If voltage is not as specified, isolate high resistance in POWER-TO-PUMP circuit and repair as necessary.
    NOTE: A break in step numbering sequence occurs at this point. Procedure skips from step 73) to step 75). No test procedures have been omitted.
  39. 75)  Turn ignition off. Disconnect EEC-V power relay. Turn ignition on. Measure voltage between B+ terminal of EEC-V power relay harness connector and negative battery terminal. If voltage is more than 10.5 volts, go to next step. If voltage is 10.5 volts or less, check for incorrect voltage supply to the EEC-V power relay and repair as necessary.
  40. 76)  Connect jumper wire between B+ terminal and VPWR terminal of EEC-V power relay harness connector. Turn ignition on. Measure voltage between negative battery terminal and VPWR terminal of FPDM harness connector. If voltage is 10.5 volts or more, replace FPDM. If voltage is less than 10.5 volts, isolate for high resistance in system circuits and repair as necessary.
  41. 77)  Turn ignition off. Disconnect FPDM power supply relay wiring harness connector. Turn ignition on. Measure voltage between B+ terminal of FPDM power supply relay harness connector and negative battery terminal. If voltage is more than 10.5 volts, go to next step. If voltage is 10.5 volts or less, check for incorrect voltage supply to the FPDM power supply relay and repair as necessary.
  42. 78)  Connect jumper wire between B+ terminal and POWER-TO-FPDM terminal of FPDM power supply relay harness connector. Turn ignition on. Measure voltage between negative battery terminal and POWER-TO-FPDM terminal of FPDM harness connector. If voltage is 10.5 volts or more, replace FPDM. If voltage is less than 10.5 volts, isolate for high resistance in system circuits and repair as necessary.