LEMON Manuals: Even more car manuals for everyone
Home >> Lexus >> 2023 >> RC F Base >> Repair and Diagnosis (Single Page) >> Accessories & Equipment >> Infotainment >> Navigation System - Circuit Tests >> Navigation System >> Vehicle Speed Signal Circuit between Navigation ECU and Combination Meter [11/2017 - ] >> Procedure

Vehicle Speed Signal Circuit between Navigation ECU and Combination Meter [11/2017 - ]: Procedure

  1. CHECK COMBINATION METER ASSEMBLY (OUTPUT WAVEFORM) 
    1. Check the output waveform.
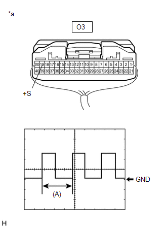
      GTY799345Courtesy of © TOYOTA, LICENSE AGREEMENT TMS1002
      *a Component with harness connected
      (Combination Meter Assembly)
      1. Remove the combination meter assembly with the connector still connected.
      2. Connect an oscilloscope to terminal O3-19 (+S) and body ground.
      3. Turn the engine switch on (IG).
      4. Turn a wheel slowly.
      5. Check the signal waveform according to the condition(s) in the table below.
        Item Condition
        Measurement terminal O3-19 (+S) - Body ground
        Tool setting 5 V/DIV., 20 ms./DIV.
        Vehicle condition Wheel being rotated

        OK

        The waveform is similar to that shown in the illustration.

        HINT: 

        When the system is functioning normally, one wheel revolution generates 4 pulses. As the vehicle speed increases, the width indicated by (A) in the illustration narrows.

      Result

      Proceed to
      OK
      NG

    Result: 

    NG 

    GO TO METER / GAUGE SYSTEM. Refer to  Speed Signal Circuit [11/2017 - 09/2020]  , or refer to  Speed Signal Circuit [09/2020 - ] 

    Result: 

    OK 

    See step  2

  2. CHECK HARNESS AND CONNECTOR (NAVIGATION ECU - COMBINATION METER ASSEMBLY) 
    1. Disconnect the O150 navigation ECU connector.
    2. Disconnect the O3 combination meter assembly connector.
    3. Measure the resistance according to the value(s) in the table below.

      Standard Resistance

      Tester Connection Condition Specified Condition
      O150-9 (SPD) - O3-19 (+S) Always Below 1 Ω

      Result

      Proceed to
      OK
      NG

    Result: 

    OK 

    PROCEED TO NEXT SUSPECTED AREA SHOWN IN PROBLEM SYMPTOMS TABLE. Refer to  PROBLEM SYMPTOMS TABLE [11/2017 - 03/2019]  , or refer to  PROBLEM SYMPTOMS TABLE [03/2019 - 09/2020]  , or refer to  PROBLEM SYMPTOMS TABLE [09/2020 - 01/2023]  , or refer to  PROBLEM SYMPTOMS TABLE [01/2023 - ] 

    Result: 

    NG 

    REPAIR OR REPLACE HARNESS OR CONNECTOR