LEMON Manuals: Even more car manuals for everyone
Home >> Lexus >> 2022 >> RC F Base >> Repair and Diagnosis (Single Page) >> Accessories & Equipment >> Headlights >> Lighting System (Ext) - Diagnostics - Introduction >> Lighting System >> Customize Parameters [03/2019 - ] >> Customize Parameters [03/2019 - ]

Customize Parameters [03/2019 - ]

  1. CUSTOMIZE LIGHTING SYSTEM (EXT) 
    NOTE:
    • When the customer requests a change in a function, first make sure that the function can be customized.
    • Be sure to make a note of the current settings before customizing.
    • When troubleshooting a function, first make sure that the function is set to the default setting.

    HINT: 

    The following items can be customized.

    1. Customizing with the Techstream
      1. Connect the Techstream to the DLC3.
      2. Turn the engine switch on (IG).
      3. Turn the Techstream on.
      4. Enter the following menus: Customize Setting / Light Control or Illuminated Entry.
      5. Select the setting by referring to the table below.

        Light Control 

        Tester Display Description Default Setting ECU
        Disp Ex ON Sen Changes the ambient brightness level required to dim the lights such as the indicator lights of the combination meter, A/C indicator light and clock.*A NORMAL 000:NORMAL, 001:DARK2, 010:DARK1, 011:LIGHT1, 100:LIGHT2 Main Body ECU (Multiplex Network Body ECU)
        Disp Ex OFF Sen Changes the ambient brightness level required to cancel the dimming of the lights such as the indicator lights of the combination meter, A/C indicator light and clock.*B NORMAL 000:NORMAL, 001:DARK2, 010:DARK1, 011:LIGHT1, 100:LIGHT2 Main Body ECU (Multiplex Network Body ECU)
        Light Auto OFF Delay Keeps the headlights on for a certain period of time after turning the engine switch off and closing all of doors with the low beam headlights on. 30 s 00:OFF, 01:30 s, 10:60 s, 11:90 s Main Body ECU (Multiplex Network Body ECU)
        Sensitivity Adjusts the sensitivity of the automatic light control system.*C Normal 000:Normal, 001:Dark2, 010:Dark1, 011:Light1, 100:Light2 Main Body ECU (Multiplex Network Body ECU)
        DRL Function Turns the DRL function on/off.* ON 0:OFF, 1:ON Main Body ECU (Multiplex Network Body ECU)
        Light up Clearance Lights at Door Unlock Function Turns on the parking lights and the taillights for 15 seconds when the doors are unlocked by the smart key or the wireless key. ON 0:OFF, 1:ON Main Body ECU (Multiplex Network Body ECU)
        1. *: w/ DRL OFF Switch

        HINT: 

        The sensitivity adjustment may be difficult to confirm. Check by driving the vehicle.

        1. *A
          Fig 1: Sensitivity Adjustment (1 Of 4)
          GTY424915Courtesy of © TOYOTA, LICENSE AGREEMENT TMS1002
        2. *B
          Fig 2: Sensitivity Adjustment (2 Of 4)
          GTY424905Courtesy of © TOYOTA, LICENSE AGREEMENT TMS1002
        3. *C
          Fig 3: Sensitivity Adjustment (3 Of 4)
          GTY424906Courtesy of © TOYOTA, LICENSE AGREEMENT TMS1002

        Illuminated Entry 

        Tester Display Description Default Setting ECU
        Mirr-Foot-Lgt Approached/Exterior Light Approached Lights up the outside handle foot lights when a key enters any actuation area around the doors. ON 0:OFF, 1:ON Main Body ECU (Multiplex Network Body ECU)
        Mirr-Foot-Lgt Unlocked/Exterior Light Unlocked Lights up outside handle foot lights when doors are unlocked using a mechanical key or door control transmitter. ON 0:OFF, 1:ON Main Body ECU (Multiplex Network Body ECU)
        Mirror Foot Light Time/Exterior Light Time Changes the lighting time of the outside handle foot lights. 15 s 00:15 s, 01:7.5 s, 10:30 s, 11:0 s Main Body ECU (Multiplex Network Body ECU)
        Exterior Light Control Changes the outside handle foot light control. ON 0:OFF, 1:ON Main Body ECU (Multiplex Network Body ECU)
        2 Steps Fade Out Control Function Changes the 2 steps fade out control function of the outside handle foot light control. ON 0:OFF, 1:ON Main Body ECU (Multiplex Network Body ECU)
        Exterior Light (Door Open) Changes the door open control function of the outside handle foot light control. ON 0:OFF, 1:ON Main Body ECU (Multiplex Network Body ECU)
    2. Customizing with the multi-display
      1. Turn the engine switch on (IG).
      2. Enter the following menus: MENU / Setup / Vehicle / Vehicle Customization / Lights Settings.
      3. Select the setting by referring to the table below.
        Display Default Content Setting Relevant ECU
        Headlights Auto-on Sensitivity 0 Adjusts the sensitivity of the automatic light control system.*A -2, -1, 0, +1 or +2 Main Body ECU (Multiplex Network Body ECU)
        Headlights Auto-off Timer 30 sec. Keeps the headlights on for a certain period of time after turning the engine switch off and closing all of doors with the low beam headlights on. Off, 30 sec., 60 sec. or 90 sec. Main Body ECU (Multiplex Network Body ECU)
        Daytime Running Lights* On Turns the DRL function on/off. On or Off Main Body ECU (Multiplex Network Body ECU)
        Exterior Lights Auto-off Timer 15 sec. Changes the lighting time of the outside handle foot lights. Off, 7.5 sec., 15 sec. or 30 sec. Main Body ECU (Multiplex Network Body ECU)
        1. *: w/ DRL OFF Switch

        HINT: 

        The sensitivity adjustment may be difficult to confirm. Check by driving the vehicle.

        1. *A
          Fig 4: Sensitivity Adjustment (4 Of 4)
          GTY424904Courtesy of © TOYOTA, LICENSE AGREEMENT TMS1002
    3. Customizing Lane Change Flasher Control
      1. Set lane change flasher control on/off by following the procedure below.
        • When setting the lane change flasher control to on, the number of blinks (3, 5 or 7) can be set.
        • When setting the lane change flasher control to off, the canceling method of the turn cancel function (canceling the lane change flasher by operating the headlight dimmer switch assembly in the same direction or the opposite direction) can be set.

        HINT: 

        The default setting of the lane change flasher control is on and the number of blinks is 3.

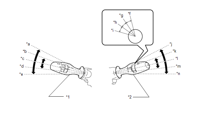
        Fig 5: Default Setting Of The Lane Change Flasher Control
        GTY521455Courtesy of © TOYOTA, LICENSE AGREEMENT TMS1002
        *1 Headlight Dimmer Switch Assembly *2 Windshield Wiper Switch Assembly
        *a Right Turn *b Right Lane Change
        *c NEUTRAL *d Left Lane Change
        *e Left Turn *f Wiper Speed Switch Position P4
        *g Wiper Speed Switch Position P3 *h Wiper Speed Switch Position P2
        *i Wiper Speed Switch Position P1 *j OFF
        *k WPDN *l NEUTRAL
        *m WPUP *n HI
        Step Operation Remark
        1
        1. Turn the engine switch off.
        2. Move the windshield wiper switch assembly and headlight dimmer switch assembly to the NEUTRAL position.
        -
        2 When setting the lane change flasher control to on:
        1. Set the number of blinks for the lane change flasher control.
          1. Refer to the following items and select wiper speed switch position P1, P2 or P3.
            1. Blinks 3 times: P1
            2. Blinks 5 times: P2
            3. Blinks 7 times: P3
        When setting the lane change flasher control to off:
        1. Select wiper speed switch position P4.
        Do not operate the wiper speed switch after step 3.
        3
        1. Move the windshield wiper switch assembly from the NEUTRAL position to the OFF position and hold it there.
        • Steps 3, 4 and 5 are operations for changing to lane change flasher setting mode.
        • If operations other than those described in steps 3, 4 or 5 are performed, the control will change to normal mode. Start from step 1 again.
        4
        1. Turn the engine switch on (IG).
        5 Perform the following operations:
        1. Keep the windshield wiper switch assembly in the OFF position for 5 seconds or more.
        2. Move the windshield wiper switch assembly from the OFF position to the WPDN position.
        3. Keep the windshield wiper switch assembly in the WPDN position for 5 seconds or more.
        4. Move the windshield wiper switch assembly from the WPDN position to the OFF position.
        5. Perform operations 1 to 3 again.
        6. Move the windshield wiper switch assembly from the WPDN position to the NEUTRAL position.
        6
        1. Check that the mode has changed to lane change flasher control setting mode.

          OK

          The right turn signal lights blink once.

        While changing to lane change flasher control setting mode, wiper control and turn signal light control cannot be performed.
        7
        1. Confirm the selected setting (number of blinks) by performing the following operations:
          1. Move the headlight dimmer switch assembly from the NEUTRAL position to the left lane change position.
          2. Move the headlight dimmer switch assembly to the NEUTRAL position.
        1. Set and confirm the canceling method by performing the following operations:
          • Canceling by operating the lever in the opposite direction
            1. Move the headlight dimmer switch assembly from the NEUTRAL position to the left lane change position.
            2. Move the headlight dimmer switch assembly to the NEUTRAL position.
          • Canceling by operating the lever in the same direction
            1. Move the headlight dimmer switch assembly from the NEUTRAL position to the right lane change position.
            2. Move the headlight dimmer switch assembly to the NEUTRAL position.
        • If operations other than those described in step 7 are performed, the control will change to normal mode. Start from step 1 again.
        • Make sure to finish step 7 within approximately 20 seconds.
        8
        1. Check the answer back for completion of setting the number of blinks of the lane change flasher control.
          • Blinks 3 times

            OK

            The left turn signal lights blink once.

          • Blinks 5 times

            OK

            The left turn signal lights blink twice.

          • Blinks 7 times

            OK

            The left turn signal lights blink 3 times.

        1. Check the answer back for completion of changing the turn cancel function.
          • Canceling by operating the lever in the opposite direction

            OK

            The left turn signal lights blink 4 times.

          • Canceling by operating the lever in the same direction

            OK

            The left turn signal lights blink 5 times.

        If the answer back cannot be confirmed: 
        • If 20 seconds or more had elapsed while performing step 7, the control will have changed to normal mode. Start from step 1 again.
        9 Setting is complete. Lane change flasher control setting mode changes to normal mode.