LEMON Manuals: Even more car manuals for everyone
Home >> Lexus >> 2021 >> UX 250h Base >> Repair and Diagnosis (Single Page) >> Accessories & Equipment >> Anti-Theft Systems >> Smart Access System W/ Push-Button Start (Start Function) (Symptom Tests) (2 Of 2) (Hybrid) >> SMART ACCESS SYSTEM WITH PUSH-BUTTON START (for Start Function, HV Model) >> Power Source Mode does not Change to ON (READY) [10/2018 - 07/2022] >> Procedure

Power Source Mode does not Change to ON (READY) [10/2018 - 07/2022]: Procedure

  1. CHECK POWER SWITCH CONDITION 
    1. Get into the vehicle while carrying an electrical key transmitter sub-assembly.
    2. Move the shift lever to P.
    3. With the brake pedal released, check that pressing the power switch causes the power source mode to change.

      Result

      Result Proceed to
      Power source mode changes : Off → on (ACC) → on (IG) → off A
      Power source mode does not change to on (ACC) or on (IG) B
      Power source mode changes to on (IG) but not to on (ACC) C
      Power source mode changes to on (ACC) but not to on (IG) D

    Result: 

    GO TO OTHER PROBLEM (Power Source Mode does not Change to ON (IG and ACC)). Refer to  Power Source Mode does not Change to ON (IG and ACC) [10/2018 - 08/2021]  , or refer to  Power Source Mode does not Change to ON (IG and ACC) [08/2021 - ]  

    Result: 

    GO TO OTHER PROBLEM (Power Source Mode does not Change to ON (ACC)). Refer to  Power Source Mode does not Change to ON (ACC) [10/2018 - ]  

    Result: 

    GO TO OTHER PROBLEM (Power Source Mode does not Change to ON (IG)). Refer to  Power Source Mode does not Change to ON (IG) [10/2018 - ]  

    Result: 

    See step  2

  2. READ VALUE USING TECHSTREAM (STOP LIGHT SWITCH1) 
    1. Connect the Techstream to the DLC3.
    2. Turn the power switch on (IG).
    3. Turn the Techstream on.
    4. Enter the following menus: Body Electrical / Power Source Control / Data List.
    5. Read the Data List according to the display on the Techstream.

      Body Electrical > Power Source Control > Data List 

      Tester Display Measurement Item Range Normal Condition Diagnostic Note
      Stop Light Switch1 State of brake pedal OFF or ON OFF: Brake pedal released
      ON: Brake pedal depressed
      • Use this item to determine if the stop light switch assembly is malfunctioning.
      • The hybrid control system cannot be started when this item is OFF.
      • If the stop light switch assembly is malfunctioning, the hybrid control system can be started by pressing and holding the power switch for a certain period of time.

      Body Electrical > Power Source Control > Data List 

      Tester Display
      Stop Light Switch1

      OK

      The Techstream display changes correctly in response to the brake pedal operation.

      Result

      Proceed to
      OK
      NG

    Result: 

    NG 

    See step  7

    Result: 

    OK 

    See step  3

  3. READ VALUE USING TECHSTREAM (SHIFT P SIGNAL) 
    1. Enter the following menus: Body Electrical / Power Source Control / Data List.
    2. Read the Data List according to the display on the Techstream.

      Body Electrical > Power Source Control > Data List 

      Tester Display Measurement Item Range Normal Condition Diagnostic Note
      Shift P Signal Shift position P OFF or ON OFF: Shift lever not in P
      ON: Shift lever in P
      Use this item to determine whether the shift lever position switch (P) is malfunctioning.

      Body Electrical > Power Source Control > Data List 

      Tester Display
      Shift P Signal

      OK

      The Techstream display changes correctly in response to the shift lever operation.

      Result

      Proceed to
      OK
      NG

    Result: 

    NG 

    See step  9

    Result: 

    OK 

    See step  4

  4. READ VALUE USING TECHSTREAM (STARTER REQUEST SIGNAL) 
    1. Enter the following menus: Body Electrical / Power Source Control / Data List.
    2. Read the Data List according to the display on the Techstream.

      Body Electrical > Power Source Control > Data List 

      Tester Display Measurement Item Range Normal Condition Diagnostic Note
      Starter Request Signal Hybrid control system start request signal status OFF or ON OFF: The power switch is not pressed
      ON: With the shift lever in P and the brake pedal depressed, the power switch is pressed and held
      • When the hybrid control system cannot be started due to a start request signal malfunction, OFF is displayed.
      • When the power switch is pressed, the duration of time that ON is displayed will be extremely short. As such, the power switch needs to be pressed and held for a certain period of time.

      Body Electrical > Power Source Control > Data List 

      Tester Display
      Starter Request Signal
      NOTE:

      Check that the key indicator display is displayed on the multi-information display in the combination meter assembly, and then press the power switch.

      OK

      The Techstream display changes correctly in response to the power switch operation.

      Result

      Proceed to
      OK
      NG

    Result: 

    NG 

    See step  10

    Result: 

    OK 

    See step  5

  5. CHECK HARNESS AND CONNECTOR (CERTIFICATION ECU (SMART KEY ECU ASSEMBLY) - HYBRID VEHICLE CONTROL ECU) 
    1. Disconnect the F44 certification ECU (smart key ECU assembly) connector.
    2. Disconnect the F59 hybrid vehicle control ECU connector.
    3. Measure the resistance according to the value(s) in the table below.

      Standard Resistance

      Tester Connection Condition Specified Condition
      F44-27 (ST2) - F59-4 (ST2) Always Below 1 Ω
      F44-27 (ST2) or F59-4 (ST2) - Other terminals and body ground Always 10 kΩ or higher

      Result

      Proceed to
      OK
      NG

    Result: 

    NG 

    REPAIR OR REPLACE HARNESS OR CONNECTOR 

    Result: 

    OK 

    See step  6

  6. CHECK CERTIFICATION ECU (SMART KEY ECU ASSEMBLY) 
    1. Connect the F44 certification ECU (smart key ECU assembly) connector.
    2. Connect the F59 hybrid vehicle control ECU connector.
    3. Measure the voltage according to the value(s) in the table below.

      Standard Voltage

      Tester Connection Condition Specified Condition
      F44-27 (ST2) - Body ground With the brake pedal depressed, the power switch is pressed and held → After approx. 3 sec. has elapsed, the power switch is released 8.5 V or higher → 1.0 V or less
      GTY801015Courtesy of © TOYOTA, LICENSE AGREEMENT TMS1002
      *a Component with harness connected
      (Certification ECU (Smart Key ECU Assembly))

      Result

      Proceed to
      OK
      NG

    Result: 

    OK 

    GO TO HYBRID CONTROL SYSTEM. Refer to  HOW TO PROCEED WITH TROUBLESHOOTING [10/2018 - ] 

    Result: 

    NG 

    REPLACE CERTIFICATION ECU (SMART KEY ECU ASSEMBLY). Refer to  REMOVAL [10/2018 - 07/2022] 

  7. CHECK STOP LIGHT SWITCH ASSEMBLY 
    1. Check the stop light switch assembly.

      Refer to ON-VEHICLE INSPECTION [10/2018 - ]

      Result

      Proceed to
      OK
      NG

    Result: 

    NG 

    REPLACE STOP LIGHT SWITCH ASSEMBLY. Refer to  REMOVAL [10/2018 - ] 

    Result: 

    OK 

    See step  8

  8. CHECK HARNESS AND CONNECTOR (CERTIFICATION ECU (SMART KEY ECU ASSEMBLY) - STOP LIGHT SWITCH ASSEMBLY) 
    1. Disconnect the N61 certification ECU (smart key ECU assembly) connector.
    2. Disconnect the A42 stop light switch assembly connector.
    3. Disconnect the A37 skid control ECU (brake booster with master cylinder assembly) connector.
    4. Disconnect the A46 hybrid vehicle control ECU connector.
    5. Measure the resistance according to the value(s) in the table below.

      Standard Resistance

      Tester Connection Condition Specified Condition
      N61-25 (STP1) - A42-3 (L) Always Below 1 Ω
      N61-25 (STP1) or A42-3 (L) - Other terminals and body ground Always 10 kΩ or higher

      Result

      Proceed to
      OK
      NG

    Result: 

    OK 

    REPLACE CERTIFICATION ECU (SMART KEY ECU ASSEMBLY). Refer to  REMOVAL [10/2018 - 07/2022] 

    Result: 

    NG 

    REPAIR OR REPLACE HARNESS OR CONNECTOR 

  9. CHECK SHIFT LOCK CONTROL UNIT ASSEMBLY 
    1. Measure the voltage according to the value(s) in the table below.

      Standard Voltage

      Tester Connection Condition Specified Condition
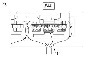
      F44-22 (P) - Body ground Shift lever in P → Shift lever not in P 9 V or higher → 2.76 V or less
      GTY818000Courtesy of © TOYOTA, LICENSE AGREEMENT TMS1002
      *a Component with harness connected
      (Certification ECU (Smart Key ECU Assembly))

      Result

      Proceed to
      OK
      NG

    Result: 

    OK 

    REPLACE CERTIFICATION ECU (SMART KEY ECU ASSEMBLY). Refer to  REMOVAL [10/2018 - 07/2022] 

    Result: 

    NG 

    See step  12

  10. CHECK STEERING LOCK FUNCTION 
    1. Check that the steering unlocks when the power switch is turned on (ACC).

      OK

      The steering unlocks.

      Result

      Proceed to
      OK
      NG

    Result: 

    NG 

    GO TO OTHER PROBLEM (Unable to Unlock Steering Wheel (Hybrid Control System cannot Start)). Refer to  Unable to Unlock Steering Wheel (Hybrid Control System cannot Start) [10/2018 - 07/2022]  

    Result: 

    OK 

    See step  11

  11. CHECK SECURITY INDICATOR LIGHT (IMMOBILISER FUNCTION UNSET) 
    1. Get into the vehicle while carrying an electrical key transmitter sub-assembly.
    2. Move the shift lever to P.
    3. Press the power switch with the brake pedal released and check that the security indicator light changes from blinking to off at the same time that the power source mode changes to on (ACC).

      OK

      The security indicator light changes from blinking to off at the same time that the power source mode changes to on (ACC).

      HINT: 

      The immobiliser function can be determined to be operating correctly if the security indicator light changes from blinking to off at the same time that the power source mode changes to on (ACC).

      Result

      Proceed to
      OK
      NG

    Result: 

    OK 

    REPLACE CERTIFICATION ECU (SMART KEY ECU ASSEMBLY). Refer to  REMOVAL [10/2018 - 07/2022] 

    Result: 

    NG 

    GO TO OTHER PROBLEM (Immobiliser System does not Operate Properly). Refer to  Immobiliser System does not Operate Properly [10/2018 - ]  

  12. CHECK HARNESS AND CONNECTOR (CERTIFICATION ECU (SMART KEY ECU ASSEMBLY) - SHIFT LOCK CONTROL UNIT ASSEMBLY) 
    1. Disconnect the N61 certification ECU (smart key ECU assembly) connector.
    2. Disconnect the F17 shift lock control unit assembly connector.
    3. Measure the resistance according to the value(s) in the table below.

      Standard Resistance

      Tester Connection Condition Specified Condition
      N61-22 (P) - F17-3 (P2) Always Below 1 Ω
      N61-22 (P) or F17-3 (P2) - Other terminals and body ground Always 10 kΩ or higher

      Result

      Proceed to
      OK
      NG

    Result: 

    OK 

    REPLACE SHIFT LOCK CONTROL UNIT ASSEMBLY. Refer to  DISASSEMBLY [10/2018 - ] 

    Result: 

    NG 

    REPAIR OR REPLACE HARNESS OR CONNECTOR