LEMON Manuals: Even more car manuals for everyone
Home >> Lexus >> 2021 >> UX 250h Base >> Repair and Diagnosis (Single Page) >> Accessories & Equipment >> Anti-Theft Systems >> Smart Access System W/ Push-Button Start (Entry Function) (Diagnostics - Introduction) (Hybrid) >> SMART ACCESS SYSTEM WITH PUSH-BUTTON START (for Entry Function, HV Model) >> System Diagram [08/2021 - ] >> System Diagram [08/2021 - ]

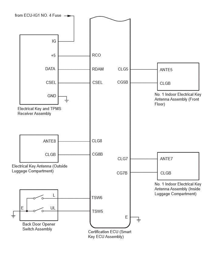
System Diagram [08/2021 - ]

  1. SMART ACCESS SYSTEM WITH PUSH-BUTTON START (for Entry Function) 
    GTY835308Courtesy of © TOYOTA, LICENSE AGREEMENT TMS1002
    GTY1087936Courtesy of © TOYOTA, LICENSE AGREEMENT TMS1002
  2. SMART ACCESS SYSTEM WITH PUSH-BUTTON START (for Start Function) 

    Refer to SYSTEM DIAGRAM [08/2021 - 07/2022] Refer to SYSTEM DIAGRAM [07/2022 - ]

  3. POWER DOOR LOCK CONTROL SYSTEM 

    Refer to SYSTEM DIAGRAM [10/2018 - 07/2022] Refer to SYSTEM DIAGRAM [07/2022 - ]

  4. WIRELESS DOOR LOCK CONTROL SYSTEM 

    Refer to SYSTEM DIAGRAM [10/2018 - 07/2022] Refer to SYSTEM DIAGRAM [07/2022 - ]

  5. POWER BACK DOOR SYSTEM (w/ Power Back Door System) 

    Refer to SYSTEM DIAGRAM [10/2018 - 07/2022] Refer to SYSTEM DIAGRAM [07/2022 - ]