LEMON Manuals: Even more car manuals for everyone
Home >> Lexus >> 2021 >> UX 200 Luxury >> Repair and Diagnosis >> Accessories & Equipment >> Anti-Theft Systems >> Smart Access System W/ Push-Button Start (Start Function) (Diagnostics - Introduction) (Except Hybrid) >> SMART ACCESS SYSTEM WITH PUSH-BUTTON START (for Start Function, Gasoline Model) >> System Diagram [10/2018 - 08/2021] >> System Diagram [10/2018 - 08/2021]

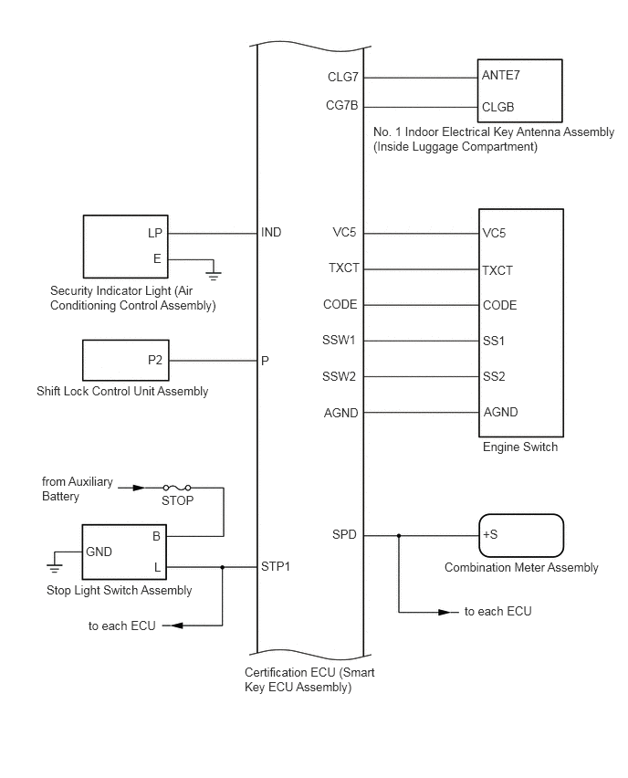
System Diagram [10/2018 - 08/2021]

  1. SMART ACCESS SYSTEM WITH PUSH-BUTTON START (for Start Function, Gasoline Model) 
    GTY817793Courtesy of © TOYOTA, LICENSE AGREEMENT TMS1002
    GTY811559Courtesy of © TOYOTA, LICENSE AGREEMENT TMS1002
    GTY805961Courtesy of © TOYOTA, LICENSE AGREEMENT TMS1002
    GTY834674Courtesy of © TOYOTA, LICENSE AGREEMENT TMS1002
  2. SMART ACCESS SYSTEM WITH PUSH-BUTTON START (for Entry Function, Gasoline Model) 

    Refer to SYSTEM DIAGRAM [10/2018 - 08/2021]