LEMON Manuals: Even more car manuals for everyone
Home >> Lexus >> 2021 >> UX 200 Base >> Repair and Diagnosis (Single Page) >> Accessories & Equipment >> Entertainment Systems >> LEXUS ENFORM System (Diagnostics & Symptom Tests) >> LEXUS ENFORM System >> System Diagram [10/2018 - 10/2019] >> System Diagram [10/2018 - 10/2019]

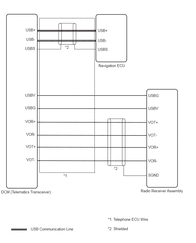
System Diagram [10/2018 - 10/2019]

  1. w/o Navigation System 
    GTY785482Courtesy of © TOYOTA, LICENSE AGREEMENT TMS1002
  2. w/ Navigation System 
    GTY779835Courtesy of © TOYOTA, LICENSE AGREEMENT TMS1002