LEMON Manuals: Even more car manuals for everyone
Home >> Lexus >> 2021 >> UX 200 Base >> Repair and Diagnosis (Single Page) >> Accessories & Equipment >> Drivers Assistance Systems - ADAS >> Front Radar Sensor System (Diagnostic Codes) >> Front Radar Sensor System >> DTC U0104-87: Lost Communication with Cruise Control Module Missing Message [10/2018 - 08/2021] >> Procedure

DTC U0104-87: Lost Communication with Cruise Control Module Missing Message [10/2018 - 08/2021]: Procedure

  1. CHECK FOR DTCs 
    1. Using the Techstream, check for front radar sensor system DTCs and pre-collision system DTCs and output pattern according to the following table.

      Body Electrical > Front Radar Sensor > Trouble Codes 

      Body Electrical > Pre-Collision System > Trouble Codes 

      Pattern Display on Techstream / Output DTC
      Front Radar Sensor system Pre-Collision System
      Pattern 1 U010487 U023587
      Pattern 2 U010487 -

      Result

      Result Proceed to
      Output in pattern 1 A
      Output in pattern 2 B

    Result: 

    See step  5

    Result: 

    See step  2

  2. CHECK CAN BUS LINES (NO. 11 CAN JUNCTION CONNECTOR) 
    1. Disconnect the cable from the negative (-) auxiliary battery terminal.
    2. Disconnect the No. 11 CAN Junction Connector.
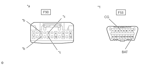
      GTY804016Courtesy of © TOYOTA, LICENSE AGREEMENT TMS1002
      *1 DLC3 - -
      *a Front view of wire harness connector
      (to No. 11 CAN Junction Connector)
      *b to Millimeter Wave Radar Sensor Assembly
      *c to Forward Recognition Camera - -
    3. Measure the resistance according to the value(s) in the table below.

      Standard Resistance

      Tester Connection Condition Specified Condition Connected to
      F90-3 - F90-9 Cable disconnected from negative (-) auxiliary battery terminal 108 to 132 Ω Forward Recognition Camera
      F90-2 - F90-8 Cable disconnected from negative (-) auxiliary battery terminal 108 to 132 Ω Millimeter Wave Radar Sensor Assembly
    4. Measure the resistance according to the value(s) in the table below.

      Standard Resistance

      Tester Connection Condition Specified Condition Connected to
      F90-3 - F58-4 (CG) Cable disconnected from negative (-) auxiliary battery terminal 200 Ω or higher Forward Recognition Camera
      F90-9 - F58-4 (CG) Cable disconnected from negative (-) auxiliary battery terminal 200 Ω or higher
      F90-3 - F58-16 (BAT) Cable disconnected from negative (-) auxiliary battery terminal 6 kΩ or higher
      F90-9 - F58-16 (BAT) Cable disconnected from negative (-) auxiliary battery terminal 6 kΩ or higher
      F90-2 - F58-4 (CG) Cable disconnected from negative (-) auxiliary battery terminal 200 Ω or higher Millimeter Wave Radar Sensor Assembly
      F90-8 - F58-4 (CG) Cable disconnected from negative (-) auxiliary battery terminal 200 Ω or higher
      F90-2 - F58-16 (BAT) Cable disconnected from negative (-) auxiliary battery terminal 6 kΩ or higher
      F90-8 - F58-16 (BAT) Cable disconnected from negative (-) auxiliary battery terminal 6 kΩ or higher
    5. Connect the No. 11 CAN junction connector

      Result

      Result Proceed to
      OK A
      NG (Connected to: Forward Recognition Camera) B
      NG (Connected to: Millimeter Wave Radar Sensor Assembly) C

    Result: 

    REPLACE NO. 11 CAN JUNCTION CONNECTOR 

    Result: 

    See step  4

    Result: 

    See step  3

  3. CHECK CAN BUS LINES (FORWARD RECOGNITION CAMERA - NO. 11 CAN JUNCTION CONNECTOR) 
    1. Disconnect the forward recognition camera connector.
      GTY823535Courtesy of © TOYOTA, LICENSE AGREEMENT TMS1002
      *1 DLC3 - -
      *a Front view of wire harness connector
      (to Forward Recognition Camera)
      - -
    2. Measure the resistance according to the value(s) in the table below.

      Standard Resistance

      Tester Connection Condition Specified Condition
      S4-6 (CANH) - S4-12 (CANL) Cable disconnected from negative (-) auxiliary battery terminal 108 to 132 Ω
    3. Measure the resistance according to the value(s) in the table below.

      Standard Resistance

      Tester Connection Condition Specified Condition
      S4-6 (CANH) - F58-4 (CG) Cable disconnected from negative (-) auxiliary battery terminal 200 Ω or higher
      S4-12 (CANL) - F58-4 (CG) Cable disconnected from negative (-) auxiliary battery terminal 200 Ω or higher
      S4-6 (CANH) - F58-16 (BAT) Cable disconnected from negative (-) auxiliary battery terminal 6 kΩ or higher
      S4-12 (CANL) - F58-16 (BAT) Cable disconnected from negative (-) auxiliary battery terminal 6 kΩ or higher
    4. Connect the forward recognition camera connector.

      Result

      Proceed to
      OK
      NG

    Result: 

    OK 

    REPLACE FORWARD RECOGNITION CAMERA. Refer to  COMPONENTS [10/2018 - ] 

    Result: 

    NG 

    REPAIR OR REPLACE CAN BUS MAIN LINE OR CONNECTOR (FORWARD RECOGNITION CAMERA - NO. 11 CAN JUNCTION CONNECTOR) 

  4. CHECK CAN BUS LINES (MILLIMETER WAVE RADAR SENSOR ASSEMBLY - NO. 11 CAN JUNCTION CONNECTOR) 
    1. Disconnect the millimeter wave radar sensor assembly connector.
      GTY802795Courtesy of © TOYOTA, LICENSE AGREEMENT TMS1002
      *1 DLC3 - -
      *a Front view of wire harness connector
      (to Millimeter Wave Radar Sensor Assembly)
      - -
    2. Measure the resistance according to the value(s) in the table below.

      Standard Resistance

      Tester Connection Condition Specified Condition
      B5-5 (CA1P) - B5-6 (CA1N) Cable disconnected from negative (-) auxiliary battery terminal 108 to 132 Ω
    3. Measure the resistance according to the value(s) in the table below.

      Standard Resistance

      Tester Connection Condition Specified Condition
      B5-5 (CA1P) - F58-4 (CG) Cable disconnected from negative (-) auxiliary battery terminal 200 Ω or higher
      B5-6 (CA1N) - F58-4 (CG) Cable disconnected from negative (-) auxiliary battery terminal 200 Ω or higher
      B5-5 (CA1P) - F58-16 (BAT) Cable disconnected from negative (-) auxiliary battery terminal 6 kΩ or higher
      B5-6 (CA1N) - F58-16 (BAT) Cable disconnected from negative (-) auxiliary battery terminal 6 kΩ or higher
    4. Connect the millimeter wave radar sensor assembly connector.

      Result

      Proceed to
      OK
      NG

    Result: 

    OK 

    REPLACE MILLIMETER WAVE RADAR SENSOR ASSEMBLY. Refer to  COMPONENTS [10/2018 - ] 

    Result: 

    NG 

    REPAIR OR REPLACE CAN BUS MAIN LINE OR CONNECTOR (MILLIMETER WAVE RADAR SENSOR ASSEMBLY - NO. 11 CAN JUNCTION CONNECTOR) 

  5. CHECK CONNECTOR (FORWARD RECOGNITION CAMERA) 
    1. Check the locking part and terminals of the forward recognition camera connector.
      NOTE:
      • Make sure the connector is not loose or disconnected.
      • Make sure that the connector and terminals are not deformed or corroded.

      OK

      The connector and terminals are normal.

      Result

      Proceed to
      OK
      NG

    Result: 

    NG 

    REPAIR OR REPLACE HARNESS OR CONNECTOR (FORWARD RECOGNITION CAMERA) 

    Result: 

    OK 

    See step  6

  6. CHECK HARNESS AND CONNECTOR (FORWARD RECOGNITION CAMERA POWER SOURCE CIRCUIT) 
    1. Disconnect the cable from the negative (-) auxiliary battery terminal.
    2. Disconnect the forward recognition camera connector.
      GTY831166Courtesy of © TOYOTA, LICENSE AGREEMENT TMS1002
      *a Front view of wire harness connector
      (to Forward Recognition Camera)
    3. Measure the resistance according to the value(s) in the table below.

      Standard Resistance

      Tester Connection Condition Specified Condition
      S4-10 (GND) - Body ground Always Below 1 Ω
    4. Connect the cable to the negative (-) auxiliary battery terminal.
    5. Measure the voltage according to the value(s) in the table below.

      Standard Voltage

      Tester Connection Switch Condition Specified Condition
      S4-7 (IGB) - Body ground Ignition switch ON 11 to 14 V
    6. Connect the forward recognition camera connector.

      Result

      Proceed to
      OK
      NG

    Result: 

    NG 

    REPAIR OR REPLACE HARNESS OR CONNECTOR (FORWARD RECOGNITION CAMERA POWER SOURCE CIRCUIT) 

    Result: 

    OK 

    See step  7

  7. INSPECT FORWARD RECOGNITION CAMERA (WAVEFORM) 
    1. Turn the ignition switch off.
    2. Disconnect the No. 11 CAN junction connector.
    3. Turn the ignition switch to ON.
    4. Using an oscilloscope, measure the waveform at No. 11 CAN junction connector.
      GTY818224Courtesy of © TOYOTA, LICENSE AGREEMENT TMS1002
      *a Front view of wire harness connector
      (to No. 11 CAN Junction Connector)
      *b Waveform
      *c to Forward Recognition Camera - -

      Measurement Condition

      Tester Connection Switch Condition Tool Setting
      F90-3 - Body ground Ignition switch ON 1 V/DIV., 100 μs/DIV.
      NOTE:

      The oscilloscope waveform is for reference only and does not include noise, fluctuations, etc.

      OK

      A waveform similar to that in the illustration can be observed.

    5. Connect the No. 11 CAN junction connector.

      Result

      Proceed to
      OK
      NG

    Result: 

    OK 

    REPLACE MILLIMETER WAVE RADAR SENSOR ASSEMBLY. Refer to  COMPONENTS [10/2018 - ] 

    Result: 

    NG 

    REPLACE FORWARD RECOGNITION CAMERA. Refer to  COMPONENTS [10/2018 - ]