LEMON Manuals: Even more car manuals for everyone
Home >> Lexus >> 2021 >> UX 200 Base >> Repair and Diagnosis (Single Page) >> Accessories & Equipment >> Anti-Theft Systems >> Smart Access System W/ Push-Button Start (Start Function) (Diagnostic Codes & Symptom Tests (1 Of 2)) (Except Hybrid) >> SMART ACCESS SYSTEM WITH PUSH-BUTTON START (for Start Function, Gasoline Model) >> DTC B278A: Short to GND in Immobiliser System Power Source Circuit [10/2018 - 07/2022] >> Procedure

DTC B278A: Short to GND in Immobiliser System Power Source Circuit [10/2018 - 07/2022]: Procedure

  1. CHECK CERTIFICATION ECU (SMART KEY ECU ASSEMBLY) 
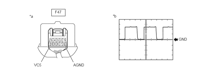
    1. Using an oscilloscope, check the waveform.
      GTY794727Courtesy of © TOYOTA, LICENSE AGREEMENT TMS1002
      *a Component with harness connected
      (Engine Switch)
      *b Waveform

      HINT: 

      Perform this inspection on the engine switch side.

      OK

      Tester Connection Condition Tool Setting Specified Condition
      F47-10 (VC5) - F47-6 (AGND) Engine switch off, electrical key transmitter sub-assembly not in cabin, within 30 seconds of engine switch pressed 2 V/DIV., 200 ms./DIV. Pulse generation
      (See waveform)

      Result

      Proceed to
      OK
      NG

    Result: 

    OK 

    REPLACE ENGINE SWITCH. Refer to  REMOVAL [10/2018 - 07/2022] 

    Result: 

    NG 

    See step  2

  2. CHECK HARNESS AND CONNECTOR (CERTIFICATION ECU (SMART KEY ECU ASSEMBLY) - ENGINE SWITCH) 
    1. Disconnect the F44 certification ECU (smart key ECU assembly) connector.
    2. Disconnect the F47 engine switch connector.
    3. Measure the resistance according to the value(s) in the table below.

      Standard Resistance

      Tester Connection Condition Specified Condition
      F44-7 (VC5) - F47-10 (VC5) Always Below 1 Ω
      F44-11 (AGND) - F47-6 (AGND) Always Below 1 Ω
      F44-7 (VC5) or F47-10 (VC5) - Other terminals and body ground Always 10 kΩ or higher
      F44-11 (AGND) or F47-6 (AGND) - Other terminals and body ground Always 10 kΩ or higher

      Result

      Proceed to
      OK
      NG

    Result: 

    NG 

    REPAIR OR REPLACE HARNESS OR CONNECTOR 

    Result: 

    OK 

    See step  3

  3. CHECK CERTIFICATION ECU (SMART KEY ECU ASSEMBLY) 
    1. Connect the F44 certification ECU (smart key ECU assembly) connector.
    2. Connect the F47 engine switch connector.
    3. Measure the voltage according to the value(s) in the table below.
      GTY799356Courtesy of © TOYOTA, LICENSE AGREEMENT TMS1002
      *a Component with harness connected
      (Certification ECU (Smart Key ECU Assembly))
      - -

      Standard Voltage

      Tester Connection Condition Specified Condition
      F44-7 (VC5) - F44-11 (AGND) Engine switch off, brake pedal not depressed, 30 seconds or more after driver door opened and then closed Below 1 V

      Result

      Proceed to
      OK
      NG

    Result: 

    OK 

    REPLACE ENGINE SWITCH. Refer to  REMOVAL [10/2018 - 07/2022] 

    Result: 

    NG 

    REPLACE CERTIFICATION ECU (SMART KEY ECU ASSEMBLY). Refer to  REMOVAL [10/2018 - 07/2022]