LEMON Manuals: Even more car manuals for everyone
Home >> Lexus >> 2021 >> RC F Base >> Repair and Diagnosis >> Suspension >> Wheel Alignment >> Wheel Alignment - Service Information >> Front Wheel Alignment >> Adjustment [09/2014 - 11/2017] >> Procedure

Adjustment [09/2014 - 11/2017]: Procedure

  1. INSPECT TIRES 

    Refer to PROCEDURE - Step 1

  2. MEASURE VEHICLE HEIGHT 
    NOTE:
    • Before inspecting the wheel alignment, adjust the vehicle height to the specified value.
    • Be sure to perform measurement on a level surface.
    • If it is necessary to go under the vehicle for measurement, confirm that the parking brake is applied and the vehicle is secured with chocks.
    • Inspect while the vehicle is unloaded.
    • The standard value shown here is a value that is used for performing a wheel alignment and does not indicate the height of an actual vehicle.
    1. Bounce the vehicle up and down at the corners to stabilize the suspension.
    2. Measure the vehicle height.

      Measurement Points: 

      1. A: Ground clearance of front wheel center
      1. B: Ground clearance of front lower suspension arm bushing set bolt center
      1. C: Ground clearance of rear wheel center
      1. D: Ground clearance of rear No. 2 suspension arm set bolt center

      Vehicle Height (Unloaded Vehicle)

      Front A - B Rear C - D
      129.7 mm (5.11 in.) 125 mm (4.92 in.)
      GTY521133Courtesy of © TOYOTA, LICENSE AGREEMENT TMS1002
  3. INSPECT CAMBER, CASTER AND STEERING AXIS INCLINATION 
    NOTE:

    Inspect while the vehicle is unloaded.

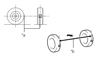
    1. Install a camber-caster-kingpin gauge and place the front wheels on the center of a turning radius gauge.
      GTY447072Courtesy of © TOYOTA, LICENSE AGREEMENT TMS1002
      *a Turning Radius Gauge
      *b Camber-caster-kingpin Gauge
    2. Inspect the camber, caster and steering axis inclination.

      Camber (Unloaded Vehicle)

      Camber Inclination Right-left Difference
      -0°28' +/- 0°45' (-0.47° +/- 0.75°) 0°45' (0.75°) or less

      Caster (Unloaded Vehicle)

      Caster Inclination
      7°38' +/- 0°45' (7.63° +/- 0.75°)

      Steering Axis Inclination (Unloaded Vehicle)

      Steering Axis Inclination Reference
      9°48' +/- 0°45' (9.80° +/- 0.75°)
  4. ADJUST CASTER 
    1. According to the caster measurement, select a lower No. 2 arm bracket sub-assembly.
      LOWER NO. 2 ARM BRACKET SUB-ASSEMBLY

      Part No. Installation Position Offset Angle
      48075-24010 RH 0 (Standard)
      48075-24080 RH +21' (+0.35°)
      48075-24090 RH -21' (-0.35°)
      48076-24010 LH 0 (Standard)
      48076-24050 LH +21' (+0.35°)
      48076-24060 LH -21' (-0.35°)
      GTY499156Courtesy of © TOYOTA, LICENSE AGREEMENT TMS1002
      *1 Lower No. 2 Arm Bracket Sub-assembly

      HINT: 

      • Perform adjustments so that the value is as close as possible to the median of the specified range.
      • Refer to the instructions for Removal and Installation of the front lower suspension arm assembly.

        Refer to REMOVAL [09/2014 - ]

  5. INSPECT TOE-IN 
    NOTE:

    Inspect while the vehicle is unloaded.

    1. Bounce the vehicle up and down at the corners to stabilize the suspension.
    2. Release the parking brake and move the shift lever to N.
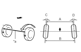
    3. Push the vehicle straight ahead approximately 5 m (16.4 ft.). (Step C)
    4. Put tread center marks on the rearmost points of the front wheels and measure the distance between the marks (dimension B).
      GTY425631Courtesy of © TOYOTA, LICENSE AGREEMENT TMS1002
      *a Tread Center Mark
      *b Dimension B
      Front of the Vehicle
    5. Slowly push the vehicle straight ahead to cause the front wheels to rotate 180°. Use the front tire valve as a reference point.

      HINT: 

      Do not allow the wheels to rotate more than 180°. If the wheels rotate more than 180°, perform the procedure from step C again.

    6. Measure the distance between the tread center marks on the front of the wheels (dimension A).
      GTY427700Courtesy of © TOYOTA, LICENSE AGREEMENT TMS1002
      *a Dimension A
      Front of the Vehicle

      Toe-in (Unloaded Vehicle)

      Specified Condition
      C + D: 0°00' +/- 0°10' (0° +/- 0.17°)
      B - A: 0 +/- 2.0 mm (0 +/- 0.0787 in.)

      HINT: 

      Measure "B - A" only when "C + D" cannot be measured.

      If the toe-in is not within the specified range, adjust it at the steering rack ends.

  6. ADJUST TOE-IN 
    1. Make sure that the thread length of the right and left steering rack ends are approximately the same.

      Standard Difference

      1.5 mm (0.0591 in.) or less

      GTY514402Courtesy of © TOYOTA, LICENSE AGREEMENT TMS1002
      *a Thread Length
    2. Remove the steering rack boot clips.
    3. Loosen the tie rod assembly lock nuts.
    4. Adjust the steering rack ends if the difference in thread length between the right and left steering rack ends is not within the specified range.
      1. If the toe-in measurement is greater than the specified range (too much toe-out), shorten the longer steering rack end so that the length difference is within the specified range.
      2. If the toe-in measurement is less than the specified range (too much toe-in), extend the shorter steering rack end so that the length difference is within the specified range.
      3. Measure the toe-in.
    5. Turn the right and left steering rack ends by an equal amount to adjust the toe-in.

      Toe-in (Unloaded Vehicle)

      Specified Condition
      C + D: 0°00' +/- 0°10' (0° +/- 0.17°)
      B - A: 0 +/- 2.0 mm (0 +/- 0.0787 in.)

      HINT: 

      Perform adjustments so that the value is as close as possible to the median of the specified range.

    6. Make sure that the thread length of the right and left steering rack ends are the same.
    7. Tighten the tie rod assembly lock nuts.

      Torque: 55.9 N.m (570 kgf/cm, 41 ft.lbf) 

    8. Place the steering rack boots on the seats and install the steering rack boot clips.

      HINT: 

      • Make sure that the steering rack boots are not twisted.
      • Make sure that the steering rack boot clips are facing towards the front of the vehicle.
  7. INSPECT WHEEL ANGLE 
    1. Put tread center marks on the rearmost points of a turning radius gauge.
      GTY425420Courtesy of © TOYOTA, LICENSE AGREEMENT TMS1002
      *a Inside
      *b Outside
      Front of the Vehicle
    2. Turn the steering wheel fully to the left and right and measure the turning angle.
      NOTE:

      Inspect while the vehicle is unloaded.

      Wheel Turning Angle (Unloaded Vehicle)

      Inside Wheel Outside Wheel
      39°11' +/- 2°00' (39.18° +/- 2°) 34°02' (34.03°)
      1. If the right and left inside wheel angles differ from the specified value, check and adjust the right and left steering rack end lengths.
  8. INSPECT FRONT SUSPENSION 
    1. Inspect the front suspension crossmember sub-assembly.
      1. Measure the dimension between the center of the 2 installation bolts of the front lower suspension arm assembly.

        Standard

        692.5 to 699.5 mm (2.28 to 2.29 ft.)

        If the result is not as specified, replace the front suspension crossmember sub-assembly.

        HINT: 

        Refer to the instructions for removal and installation of the front suspension crossmember sub-assembly.

        Refer to REMOVAL [09/2014 - ]

        GTY498852Courtesy of © TOYOTA, LICENSE AGREEMENT TMS1002
    2. Inspect the front lower suspension arm assembly.
      1. Remove the front lower suspension arm assembly.

        HINT: 

        Refer to the instructions for removal of the front lower suspension arm assembly.

        Refer to REMOVAL [09/2014 - ]

      2. Measure the dimension between the center of the front lower suspension arm assembly bush and the center of position A.

        Standard

        383.7 to 385.1 mm (1.259 to 1.263 ft.)

        GTY508288Courtesy of © TOYOTA, LICENSE AGREEMENT TMS1002
    3. Inspect the front upper suspension arm assembly.
      1. Remove the front upper suspension arm assembly.

        HINT: 

        Refer to the instructions for removal of the front upper suspension arm assembly.

        Refer to REMOVAL [09/2014 - ]

      2. Measure the dimension between the center of the front upper suspension arm assembly bush and the center of the ball joint stud.

        Standard

        232.7 to 233.3 mm (9.17 to 9.18 in.)

        GTY507728Courtesy of © TOYOTA, LICENSE AGREEMENT TMS1002
  9. ALIGN FRONT WHEELS FACING STRAIGHT AHEAD 
  10. PERFORM YAW RATE AND ACCELERATION SENSOR AND ROLL RATE AND VERTICAL ACCELERATION SENSOR ZERO POINT CALIBRATION 

    Refer to CALIBRATION [09/2014 - 11/2017]

  11. ADJUST LANE DEPARTURE WARNING CAMERA (w/ Lane Departure Alert System) 

    Refer to ADJUSTMENT [09/2014 - 11/2017]