LEMON Manuals: Even more car manuals for everyone
Home >> Lexus >> 2021 >> RC F Base >> Repair and Diagnosis >> Engine Performance >> System >> Engine Control System - Diagnostic Codes (1 Of 9) >> SFI System >> DTC P00FE: EVAP System Tank Vapor Line Restricted/Blocked [03/2019 - 09/2020] >> Monitor Description

Monitor Description

5 hours* after the engine switch is turned off, the leak detection pump creates negative pressure (vacuum) in the EVAP (Evaporative Emission) system. The ECM monitors for leaks and actuator malfunctions based on the EVAP pressure.

HINT: 

*: If the engine coolant temperature is not less than 35°C (95°F) 5 hours after the engine switch is turned off, the monitor check starts 2 hours later. If it is still not less than 35°C (95°F) 7 hours after the engine switch is turned off, the monitor check starts 2.5 hours later.

Sequence Operation Description Duration
- ECM activation Activated by soak timer, 5, 7 or 9.5 hours after engine switch turned off. -
A Atmospheric pressure measurement Vent valve is turned off (vent) and EVAP system pressure is measured by ECM in order to register atmospheric pressure.
If pressure in EVAP system is not between 70 kPa(abs) and 110 kPa(abs) [10.2 psi(abs) and 16 psi(abs)], ECM cancels EVAP system monitor.
60 seconds
B First reference pressure measurement In order to determine reference pressure, leak detection pump creates negative pressure (vacuum) through reference orifice and then ECM checks if leak detection pump and vent valve operate normally. 360 seconds
C EVAP system pressure measurement Vent valve is turned on (closed) to shut EVAP system.
Negative pressure (vacuum) is created in EVAP system, and EVAP system pressure is then measured.
Write down measured value as it will be used in leak check. If EVAP pressure does not stabilize within 15 minutes, ECM cancels EVAP system monitor.
15 minutes*
D Purge VSV monitor Purge VSV is opened and then EVAP system pressure is measured by ECM.
Large increase indicates normal.
10 seconds
E Second reference pressure measurement After second reference pressure measurement, leak check is performed by comparing first and second reference pressure measurements.
If stabilized system pressure is higher than second reference pressure, ECM determines that EVAP system is leaking.
60 seconds
- Final check Atmospheric pressure is measured and then monitoring result is recorded by ECM. -

*: If only a small amount of fuel is in the fuel tank, it takes longer for the EVAP pressure to stabilize.

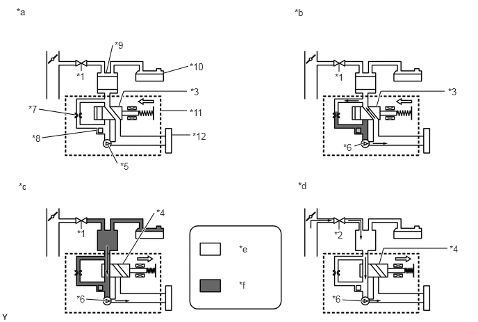
GTY787222Courtesy of © TOYOTA, LICENSE AGREEMENT TMS1002
*1 Purge VSV: Off (Closed) *2 Purge VSV: On (Open)
*3 Vent Valve: Off (Vent) *4 Vent Valve: On (Closed)
*5 Leak Detection Pump: Off *6 Leak Detection Pump: On
*7 Reference Orifice (0.02 inch) *8 Canister Pressure Sensor
*9 Canister *10 Fuel Tank
*11 Canister Pump Module *12 Canister Filter
*a Operation A:
Atmospheric Pressure Measurement
*b Operation B, E:
Reference Pressure Measurement
*c Operation C:
EVAP System Pressure Measurement
*d Operation D:
Purge VSV Monitor
*e Atmospheric Pressure *f Negative Pressure
  1. (a) P00FE: EVAP vent line blocked

    During operation C, if the EVAP system pressure is below the threshold after 24.5 seconds, the ECM will determine that there is blockage between the fuel tank and canister, illuminate the MIL and store this DTC (2 trip detection logic).

    GTY947057Courtesy of © TOYOTA, LICENSE AGREEMENT TMS1002