LEMON Manuals: Even more car manuals for everyone
Home >> Lexus >> 2021 >> LC 500 2D Convertible >> Repair and Diagnosis >> Engine Performance >> Engine Control Systems >> Engine Control System - Service Information (Convertible) >> Camshaft Position Sensor >> Removal [07/2020 - ] >> Procedure

Removal [07/2020 - ]: Procedure

  1. REMOVE V-BANK COVER SUB-ASSEMBLY 

    Refer to PROCEDURE - Step 2 [07/2020 - 05/2023] , or refer to PROCEDURE - Step 2 [05/2023 - ]

  2. REMOVE CAMSHAFT POSITION SENSOR 
    1. Disconnect the camshaft position sensor connector.
      GTY797182Courtesy of © TOYOTA, LICENSE AGREEMENT TMS1002
    2. Remove the bolt and camshaft position sensor from the cylinder head cover sub-assembly.
      NOTE:

      If the camshaft position sensor has been struck or dropped, replace it.

    3. Perform this procedure only when reusing the camshaft position sensor.
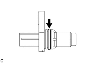
      GTY1132297Courtesy of © TOYOTA, LICENSE AGREEMENT TMS1002
      1. Remove the O-ring from the camshaft position sensor.
        NOTE:
        • Make sure to only remove the O-ring with bare hands.
        • When removing the O-ring, be careful not to damage the O-ring groove of the camshaft position sensor.
        • If the O-ring groove of the camshaft position sensor is damaged, replace the camshaft position sensor with a new one.
  3. REMOVE VVT SENSOR (for Exhaust Side of Bank 1) 
    1. Disconnect the VVT sensor connector.
      GTY797184Courtesy of © TOYOTA, LICENSE AGREEMENT TMS1002
    2. Remove the bolt and VVT sensor from the cylinder head cover sub-assembly LH.
      NOTE:

      If the VVT sensor has been struck or dropped, replace it.

    3. Perform this procedure only when reusing the VVT sensor.
      GTY1132247Courtesy of © TOYOTA, LICENSE AGREEMENT TMS1002
      1. Remove the O-ring from the VVT sensor.
        NOTE:
        • Make sure to only remove the O-ring with bare hands.
        • When removing the O-ring, be careful not to damage the O-ring groove of the VVT sensor.
        • If the O-ring groove of the VVT sensor is damaged, replace the VVT sensor with a new one.
  4. REMOVE VVT SENSOR (for Exhaust Side of Bank 2) 
    1. Disconnect the VVT sensor connector.
      GTY832123Courtesy of © TOYOTA, LICENSE AGREEMENT TMS1002
    2. Remove the bolt and VVT sensor from the cylinder head cover sub-assembly.
      NOTE:

      If the VVT sensor has been struck or dropped, replace it.

    3. Perform this procedure only when reusing the VVT sensor.
      GTY1132247Courtesy of © TOYOTA, LICENSE AGREEMENT TMS1002
      1. Remove the O-ring from the VVT sensor.
        NOTE:
        • Make sure to only remove the O-ring with bare hands.
        • When removing the O-ring, be careful not to damage the O-ring groove of the VVT sensor.
        • If the O-ring groove of the VVT sensor is damaged, replace the VVT sensor with a new one.
  5. REMOVE VVT SENSOR (for Intake Side of Bank 2) 
    1. Disconnect the VVT sensor connector.
      GTY797315Courtesy of © TOYOTA, LICENSE AGREEMENT TMS1002
    2. Remove the bolt and VVT sensor from the cylinder head cover sub-assembly.
      NOTE:

      If the VVT sensor has been struck or dropped, replace it.

    3. Perform this procedure only when reusing the VVT sensor.
      GTY1132297Courtesy of © TOYOTA, LICENSE AGREEMENT TMS1002
      1. Remove the O-ring from the VVT sensor.
        NOTE:
        • Make sure to only remove the O-ring with bare hands.
        • When removing the O-ring, be careful not to damage the O-ring groove of the VVT sensor.
        • If the O-ring groove of the VVT sensor is damaged, replace the VVT sensor with a new one.
  6. REMOVE NO. 3 FUEL PIPE SUB-ASSEMBLY 

    Refer to REMOVAL [07/2020 - 05/2023] , or refer to REMOVAL [05/2023 - ]

  7. REMOVE VVT SENSOR (for Intake Side of Bank 1) 
    1. Disconnect the VVT sensor connector.
      GTY797183Courtesy of © TOYOTA, LICENSE AGREEMENT TMS1002
    2. Remove the bolt and VVT sensor from the cylinder head cover sub-assembly LH.
      NOTE:

      If the VVT sensor has been struck or dropped, replace it.

    3. Perform this procedure only when reusing the VVT sensor.
      GTY1132297Courtesy of © TOYOTA, LICENSE AGREEMENT TMS1002
      1. Remove the O-ring from the VVT sensor.
        NOTE:
        • Make sure to only remove the O-ring with bare hands.
        • When removing the O-ring, be careful not to damage the O-ring groove of the VVT sensor.
        • If the O-ring groove of the VVT sensor is damaged, replace the VVT sensor with a new one.