LEMON Manuals: Even more car manuals for everyone
Home >> Lexus >> 2021 >> ES 300h Base >> Repair and Diagnosis (Single Page) >> Accessories & Equipment >> Anti-Theft Systems >> Smart Access System (For Start) (Hybrid) - Diagnostic Codes >> SMART ACCESS SYSTEM WITH PUSH-BUTTON START (for Start Function, HV Model) >> DTC B2799-86: Engine Immobiliser System Signal (Some Circuit Quantity, Reported via Serial Data) Invalid [06/2018 - ] >> Procedure

DTC B2799-86: Engine Immobiliser System Signal (Some Circuit Quantity, Reported via Serial Data) Invalid [06/2018 - ]: Procedure

  1. REGISTER ECU COMMUNICATION ID 
    1. Register the ECU communication ID code.

      Refer to REGISTRATION [06/2018 - 10/2019] , or refer to REGISTRATION [10/2019 - 09/2022] , or refer to REGISTRATION [09/2022 - ]

      Result

      Proceed to
      NEXT

    Result: 

    NEXT 

    See step  2

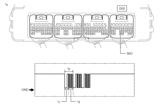
  2. CHECK HYBRID VEHICLE CONTROL ECU (TERMINAL IMO) 
    1. Using an oscilloscope, check the waveform.
      GTY819852Courtesy of © TOYOTA, LICENSE AGREEMENT TMS1002
      *a Component with harness connected
      (Hybrid Vehicle Control ECU)
      *b Waveform
      *c Approximately 160 ms. *d Approximately 270 ms.

      OK

      Tester Connection Condition Tool Setting Specified Condition
      G60-23 (IMO) - Body ground Within 3 seconds of hybrid control system start or within 3 seconds of power switch turned on (IG) after cable disconnected and reconnected to auxiliary battery 2 V/DIV., 500 ms./DIV. Pulse generation
      (See waveform)

      Result

      Result Proceed to
      Normal waveform A
      Terminal EFII stuck low (2.4 V or less) B
      Waveform not output, or has abnormal wavelength or shape C

    Result: 

    See step  6

    Result: 

    REPLACE HYBRID VEHICLE CONTROL ECU. Refer to  REMOVAL [06/2018 - 08/2021]  , or refer to  REMOVAL [08/2021 - 09/2022]  , or refer to  REMOVAL [09/2022 - ] 

    Result: 

    See step  3

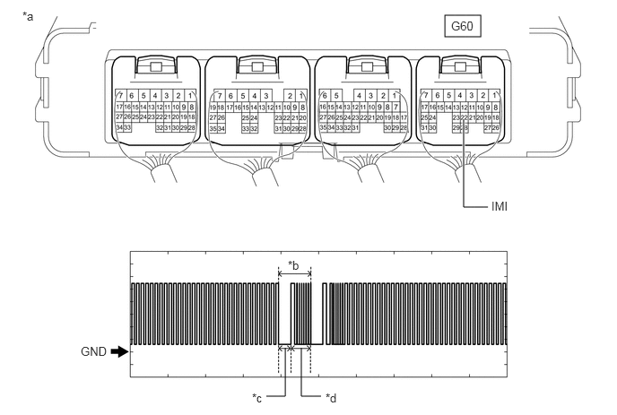
  3. CHECK HYBRID VEHICLE CONTROL ECU (TERMINAL IMI) 
    1. Using an oscilloscope, check the waveform.
      GTY792939Courtesy of © TOYOTA, LICENSE AGREEMENT TMS1002
      *a Component with harness connected
      (Hybrid Vehicle Control ECU)
      *b Waveform
      *c Approximately 160 ms. *d Approximately 270 ms.

      OK

      Tester Connection Condition Tool Setting Specified Condition
      G60-22 (IMI) - Body ground Within 3 seconds of hybrid control system start or within 3 seconds of power switch turned on (IG) after cable disconnected and reconnected to auxiliary battery 2 V/DIV., 500 ms./DIV. Pulse generation
      (See waveform)

      Result

      Proceed to
      OK
      NG

    Result: 

    NG 

    REPLACE ID CODE BOX (IMMOBILISER CODE ECU). Refer to  REMOVAL [06/2018 - 08/2021]  , or refer to  REMOVAL [08/2021 - 09/2022]  , or refer to  REMOVAL [09/2022 - ] 

    Result: 

    OK 

    See step  4

  4. REGISTER ECU COMMUNICATION ID 
    1. Register the ECU communication ID code.

      Refer to REGISTRATION [06/2018 - 10/2019] , or refer to REGISTRATION [10/2019 - 09/2022] , or refer to REGISTRATION [09/2022 - ]

      Result

      Proceed to
      NEXT

    Result: 

    NEXT 

    See step  5

  5. CHECK WHETHER HYBRID CONTROL SYSTEM STARTS 
    1. Using an electrical key transmitter sub-assembly which is registered to the vehicle, turn the power switch on (IG).
    2. Check that the hybrid control system starts 5 seconds after the power switch turned on (IG).

      OK

      Hybrid control system starts normally.

      Result

      Proceed to
      OK
      NG

    Result: 

    OK 

    END (ECU COMMUNICATION ID HAS NOT BEEN REGISTERED) 

    Result: 

    NG 

    REPLACE HYBRID VEHICLE CONTROL ECU. Refer to  REMOVAL [06/2018 - 08/2021]  , or refer to  REMOVAL [08/2021 - 09/2022]  , or refer to  REMOVAL [09/2022 - ] 

  6. CHECK HYBRID VEHICLE CONTROL ECU 
    1. Disconnect the G60 hybrid vehicle control ECU connector.
    2. Measure the voltage according to the value(s) in the table below.

      Standard Voltage

      Tester Connection Condition Specified Condition
      G60-23 (IMO) - Body ground Power switch turned on (IG) using registered electrical key transmitter sub-assembly Terminal IMO stuck low (2.4 V or less)
      Terminal IMO stuck high (12 V) or abnormal waveform

      Result

      Result Proceed to
      Terminal IMO stuck low (2.4 V or less) A
      Terminal IMO stuck high (12 V) or abnormal waveform B

    Result: 

    REPLACE HYBRID VEHICLE CONTROL ECU. Refer to  REMOVAL [06/2018 - 08/2021]  , or refer to  REMOVAL [08/2021 - 09/2022]  , or refer to  REMOVAL [09/2022 - ] 

    Result: 

    See step  7

  7. CHECK HARNESS AND CONNECTOR (ID CODE BOX (IMMOBILISER CODE ECU) - HYBRID VEHICLE CONTROL ECU) 
    1. Disconnect the G52 ID code box (immobiliser code ECU) connector.
    2. Measure the resistance according to the value(s) in the table below.

      Standard Resistance

      Tester Connection Condition Specified Condition
      G52-3 (EFII) - G60-23 (IMO) Always Below 1 Ω
      G52-3 (EFII) or G60-23 (IMO) - Other terminals and body ground Always 10 kΩ or higher

      Result

      Proceed to
      OK
      NG

    Result: 

    OK 

    REPLACE ID CODE BOX (IMMOBILISER CODE ECU). Refer to  REMOVAL [06/2018 - 08/2021]  , or refer to  REMOVAL [08/2021 - 09/2022]  , or refer to  REMOVAL [09/2022 - ] 

    Result: 

    NG 

    REPAIR OR REPLACE HARNESS OR CONNECTOR